| Номер на схеме | Каталожный номер | Название | Количество | Детали | |||
|---|---|---|---|---|---|---|---|
| ? | 400MM WIDE | SERIALNO: |
|||||
| ? | 20T-32-00161 | TRACK SHOE ASS'Y | 1 | SN: 9272- KIT-FLAG: _- SERIALNO: 9272- |
|||
| ? | □20T-32-00160 | TRACK SHOE ASS'Y | 1 | SN: 8501-9271 KIT-FLAG: _- SERIALNO: 8501-9271 |
|||
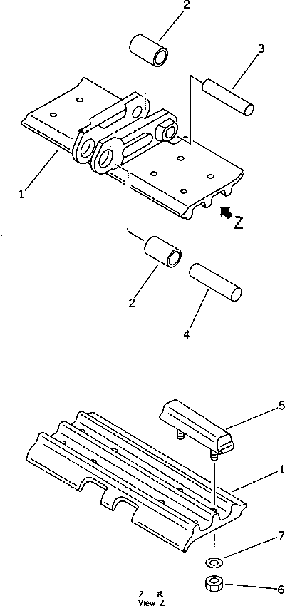
| ? | 20T-32-00171 | • SHOE ASS'Y | 74 | SN: 9272- KIT-FLAG: _- SERIALNO: 9272- |
|||
| ? | 20T-32-00170 | • SHOE ASS'Y | 74 | SN: 8501-9271 KIT-FLAG: _- SERIALNO: 8501-9271 |
|||
| ? | ☆ | • • SHOE | 1 | SN: 9272- KIT-FLAG: _- SERIALNO: 9272- |
|||
| ? | ☆ | • • SHOE | 1 | SN: 8501-9271 KIT-FLAG: _- SERIALNO: 8501-9271 |
|||
| ? | 20T-32-31160 | • • BUSHING | 1 | SN: 8501- KIT-FLAG: _- SERIALNO: 8501- |
|||
| ? | 20T-32-31150 | • PIN,REGULAR | 72 | SN: 8501- KIT-FLAG: _- SERIALNO: 8501- |
|||
| ? | 20T-32-31190 | • PIN,MASTER | 2 | SN: 8501- KIT-FLAG: _- SERIALNO: 8501- |
|||
| ? | 20T-32-00180 | • PAD ASS'Y | 1 | SN: 8501- KIT-FLAG: _- SERIALNO: 8501- |
|||
| ? | 20T-32-21220 | • • CUSHION | 296 | SN: 8501- KIT-FLAG: _- SERIALNO: 8501- |
|||
| ? | 01580-11210 | • • NUT | 592 | SN: 8501- KIT-FLAG: _- SERIALNO: 8501- |
|||
| ? | 01643-31232 | • • WASHER | 592 | SN: 8501- KIT-FLAG: _- SERIALNO: 8501- |
