k-part
Номер на схеме Каталожный номер Название Количество Детали
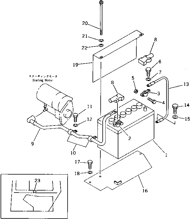
? (☉20T-06-X1000) BATTERY GROUP 1
SN: 8501-9542
KIT-FLAG: _-
SERIALNO: 8501-9542
? ====================
SERIALNO:
? 20T-06-21130 BATTERY, 12V 110AH 1
SN: 8501-@
KIT-FLAG: _-
SERIALNO: 8501-@
? 08000-00000 TERMINAL, (+) 1
SN: 8501-@
KIT-FLAG: _-
SERIALNO: 8501-@
? 08000-00001 TERMINAL, (-) 1
SN: 8501-@
KIT-FLAG: _-
SERIALNO: 8501-@
? 01010-30830 • BOLT 1
SN: 8501-@
KIT-FLAG: _-
SERIALNO: 8501-@
? 01580-00806 • NUT 1
SN: 8501-@
KIT-FLAG: _-
SERIALNO: 8501-@
? 01050-31018 • BOLT 1
SN: 8501-@
KIT-FLAG: _-
SERIALNO: 8501-@
? 01640-01016 • WASHER 1
SN: 8501-@
KIT-FLAG: _-
SERIALNO: 8501-@
? 08038-22009 CAP 2
SN: 8501-@
KIT-FLAG: _-
SERIALNO: 8501-@
? 20T-06-31190 WIRE ASS'Y 1
SN: 8501-@
KIT-FLAG: _-
SERIALNO: 8501-@
? 08036-02514 CLIP 2
SN: 8501-@
KIT-FLAG: _-
SERIALNO: 8501-@
? 01010-51016 BOLT 2
SN: 8501-@
KIT-FLAG: _-
SERIALNO: 8501-@
? 01602-21030 WASHER,SPRING 2
SN: 8501-@
KIT-FLAG: _-
SERIALNO: 8501-@
? 20R-06-11240 WIRE 1
SN: 8501-@
KIT-FLAG: _-
SERIALNO: 8501-@
? 01010-51016 BOLT 1
SN: 8501-@
KIT-FLAG: _-
SERIALNO: 8501-@
? 01602-21030 WASHER,SPRING 1
SN: 8501-@
KIT-FLAG: _-
SERIALNO: 8501-@
? 20T-06-31430 BRACKET 1
SN: 8501-9542
KIT-FLAG: _-
SERIALNO: 8501-9542
? 01010-50816 BOLT 1
SN: 8501-9542
KIT-FLAG: _-
SERIALNO: 8501-9542
? 01602-20825 WASHER,SPRING 1
SN: 8501-9542
KIT-FLAG: _-
SERIALNO: 8501-9542
? 20T-06-32110 HOLDER 1
SN: 8501-9542
KIT-FLAG: _-
SERIALNO: 8501-9542
? 20S-06-11220 ROD 2
SN: 8501-9542
KIT-FLAG: _-
SERIALNO: 8501-9542
? 01602-20825 WASHER,SPRING 2
SN: 8501-9542
KIT-FLAG: _-
SERIALNO: 8501-9542
? 01641-20812 WASHER 2
SN: 8501-@
KIT-FLAG: _-
SERIALNO: 8501-@
? 6130-81-9910 PLATE, CAUTION,CAUTION 1
SN: 8501-@
KIT-FLAG: _-
SERIALNO: 8501-@
? ====================
SERIALNO:

Excavators Komatsu / PC40-5 S/N 8501-UP(pc40-5c) / BATTERY (FOR COLD WEATHER) (FOR CANOPY)(#8501-9542)(030150 : 1403)