| Номер на схеме | Каталожный номер | Название | Количество | Детали | |||
|---|---|---|---|---|---|---|---|
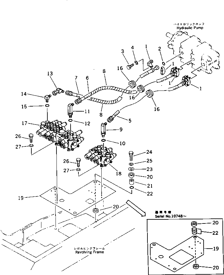
| ? | (07371-30400) | FLANGE | 6 | SN: 10001- |
|||
| ? | (07000-12021) | O-RING | 3 | SN: 10001- |
|||
| ? | (01010-50830) | BOLT | 12 | SN: 10001- |
|||
| ? | (01602-20825) | WASHER,SPRING | 12 | SN: 10001- |
|||
| ? | (20T-62-66490) | HOSE | 1 | SN: 11574- |
|||
| ? | □20T-62-66220 | HOSE | 1 | SN: 10001-11573 |
|||
| ? | (20T-62-66480) | HOSE | 1 | SN: 11574- |
|||
| ? | □20T-62-66210 | HOSE | 1 | SN: 10001-11573 |
|||
| ? | (20T-62-66470) | HOSE | 1 | SN: 11574- |
|||
| ? | □20T-62-66190 | HOSE | 1 | SN: 10001-11573 |
|||
| ? | (203-62-32440) | COVER | 2 | SN: 10001- |
|||
| ? | (20R-62-21520) | ELBOW | 1 | SN: 10001- |
|||
| ? | (07002-12034) | O-RING | 1 | SN: 10001- |
|||
| ? | (20R-62-21510) | ELBOW | 1 | SN: 10001- |
|||
| ? | (07002-12034) | O-RING | 1 | SN: 10001- |
|||
| ? | (20T-62-61230) | TUBE | 1 | SN: 10001- |
|||
| ? | (07235-10422) | ELBOW | 1 | SN: 10001- |
|||
| ? | (07002-12034) | O-RING | 1 | SN: 10001- |
|||
| ? | 08037-03614 | GROMMET | 3 | SN: 10001- |
|||
| ? | 709-36-12703 | VALVE ASS'Y,(SEE FIG.6201) | 1 | SN: 10001- |
|||
| ? | (☒709-36-12702) | VALVE ASS'Y,(SEE FIG.6201) | 1 | SN: (10834-11695) |
|||
| ? | (☒709-36-12701) | VALVE ASS'Y,(SEE FIG.6201) | 1 | SN: (10001-10833) |
|||
| ? | (☉20T-970-X150) | HYDRAULIC UNIT GROUP,(FOR ATTACHMENT) | 1 | SN: 10001- |
|||
| ? | ==================== | ||||||
| ? | (709-33-11902) | VALVE ASS'Y,(SEE FIG.6211) | 1 | SN: 11899- |
|||
| ? | 709-33-11901 | VALVE ASS'Y,(SEE FIG.6211) | 1 | SN: 10001-11898 |
|||
| ? | (☒709-33-11900) | VALVE ASS'Y,(SEE FIG.6211) | 1 | SN: (10001-11695) |
|||
| ? | (20S-60-35131) | BRACKET | 1 | SN: 10748- |
|||
| ? | ▩20S-60-35130 | BRACKET | 1 | SN: 10001-10747 |
|||
| ? | (20S-60-35131{203-62-5836(6) ?} | ||||||
| ? | 07000-03025(9)) | ||||||
| ? | ==================== | ||||||
| ? | (203-62-58360) | CUSHION | 6 | SN: 10748- |
|||
| ? | □203-62-42770 | CUSHION | 6 | SN: 10001-10747 |
|||
| ? | (20X-62-21550) | SPACER | 3 | SN: 10001- |
|||
| ? | (07000-03025) | O-RING | 9 | SN: 10748- |
|||
| ? | (07000-03025) | O-RING | 3 | SN: 10001-10747 |
|||
| ? | (566-35-42430) | PLATE | 3 | SN: 10001- |
|||
| ? | (01010-51250) | BOLT | 3 | SN: 10001- |
|||
| ? | (01643-31232) | WASHER | 3 | SN: 10001- |
|||
| ? | (01010-50825) | BOLT | 6 | SN: 10001- |
|||
| ? | (01602-20825) | WASHER,SPRING | 6 | SN: 10001- |
