k-part
Номер на схеме Каталожный номер Название Количество Детали
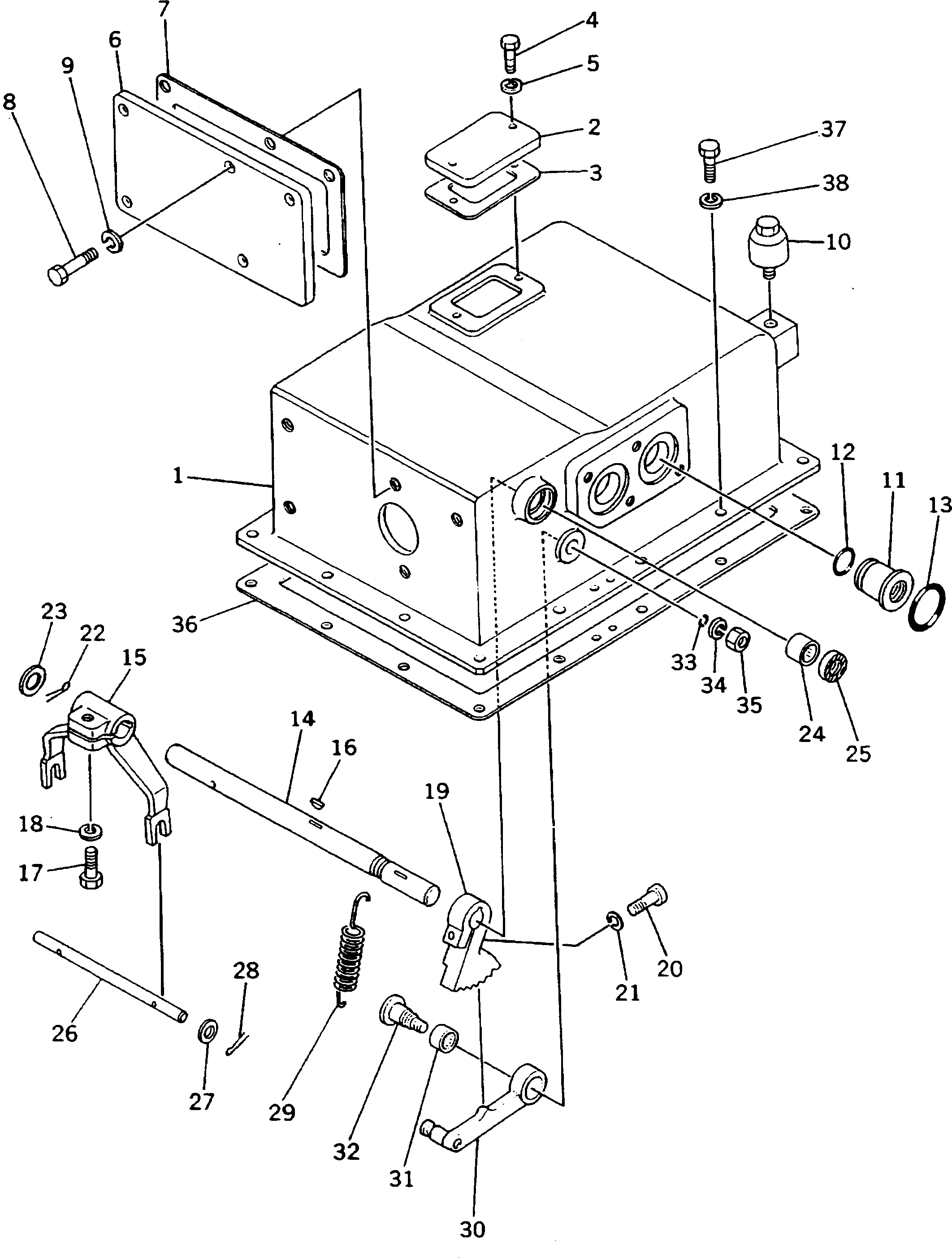
? (567-15-00090) TORQFLOW ASS'Y 1
SN: 1819-
KIT-FLAG: _-
SERIALNO: 1819-
? THESE ASSEMBLIES CONSIST OF ALL PARTS SHOWN IN FIGS.2501 TO 2531.
SERIALNO:
? 281-15-15494 • COVER 1
SN: 1819-
KIT-FLAG: _-
SERIALNO: 1819-
? 281-15-15553 • PLATE 1
SN: 1819-
KIT-FLAG: _-
SERIALNO: 1819-
? 281-15-15562 • GASKET (K29) 1
SN: (5012)-
KIT-FLAG: _-
SERIALNO: (5012)-
? □281-15-15561 • GASKET (K29) 1
SN: 1819-(5011)
KIT-FLAG: _-
SERIALNO: 1819-(5011)
? 01010-50820 • BOLT 2
SN: 1819-
KIT-FLAG: _-
SERIALNO: 1819-
? 01602-20825 • WASHER,SPRING 2
SN: 1819-
KIT-FLAG: _-
SERIALNO: 1819-
? 281-15-15730 • COVER 1
SN: 1819-
KIT-FLAG: _-
SERIALNO: 1819-
? 281-15-15741 • GASKET (K29) 1
SN: (5012)-
KIT-FLAG: _-
SERIALNO: (5012)-
? □281-15-15740 • GASKET (K29) 1
SN: 1819-(5011)
KIT-FLAG: _-
SERIALNO: 1819-(5011)
? 01010-51020 • BOLT 5
SN: 1819-
KIT-FLAG: _-
SERIALNO: 1819-
? 01602-21030 • WASHER,SPRING 5
SN: 1819-
KIT-FLAG: _-
SERIALNO: 1819-
? 07030-00252 • BREATHER 1
SN: 1819-
KIT-FLAG: _-
SERIALNO: 1819-
? 566-15-15761 • SLEEVE 2
SN: 1819-
KIT-FLAG: _-
SERIALNO: 1819-
? 07000-73025 • O-RING (K29) 2
SN: 1819-
KIT-FLAG: _-
SERIALNO: 1819-
? 07000-73045 • O-RING (K29) 2
SN: 1819-
KIT-FLAG: _-
SERIALNO: 1819-
? 567-15-15710 • SHAFT 1
SN: 1819-
KIT-FLAG: _-
SERIALNO: 1819-
? 281-15-15571 • LEVER 1
SN: 1819-
KIT-FLAG: _-
SERIALNO: 1819-
? 04010-00516 • KEY 2
SN: 1819-
KIT-FLAG: _-
SERIALNO: 1819-
? 01010-51030 • BOLT 1
SN: 1819-
KIT-FLAG: _-
SERIALNO: 1819-
? 01602-21030 • WASHER,SPRING 1
SN: 1819-
KIT-FLAG: _-
SERIALNO: 1819-
? 281-15-15621 • LEVER 1
SN: 1819-
KIT-FLAG: _-
SERIALNO: 1819-
? 01010-50835 • BOLT 1
SN: 1819-
KIT-FLAG: _-
SERIALNO: 1819-
? 01602-20825 • WASHER,SPRING 1
SN: 1819-
KIT-FLAG: _-
SERIALNO: 1819-
? 04050-24028 • PIN,COTTER 1
SN: 1819-
KIT-FLAG: _-
SERIALNO: 1819-
? 01643-21845 • WASHER 1
SN: 1819-
KIT-FLAG: _-
SERIALNO: 1819-
? 06120-01816 • BEARING 2
SN: 1819-
KIT-FLAG: _-
SERIALNO: 1819-
? 566-15-15850 • SEAL,OIL (K29) 2
SN: 1819-
KIT-FLAG: _-
SERIALNO: 1819-
? 281-15-15582 • ROD 1
SN: 1819-
KIT-FLAG: _-
SERIALNO: 1819-
? 01641-21016 • WASHER 2
SN: 1819-
KIT-FLAG: _-
SERIALNO: 1819-
? 04050-13015 • PIN,COTTER (K29) 2
SN: 1819-
KIT-FLAG: _-
SERIALNO: 1819-
? 281-15-15650 • SPRING 1
SN: 1819-
KIT-FLAG: _-
SERIALNO: 1819-
? 281-15-15631 • LEVER 1
SN: 1819-
KIT-FLAG: _-
SERIALNO: 1819-
? 06120-01612 • BEARING 1
SN: 1819-
KIT-FLAG: _-
SERIALNO: 1819-
? 281-15-15640 • SHAFT 1
SN: 1819-
KIT-FLAG: _-
SERIALNO: 1819-
? 07000-71009 • O-RING (K29) 1
SN: 1819-
KIT-FLAG: _-
SERIALNO: 1819-
? 01602-21030 • WASHER,SPRING 1
SN: 1819-
KIT-FLAG: _-
SERIALNO: 1819-
? 01580-11008 • NUT 1
SN: 1819-
KIT-FLAG: _-
SERIALNO: 1819-
? 281-15-15524 • GASKET (K29) 1
SN: (5012)-
KIT-FLAG: _-
SERIALNO: (5012)-
? □281-15-15522 • GASKET (K29) 1
SN: 1819-(5011)
KIT-FLAG: _-
SERIALNO: 1819-(5011)
? 01010-51030 • BOLT 14
SN: 1819-
KIT-FLAG: _-
SERIALNO: 1819-
? 01602-21030 • WASHER,SPRING 14
SN: 1819-
KIT-FLAG: _-
SERIALNO: 1819-

Dump Trucks Komatsu / HD205-3 S/N 1003-UP(hd205-3c) / TRANSMISSION CONTROL VALVE (2/2) (FOR HEAVY DUTY)(#1819-)(060210 : 2522)