k-part
Номер на схеме Каталожный номер Название Количество Детали
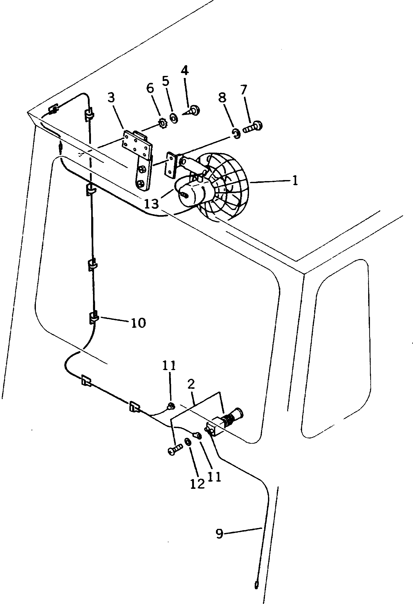
? 575-06-15152 FAN 1
SN: 1003-
KIT-FLAG: _-
SERIALNO: 1003-
? 575-06-15171 SWITCH,FAN 1
SN: 1003-
KIT-FLAG: _-
SERIALNO: 1003-
? 567-95-19110 BRACKET 1
SN: 1003-
KIT-FLAG: _-
SERIALNO: 1003-
? 01370-00416 SCREW 6
SN: 1003-
KIT-FLAG: _-
SERIALNO: 1003-
? 01642-20405 WASHER 6
SN: 1003-
KIT-FLAG: _-
SERIALNO: 1003-
? 01611-04045 WASHER 6
SN: 1003-
KIT-FLAG: _-
SERIALNO: 1003-
? 01220-40416 SCREW 2
SN: 1003-
KIT-FLAG: _-
SERIALNO: 1003-
? 01601-20410 WASHER,SPRING 2
SN: 1003-
KIT-FLAG: _-
SERIALNO: 1003-
? 566-06-13960 CABLE 1
SN: 1003-
KIT-FLAG: _-
SERIALNO: 1003-
? 475-06-27650 CLIP 7
SN: 1003-
KIT-FLAG: _-
SERIALNO: 1003-
? 08031-10105 TERMINAL 2
SN: 1003-
KIT-FLAG: _-
SERIALNO: 1003-
? 01640-21016 WASHER 2
SN: 1003-
KIT-FLAG: _-
SERIALNO: 1003-
? 566-95-51120 CABLE,EARTH 1
SN: 1003-
KIT-FLAG: _-
SERIALNO: 1003-

Dump Trucks Komatsu / HD205-3 S/N 1003-UP(hd205-3c) / FAN(150430 : 5831)