k-part
Номер на схеме Каталожный номер Название Количество Детали
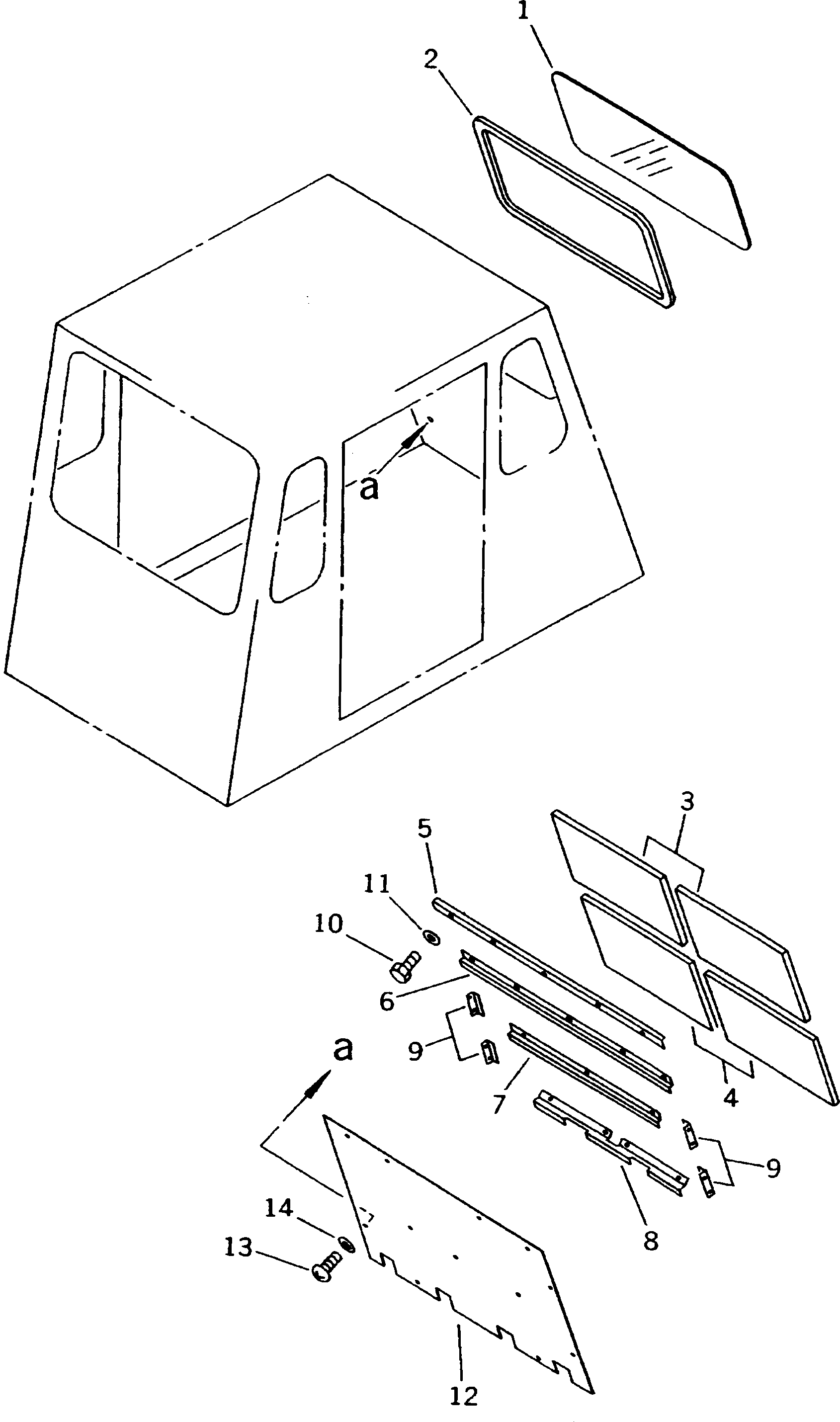
? (567-54-43000) CAB ASS'Y,(WITH ROOF DAMPER) 1
SN: 1821-
KIT-FLAG: _-
SERIALNO: 1821-
? (566-54-63000) CAB ASS'Y,(WITH ROOF DAMPER) 1
SN: 1003-1820
KIT-FLAG: _-
SERIALNO: 1003-1820
? (566-54-69000) CAB ASS'Y,(WITHOUT ROOF DAMPER) 1
SN: 1003-1820
KIT-FLAG: _-
SERIALNO: 1003-1820
? THESE ASSEMBLIES CONSIST OF ALL PARTS SHOWN IN FIGS.5301 TO 5308.
SERIALNO:
? 566-54-43130 • GLASS,REAR 1
SN: 1003-1820
KIT-FLAG: _-
SERIALNO: 1003-1820
? 566-54-43750 • STRIP,WEATHER 1
SN: 1003-
KIT-FLAG: _-
SERIALNO: 1003-
? 567-54-43350 • PAD 2
SN: 1821-
KIT-FLAG: _-
SERIALNO: 1821-
? 566-54-46150 • INSULATOR 2
SN: 1003-
KIT-FLAG: _-
SERIALNO: 1003-
? 567-54-43360 • PAD 2
SN: 1821-
KIT-FLAG: _-
SERIALNO: 1821-
? 566-54-46160 • INSULATOR 2
SN: 1003-1820
KIT-FLAG: _-
SERIALNO: 1003-1820
? 566-54-46280 • PLATE,CORNER, PUNCHING METAL 1
SN: 1003-1820
KIT-FLAG: _-
SERIALNO: 1003-1820
? 566-54-46260 • PLATE,CORNER, PUNCHING METAL 1
SN: 1003-1820
KIT-FLAG: _-
SERIALNO: 1003-1820
? 566-54-46250 • PLATE,CORNER, PUNCHING METAL 1
SN: 1003-1820
KIT-FLAG: _-
SERIALNO: 1003-1820
? 566-54-46240 • PLATE,CORNER, PUNCHING METAL 1
SN: 1003-1820
KIT-FLAG: _-
SERIALNO: 1003-1820
? 566-54-46270 • PLATE,CORNER, PUNCHING METAL 4
SN: 1003-1820
KIT-FLAG: _-
SERIALNO: 1003-1820
? 01010-50612 • BOLT 25
SN: 1003-1820
KIT-FLAG: _-
SERIALNO: 1003-1820
? 01643-30608 • WASHER 25
SN: 1003-1820
KIT-FLAG: _-
SERIALNO: 1003-1820
? 566-54-43231 • PLATE,PUNCHING METAL 1
SN: 1003-1820
KIT-FLAG: _-
SERIALNO: 1003-1820
? 566-54-43490 • SCREW 13
SN: 1003-1820
KIT-FLAG: _-
SERIALNO: 1003-1820
? 566-54-43510 • WASHER 13
SN: 1003-1820
KIT-FLAG: _-
SERIALNO: 1003-1820

Dump Trucks Komatsu / HD205-3 S/N 1003-UP(hd205-3c) / OPERATOR