k-part
Номер на схеме Каталожный номер Название Количество Детали
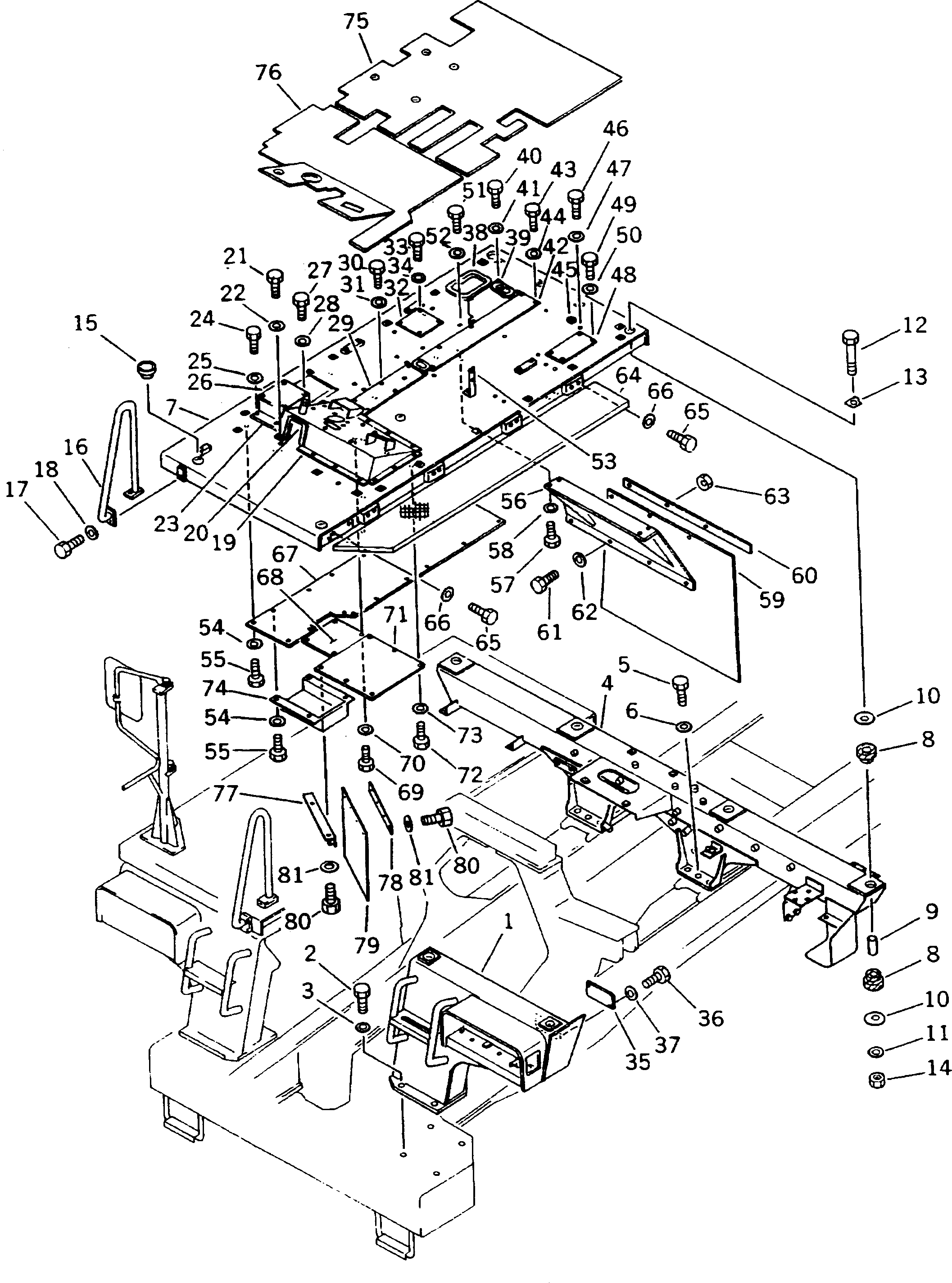
? 567-54-41412 SUPPORT,L.H. 1
SN: 1003-
KIT-FLAG: _-
SERIALNO: 1003-
? 01010-52060 BOLT 4
SN: 1003-
KIT-FLAG: _-
SERIALNO: 1003-
? 01643-32060 WASHER 4
SN: 1003-
KIT-FLAG: _-
SERIALNO: 1003-
? 567-54-51450 SUPPORT,REAR 1
SN: 1003-
KIT-FLAG: _-
SERIALNO: 1003-
? 01010-52455 BOLT 12
SN: 1003-
KIT-FLAG: _-
SERIALNO: 1003-
? 01643-32460 WASHER 12
SN: 1003-
KIT-FLAG: _-
SERIALNO: 1003-
? 567-54-41312 PLATFORM,L.H. 1
SN: 1003-
KIT-FLAG: _-
SERIALNO: 1003-
? 566-54-41271 CUSHION 8
SN: 1003-
KIT-FLAG: _-
SERIALNO: 1003-
? 566-54-21910 BUSHING 4
SN: 1003-
KIT-FLAG: _-
SERIALNO: 1003-
? 566-54-21920 PLATE 8
SN: 1003-
KIT-FLAG: _-
SERIALNO: 1003-
? 01643-32060 WASHER 4
SN: 1003-
KIT-FLAG: _-
SERIALNO: 1003-
? 01011-82020 BOLT 4
SN: 1003-
KIT-FLAG: _-
SERIALNO: 1003-
? 566-54-21930 PLATE 4
SN: 1003-
KIT-FLAG: _-
SERIALNO: 1003-
? 01580-12016 NUT 4
SN: 1003-
KIT-FLAG: _-
SERIALNO: 1003-
? 09414-01053 CAP 2
SN: 1003-
KIT-FLAG: _-
SERIALNO: 1003-
? 567-54-41350 GUARD 1
SN: 1003-
KIT-FLAG: _-
SERIALNO: 1003-
? 01010-51225 BOLT 2
SN: 1003-
KIT-FLAG: _-
SERIALNO: 1003-
? 01643-31232 WASHER 2
SN: 1003-
KIT-FLAG: _-
SERIALNO: 1003-
? 567-54-41330 BOARD 1
SN: 1003-
KIT-FLAG: _-
SERIALNO: 1003-
? 566-54-12790 CUSHION 1
SN: 1003-
KIT-FLAG: _-
SERIALNO: 1003-
? 01010-51025 BOLT 14
SN: 1003-
KIT-FLAG: _-
SERIALNO: 1003-
? 01643-31032 WASHER 14
SN: 1003-
KIT-FLAG: _-
SERIALNO: 1003-
? 566-07-41550 COVER 1
SN: 1003-
KIT-FLAG: _-
SERIALNO: 1003-
? 01010-50820 BOLT 2
SN: 1003-
KIT-FLAG: _-
SERIALNO: 1003-
? 01643-30823 WASHER 2
SN: 1003-
KIT-FLAG: _-
SERIALNO: 1003-
? 566-07-45181 COVER 1
SN: 1003-
KIT-FLAG: _-
SERIALNO: 1003-
? 01010-50820 BOLT 4
SN: 1003-
KIT-FLAG: _-
SERIALNO: 1003-
? 01643-30823 WASHER 4
SN: 1003-
KIT-FLAG: _-
SERIALNO: 1003-
? 566-54-41710 COVER 1
SN: 1003-
KIT-FLAG: _-
SERIALNO: 1003-
? 01010-51020 BOLT 6
SN: 1003-
KIT-FLAG: _-
SERIALNO: 1003-
? 01643-31032 WASHER 6
SN: 1003-
KIT-FLAG: _-
SERIALNO: 1003-
? 566-07-45170 COVER 1
SN: 1003-
KIT-FLAG: _-
SERIALNO: 1003-
? 01010-50820 BOLT 6
SN: 1003-
KIT-FLAG: _-
SERIALNO: 1003-
? 01643-30823 WASHER 6
SN: 1003-
KIT-FLAG: _-
SERIALNO: 1003-
? 566-54-41571 COVER 1
SN: 1003-
KIT-FLAG: _-
SERIALNO: 1003-
? 01010-51020 BOLT 2
SN: 1003-
KIT-FLAG: _-
SERIALNO: 1003-
? 01643-31032 WASHER 2
SN: 1003-
KIT-FLAG: _-
SERIALNO: 1003-
? 566-54-12790 CUSHION 4
SN: 1003-
KIT-FLAG: _-
SERIALNO: 1003-
? 566-54-41730 COVER 1
SN: 1003-
KIT-FLAG: _-
SERIALNO: 1003-
? 01010-51020 BOLT 4
SN: 1003-
KIT-FLAG: _-
SERIALNO: 1003-
? 01643-31032 WASHER 4
SN: 1003-
KIT-FLAG: _-
SERIALNO: 1003-
? 566-54-41720 COVER 1
SN: 1003-
KIT-FLAG: _-
SERIALNO: 1003-
? 01010-51020 BOLT 7
SN: 1003-
KIT-FLAG: _-
SERIALNO: 1003-
? 01643-31032 WASHER 7
SN: 1003-
KIT-FLAG: _-
SERIALNO: 1003-
? 08037-01610 GROMMET 1
SN: 1003-
KIT-FLAG: _-
SERIALNO: 1003-
? 01010-51020 BOLT 4
SN: 1003-
KIT-FLAG: _-
SERIALNO: 1003-
? 01643-31032 WASHER 4
SN: 1003-
KIT-FLAG: _-
SERIALNO: 1003-
? 566-07-45160 COVER 1
SN: 1003-
KIT-FLAG: _-
SERIALNO: 1003-
? 01010-50820 BOLT 4
SN: 1003-
KIT-FLAG: _-
SERIALNO: 1003-
? 01643-30823 WASHER 4
SN: 1003-
KIT-FLAG: _-
SERIALNO: 1003-
? 01010-51025 BOLT 4
SN: 1003-
KIT-FLAG: _-
SERIALNO: 1003-
? 01643-31032 WASHER 4
SN: 1003-
KIT-FLAG: _-
SERIALNO: 1003-
? 566-07-44110 BRACKET 1
SN: 1003-
KIT-FLAG: _-
SERIALNO: 1003-
? 01010-51025 BOLT 17
SN: 1003-
KIT-FLAG: _-
SERIALNO: 1003-
? 01643-31032 WASHER 17
SN: 1003-
KIT-FLAG: _-
SERIALNO: 1003-
? 567-54-41710 FENDER,L.H. 1
SN: 1003-
KIT-FLAG: _-
SERIALNO: 1003-
? 01010-51225 BOLT 4
SN: 1003-
KIT-FLAG: _-
SERIALNO: 1003-
? 01643-31232 WASHER 4
SN: 1003-
KIT-FLAG: _-
SERIALNO: 1003-
? 566-54-41532 GUARD 1
SN: 1003-
KIT-FLAG: _-
SERIALNO: 1003-
? 566-54-41542 PLATE 1
SN: 1003-
KIT-FLAG: _-
SERIALNO: 1003-
? 01010-51230 BOLT 4
SN: 1003-
KIT-FLAG: _-
SERIALNO: 1003-
? 01643-31232 WASHER 4
SN: 1003-
KIT-FLAG: _-
SERIALNO: 1003-
? 01580-11210 NUT 4
SN: 1003-
KIT-FLAG: _-
SERIALNO: 1003-
? 566-54-11573 CATWALK 1
SN: 1003-
KIT-FLAG: _-
SERIALNO: 1003-
? 01010-51230 BOLT 10
SN: 1003-
KIT-FLAG: _-
SERIALNO: 1003-
? 01643-31232 WASHER 10
SN: 1003-
KIT-FLAG: _-
SERIALNO: 1003-
? 567-54-41550 COVER 1
SN: 1003-
KIT-FLAG: _-
SERIALNO: 1003-
? 566-54-41382 COVER 1
SN: 1003-
KIT-FLAG: _-
SERIALNO: 1003-
? 01010-51020 BOLT 3
SN: 1003-
KIT-FLAG: _-
SERIALNO: 1003-
? 01643-31032 WASHER 3
SN: 1003-
KIT-FLAG: _-
SERIALNO: 1003-
? 567-54-41530 COVER 1
SN: 1003-
KIT-FLAG: _-
SERIALNO: 1003-
? 01010-51020 BOLT 5
SN: 1003-
KIT-FLAG: _-
SERIALNO: 1003-
? 01643-31032 WASHER 5
SN: 1003-
KIT-FLAG: _-
SERIALNO: 1003-
? 566-54-41373 COVER 1
SN: 1003-
KIT-FLAG: _-
SERIALNO: 1003-
? 567-54-41390 MAT 1
SN: 1003-
KIT-FLAG: _-
SERIALNO: 1003-
? 567-54-41380 MAT 1
SN: 1003-
KIT-FLAG: _-
SERIALNO: 1003-
? 567-54-41740 BRACKET 1
SN: 1003-
KIT-FLAG: _-
SERIALNO: 1003-
? 569-95-46630 PLATE 1
SN: 1003-
KIT-FLAG: _-
SERIALNO: 1003-
? 567-54-41730 GUARD 1
SN: 1003-
KIT-FLAG: _-
SERIALNO: 1003-
? 01010-51025 BOLT 6
SN: 1003-
KIT-FLAG: _-
SERIALNO: 1003-
? 01643-31032 WASHER 6
SN: 1003-
KIT-FLAG: _-
SERIALNO: 1003-

Dump Trucks Komatsu / HD205-3 S/N 1003-UP(hd205-3c) / GUARD (2/4) (L.H. SUPPORT AND REAR SUPPORT) (FOR CHINA)(150160 : 5212)