k-part
Номер на схеме Каталожный номер Название Количество Детали
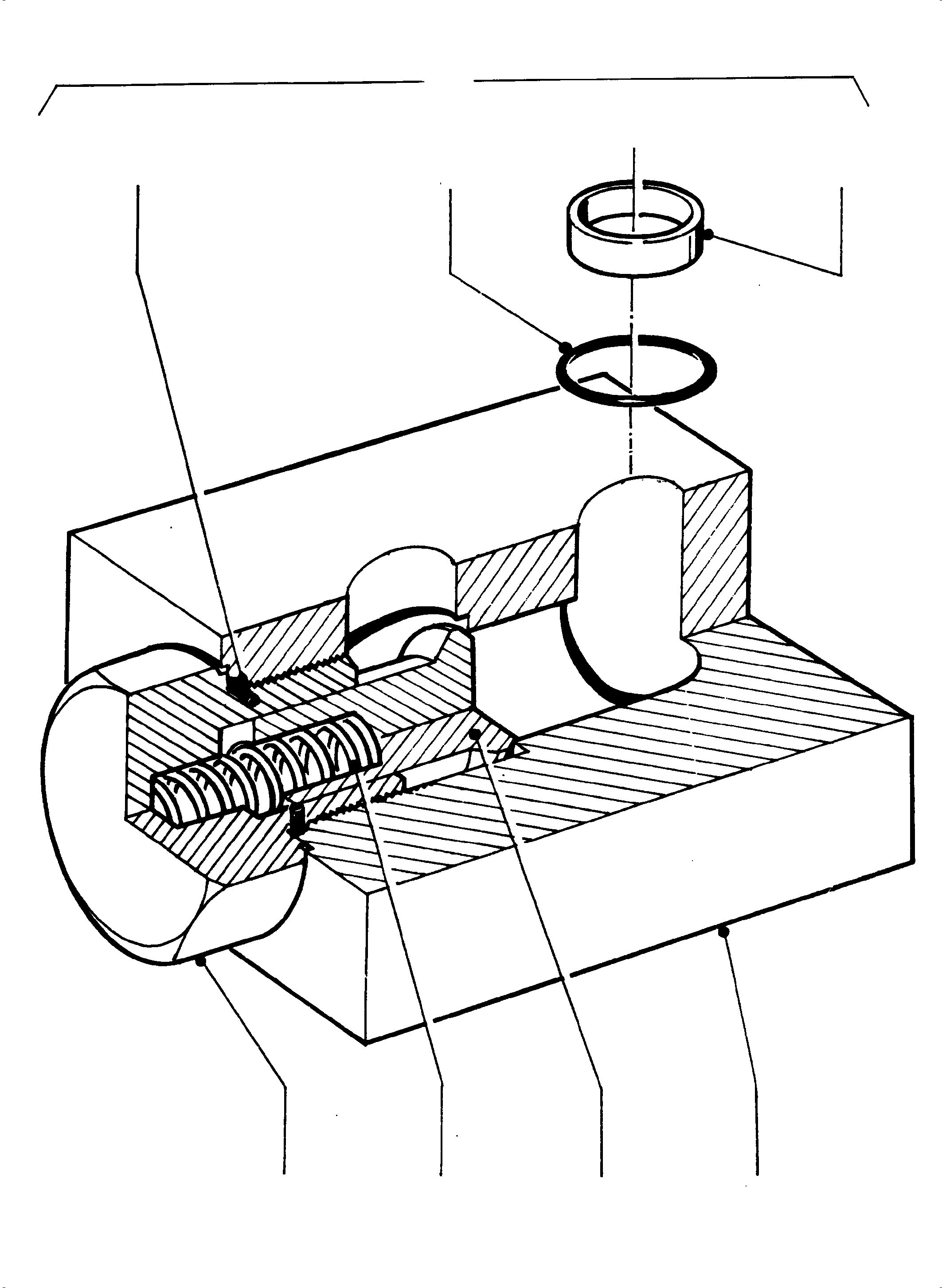
? 256 164 40 Anticavitation valve assy. NG 20 1
EnglischBem:
DeutschBem:
DeutschDesc: Nachsaugventil kpl. NG 20
InternBDB:
InternKon:
SerienBem:
Zwhead_Deu:
Zwhead_Eng:
? 501 245 98 O-ring 1
EnglischBem:
DeutschBem:
DeutschDesc: O-Ring
InternBDB:
InternKon:
SerienBem:
Zwhead_Deu:
Zwhead_Eng:
? 367 124 99 O-ring 2
EnglischBem:
DeutschBem:
DeutschDesc: O-Ring
InternBDB:
InternKon:
SerienBem:
Zwhead_Deu:
Zwhead_Eng:
? 690 996 Support ring 2
EnglischBem:
DeutschBem:
DeutschDesc: Stьtzring
InternBDB:
InternKon:
SerienBem:
Zwhead_Deu:
Zwhead_Eng:
? Housing 1
EnglischBem:
DeutschBem:
DeutschDesc: Gehдuse
InternBDB:
InternKon:
SerienBem:
Zwhead_Deu:
Zwhead_Eng:
? Valve cone 1
EnglischBem:
DeutschBem:
DeutschDesc: Ventilkegel
InternBDB:
InternKon:
SerienBem:
Zwhead_Deu:
Zwhead_Eng:
? 994 889 Compression spring 1
EnglischBem:
DeutschBem:
DeutschDesc: Druckfeder
InternBDB:
InternKon:
SerienBem:
Zwhead_Deu:
Zwhead_Eng:
? 994 890 Plug 1
EnglischBem:
DeutschBem:
DeutschDesc: VerschluЯschraube
InternBDB:
InternKon:
SerienBem:
Zwhead_Deu:
Zwhead_Eng:
? 994 841 Seal kit fig-nos: 02-04 1
EnglischBem:
DeutschBem:
DeutschDesc: Dichtsatz Bild-Nr. 02-04
InternBDB:
InternKon:
SerienBem:
Zwhead_Deu:
Zwhead_Eng:

Excavators Mining Komatsu / PC3000-6 S/N 46198(G46198) / Anticavitation Valve(090-0226 : 090-0226)
?
?
?
?
?
?
?
?