| Номер на схеме | Каталожный номер | Название | Количество | Детали | |||
|---|---|---|---|---|---|---|---|
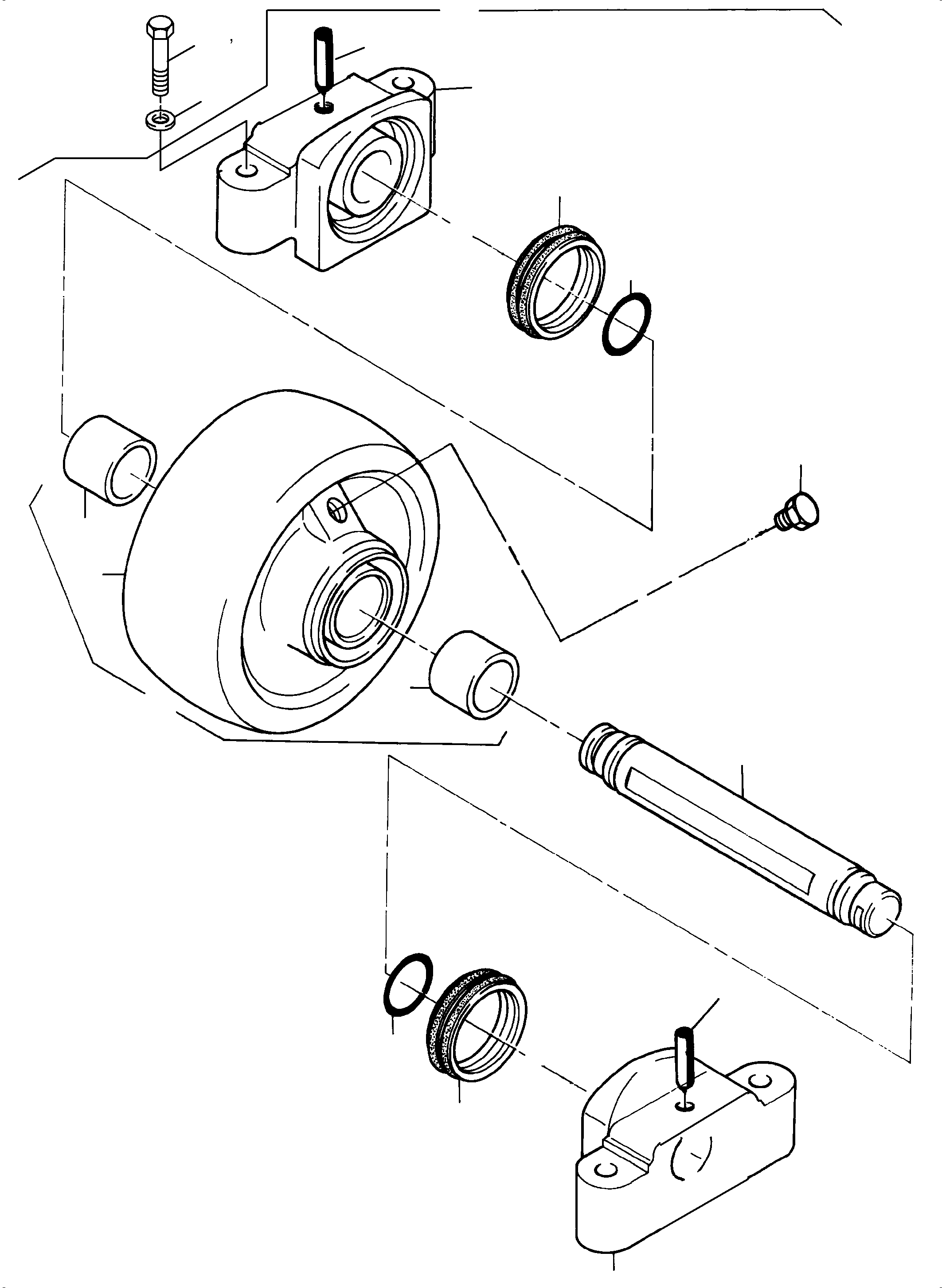
| ? | 944 288 40 | Top roller, assy., new design, pos. 01-08 | 1 | EnglischBem: DeutschBem: DeutschDesc: Tragrolle, kpl., neues Design, Pos. 01-08 InternBDB: InternKon: SerienBem: Zwhead_Deu: Zwhead_Eng: |
|||
| ? | 944 287 40 | Top roller body with bush | 1 | EnglischBem: DeutschBem: DeutschDesc: Tragrollenkцrper mit Buchse InternBDB: InternKon: SerienBem: Zwhead_Deu: Zwhead_Eng: |
|||
| ? | 944 283 40 | Roller bearing 176X320 | 2 | EnglischBem: DeutschBem: DeutschDesc: Rollenlager 176X320 InternBDB: InternKon: SerienBem: Zwhead_Deu: Zwhead_Eng: |
|||
| ? | 944 285 40 | Axle | 1 | EnglischBem: DeutschBem: DeutschDesc: Achse InternBDB: InternKon: SerienBem: Zwhead_Deu: Zwhead_Eng: |
|||
| ? | 324 067 40 | Lifetime seal | 2 | EnglischBem: DeutschBem: DeutschDesc: Gleitringdichtung InternBDB: InternKon: SerienBem: Zwhead_Deu: Zwhead_Eng: |
|||
| ? | 502 180 99 | O-ring | 2 | EnglischBem: DeutschBem: DeutschDesc: O-Ring InternBDB: InternKon: SerienBem: Zwhead_Deu: Zwhead_Eng: |
|||
| ? | 345 968 99 | Split sleeve | 2 | EnglischBem: DeutschBem: DeutschDesc: Spannhuelse InternBDB: InternKon: SerienBem: Zwhead_Deu: Zwhead_Eng: |
|||
| ? | 313 484 99 | Plug | 1 | EnglischBem: DeutschBem: DeutschDesc: VerschluЯschraube InternBDB: InternKon: SerienBem: Zwhead_Deu: Zwhead_Eng: |
|||
| ? | 944 284 40 | Top roller body | 1 | EnglischBem: DeutschBem: DeutschDesc: Tragrollenkцrper InternBDB: InternKon: SerienBem: Zwhead_Deu: Zwhead_Eng: |
|||
| ? | 944 286 40 | Freeze-in bush | 2 | EnglischBem: DeutschBem: DeutschDesc: Frierbuchse InternBDB: InternKon: SerienBem: Zwhead_Deu: Zwhead_Eng: |
|||
| ? | 502 213 98 | Bolt | 4 | EnglischBem: DeutschBem: DeutschDesc: Schraube InternBDB: InternKon: SerienBem: Zwhead_Deu: Zwhead_Eng: |
|||
| ? | 255 057 40 | Washer | 4 | EnglischBem: DeutschBem: DeutschDesc: Scheibe InternBDB: InternKon: SerienBem: Zwhead_Deu: Zwhead_Eng: |
|||
| ? | 510 516 98 | Bolt, cold temperature design | 4 | EnglischBem: DeutschBem: DeutschDesc: Schraube, Tieftemperatur InternBDB: InternKon: SerienBem: Zwhead_Deu: Zwhead_Eng: |
|||
| ? | 796 282 73 | Seal kit fig-nos: 05,06 and 08 | A/R | EnglischBem: DeutschBem: DeutschDesc: Dichtsatz Bild-Nr. 05,06 u. 08 InternBDB: InternKon: SerienBem: Zwhead_Deu: Zwhead_Eng: |
|||
| ? | 906 299 40 | Top roller is filled with oil | A/R | EnglischBem: DeutschBem: DeutschDesc: Tragrolle ist цlgefьllt InternBDB: InternKon: SerienBem: Zwhead_Deu: Zwhead_Eng: |