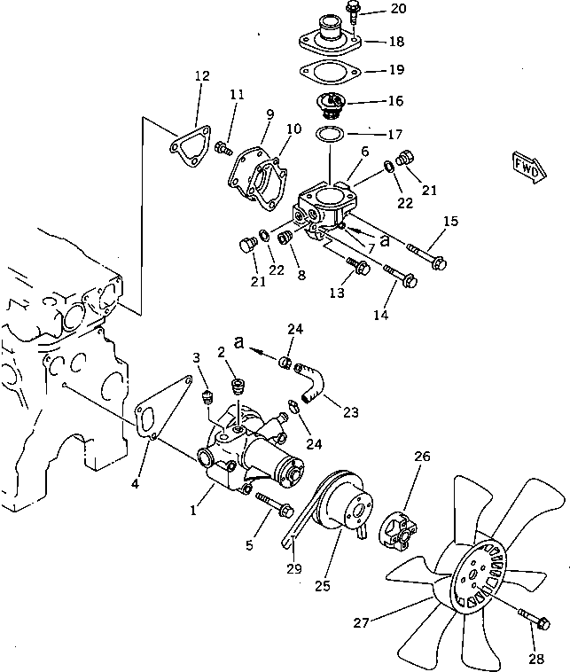
k-part
Номер на схеме Каталожный номер Название Количество Детали
? YM129100-42002 WATER PUMP ASS'Y 1
SN: 03304-
? YM23871-030000 • PLUG 1
SN: 03304-
? YM121850-11860 PLUG 1
SN: 03304-
? YM129100-42020 GASKET (KIT) 1
SN: 03304-
? YM26106-080602 BOLT 3
SN: 03304-
? YM129100-49800 HOUSING,THERMOSTAT 1
SN: 03304-
? YM124770-11770 • JOINT 1
SN: 03304-
? YM23871-030000 • PLUG 1
SN: 03304-
? YM129100-49830 • COVER 1
SN: 03304-
? YM129100-49820 • GASKET 1
SN: 03304-
? YM26116-060162 • BOLT 2
SN: 03304-
? YM129100-49840 GASKET (KIT) 1
SN: 03304-
? YM26106-080252 BOLT 1
SN: 03304-
? YM26106-080502 BOLT 1
SN: 03304-
? YM26106-080602 BOLT 1
SN: 03304-
? YM129574-49800 THERMOSTAT 1
SN: 03304-
? YM129150-49811 GASKET (KIT) 1
SN: 03304-
? YM129350-49530 COVER 1
SN: 03304-
? YM129795-49551 PACKING (KIT) 1
SN: 03304-
? YM26106-080202 BOLT 2
SN: 03304-
? YM121450-42450 PLUG 2
SN: 03304-
? YM124465-44950 GASKET (KIT) 2
SN: 03304-
? YM129132-49050 HOSE 1
SN: 03304-
? YM23000-016000 CLAMP 2
SN: 03304-
? YM129120-42350 PULLEY ? 130MM 1
SN: 03304-
? YM171353-44760 SPACER 1
SN: 03304-
? YM171440-44740 FAN,COOLING 1
SN: 03304-
? YM26106-060352 BOLT 4
SN: 03304-
? YM25132-003900 V-BELT 1
SN: 03304-

Engines Komatsu / 3D84E-3D S/N 3845-UP(3d84e-6r) / WATER PUMP AND COOLING FAN(#03304-)(150010 : 0502)