k-part
Номер на схеме Каталожный номер Название Количество Детали
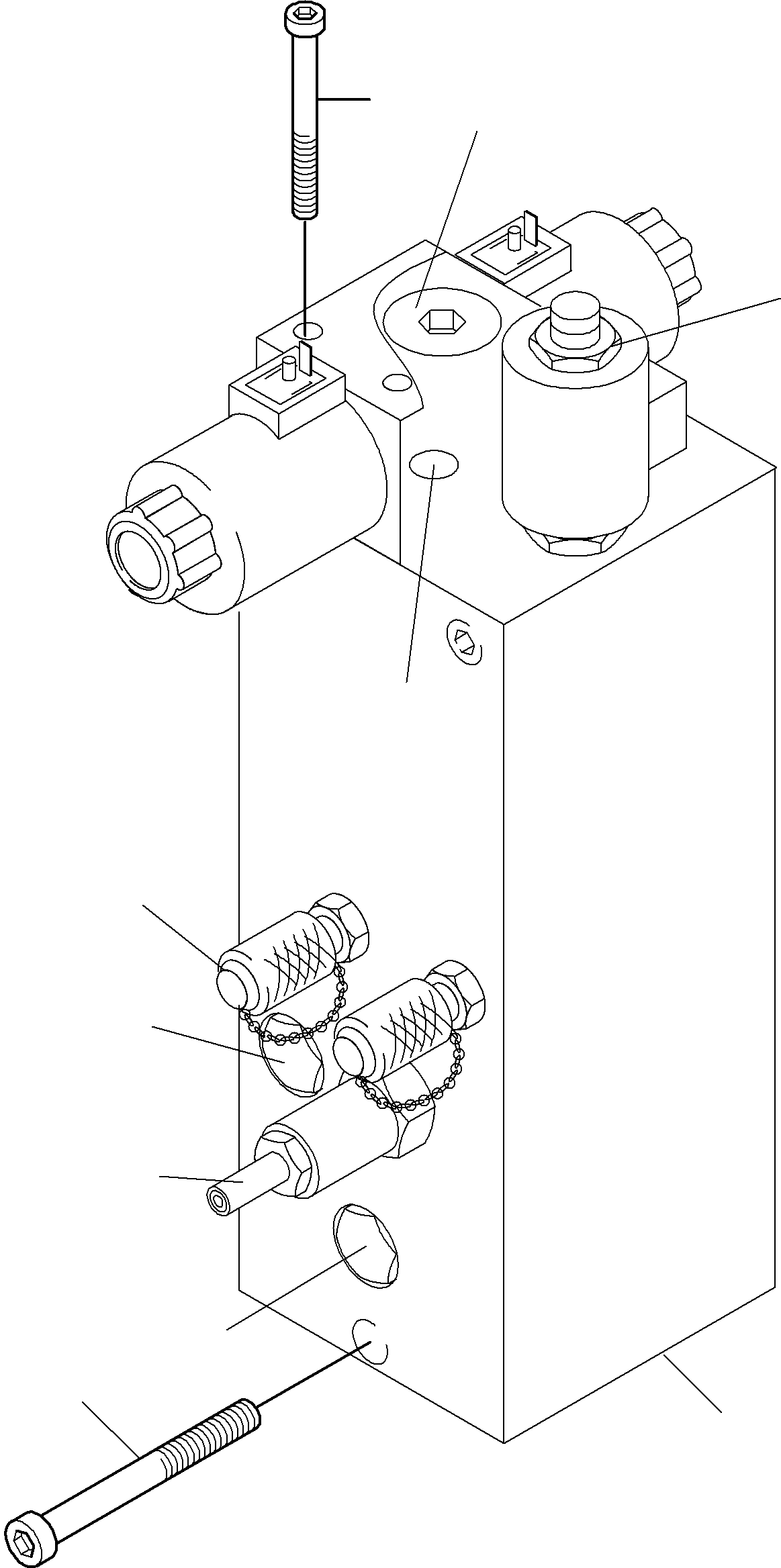
? 907 113 40 Valve - Ladder 60 bar 1
EnglischBem:
DeutschBem:
DeutschDesc: Ventil - Aufstieg 60 bar
InternBDB: Fluitronics LT-30D66.3-K / 1424921
InternKon: 918 394 40 / 7
SerienBem:
Zwhead_Deu:
Zwhead_Eng:
? 319 251 99 Cylinder head srew 3
EnglischBem:
DeutschBem:
DeutschDesc: Zylinderkopfschraube
InternBDB: M8x100 / 912 / 10.9
InternKon: LT-30D66.3-K / 4
SerienBem:
Zwhead_Deu:
Zwhead_Eng:
? 795 979 73 Valve 1
EnglischBem:
DeutschBem:
DeutschDesc: Einschraubventil
InternBDB: SV08-22-0-N-0 / 1269937
InternKon: LT-30D66.3-K / 6
SerienBem:
Zwhead_Deu:
Zwhead_Eng:
? 940 532 40 Field coil 1
EnglischBem:
DeutschBem:
DeutschDesc: Magnetspule
InternBDB: 4304024-24ERZ-08 / 1424504
InternKon: LT-30D66.3-K / 7
SerienBem:
Zwhead_Deu:
Zwhead_Eng:
? 511 562 98 Cylinder head srew 4
EnglischBem:
DeutschBem:
DeutschDesc: Zylinderkopfschraube
InternBDB: M5x30/ 912 / 10.9
InternKon: LT-30D66.3-K / 9
SerienBem:
Zwhead_Deu:
Zwhead_Eng:
? 794 383 73 Non return valve 2
EnglischBem:
DeutschBem:
DeutschDesc: Rьckschlagventil
InternBDB: D 02B2 0,2N/ 1233673
InternKon: LT-30D66.3-K / 10
SerienBem:
Zwhead_Deu:
Zwhead_Eng:
? 792 767 73 Valve 1
EnglischBem:
DeutschBem:
DeutschDesc: Wechselventil
InternBDB: LS10-30-0-N / 1334010
InternKon: LT-30D66.3-K / 11
SerienBem:
Zwhead_Deu:
Zwhead_Eng:
? 792 766 73 Pressure relief valve 1
EnglischBem:
DeutschBem:
DeutschDesc: Druckbegrenzungsventil
InternBDB: RV08-20a-0-N-18 / 1250021
InternKon: LT-30D66.3-K / 12
SerienBem:
Zwhead_Deu:
Zwhead_Eng:
? 792 771 73 Nozzle 1
EnglischBem:
DeutschBem:
DeutschDesc: Dьse
InternBDB: SO-44-11/1,0 M6/1,0 / 1241418
InternKon: LT-30D66.3-K / 13
SerienBem:
Zwhead_Deu:
Zwhead_Eng:
? 792 770 73 Nozzle 1
EnglischBem:
DeutschBem:
DeutschDesc: Dьse
InternBDB: SO-44-11/2,0 M6/2,0 / 1241423
InternKon: LT-30D66.3-K / 14
SerienBem:
Zwhead_Deu:
Zwhead_Eng:
? 515 812 98 Test-screw coupling 2
EnglischBem:
DeutschBem:
DeutschDesc: MinimeЯ-Schraubkupplung
InternBDB: G 1/4 WN 655 914 40
InternKon: LT-30D66.3-K / 15
SerienBem:
Zwhead_Deu:
Zwhead_Eng:
? 792 787 73 Seal kit to fig-no. 12 1
EnglischBem:
DeutschBem:
DeutschDesc: Dichtsatz zu Bild-Nr. 12
InternBDB: SK 08-2X-B
InternKon:
SerienBem:
Zwhead_Deu:
Zwhead_Eng:
? 792 788 73 Seal kit to fig-no.11 1
EnglischBem:
DeutschBem:
DeutschDesc: Dichtsatz zu Bild-Nr. 11
InternBDB: SK 10-3X-MM
InternKon:
SerienBem:
Zwhead_Deu:
Zwhead_Eng:

Excavators Mining Komatsu / PC3000-6 S/N 46185(G46185) / Valve - Ladder 60 bar(991-0565a : 991-0565a)
?
?
?
?
?
?
?
?
?
?
?
?
?
?