| Номер на схеме | Каталожный номер | Название | Количество | Детали | |||
|---|---|---|---|---|---|---|---|
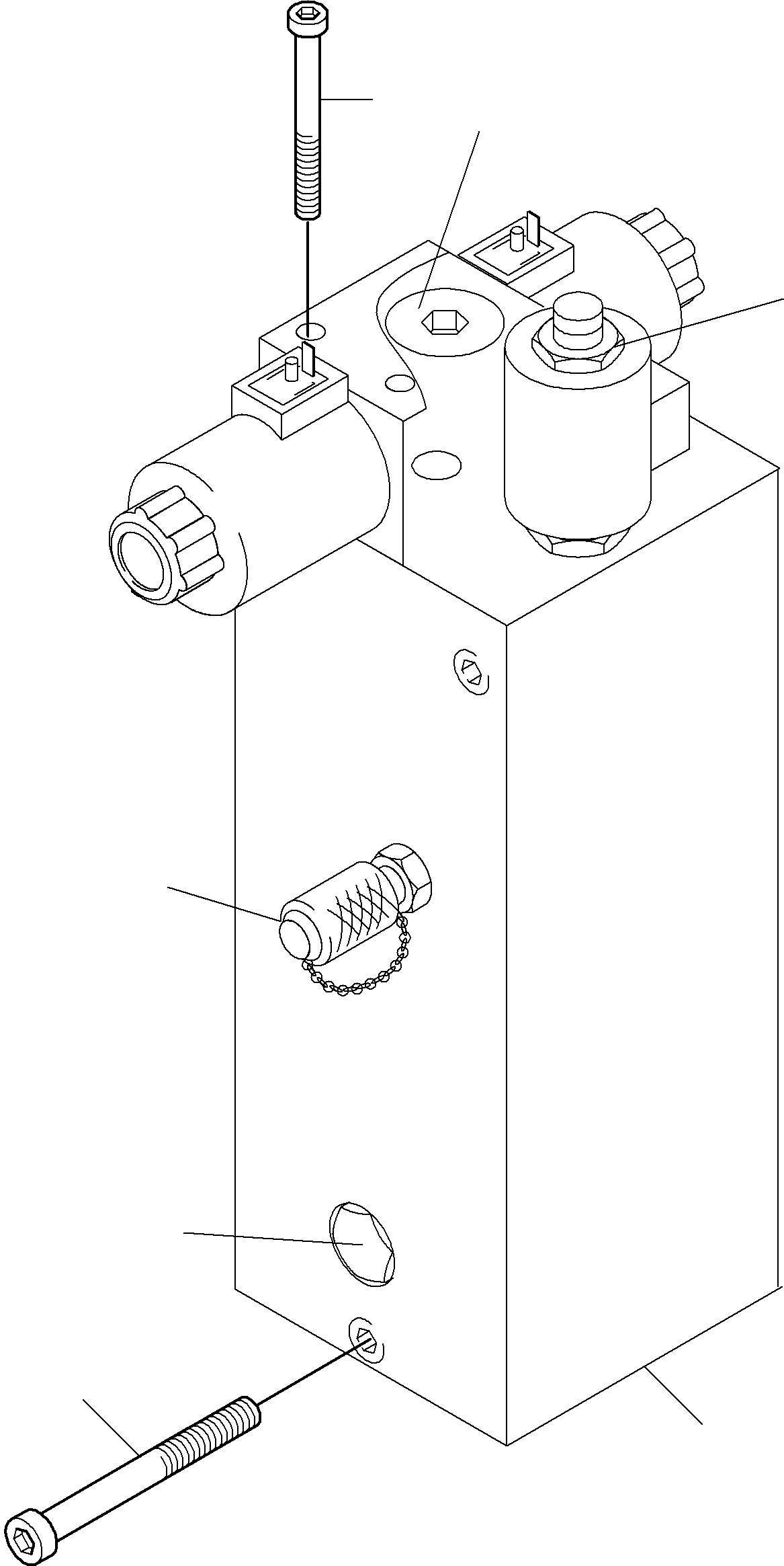
| ? | 907 116 40 | Valve - Refueling 45 bar | 1 | EnglischBem: DeutschBem: DeutschDesc: Ventil - Tankarm 45 bar InternBDB: Fluitronics LT-30D69.4-K / 1424924 92571740 Pos.08 InternKon: 916 760 40 / 9 SerienBem: Zwhead_Deu: Zwhead_Eng: |
|||
| ? | 319 251 99 | Cylinder head srew | 3 | EnglischBem: DeutschBem: DeutschDesc: Zylinderkopfschraube InternBDB: M8x100 / 912 / 10.9 InternKon: LT-30D69.4-K / 4 SerienBem: Zwhead_Deu: Zwhead_Eng: |
|||
| ? | 794 383 73 | Non return valve | 2 | EnglischBem: DeutschBem: DeutschDesc: Rьckschlagventil InternBDB: D02B2 0,2N 123 3673 InternKon: LT-30D69.4-K / 7 SerienBem: Zwhead_Deu: Zwhead_Eng: |
|||
| ? | 795 979 73 | Valve | 1 | EnglischBem: DeutschBem: DeutschDesc: Einschraubventil InternBDB: SV08-22-0-N-0 126 9937 InternKon: LT-30D69.4-K / 8 SerienBem: Zwhead_Deu: Zwhead_Eng: |
|||
| ? | 940 532 40 | Field coil | 1 | EnglischBem: DeutschBem: DeutschDesc: Magnetspule InternBDB: 4304024-24ERZ-08 142 4504 InternKon: LT-30D69.4-K / 9 SerienBem: Zwhead_Deu: Zwhead_Eng: |
|||
| ? | 511 562 98 | Cylinder head srew | 4 | EnglischBem: DeutschBem: DeutschDesc: Zylinderkopfschraube InternBDB: M5x30/ 912 / 10.9 InternKon: LT-30D69.4-K / 11 SerienBem: Zwhead_Deu: Zwhead_Eng: |
|||
| ? | 515 812 98 | Test-screw coupling | 2 | EnglischBem: DeutschBem: DeutschDesc: MinimeЯ-Schraubkupplung InternBDB: G 1/4 WN 655 914 40 InternKon: LT-30D69.4-K / 12 SerienBem: Zwhead_Deu: Zwhead_Eng: |