| Номер на схеме | Каталожный номер | Название | Количество | Детали | |||
|---|---|---|---|---|---|---|---|
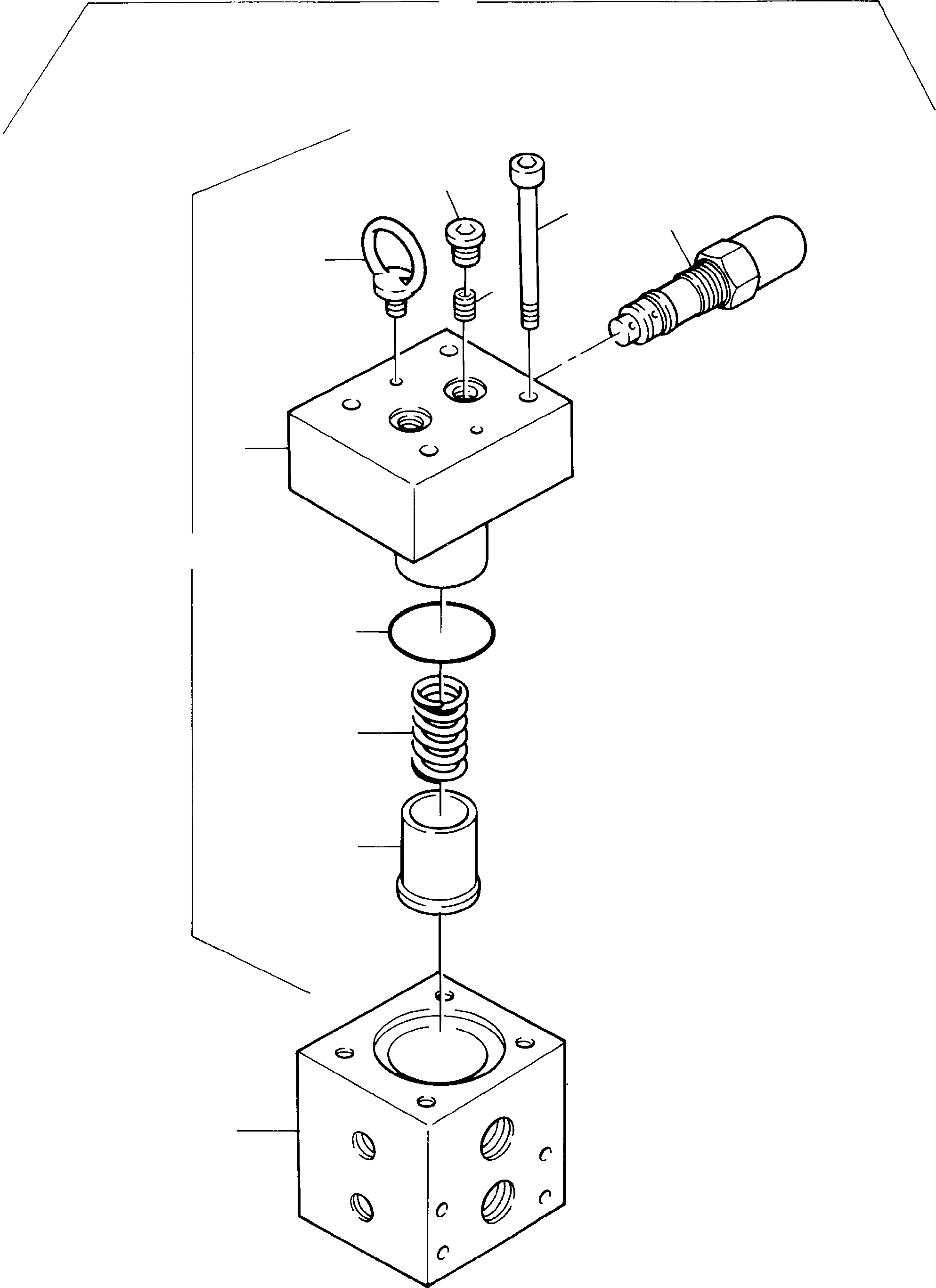
| ? | 918 375 40 | Valve block fig-nos: 02-04 | 1 | EnglischBem: DeutschBem: DeutschDesc: Ventilblock
Bild-Nr. 02-04 InternBDB: DBM InternKon: SerienBem: Zwhead_Deu: Zwhead_Eng: |
|||
| ? | 399 216 40 | Valve block | 1 | EnglischBem: DeutschBem: DeutschDesc: Ventilblock InternBDB: InternKon: 918 375 40 / 1 SerienBem: Zwhead_Deu: Zwhead_Eng: |
|||
| ? | 576 338 40 | Valve - mounting kit fig-nos: 05-16 | 1 | EnglischBem: DeutschBem: DeutschDesc: Ventil-Einbausatz
Bild-Nr. 05-16 InternBDB: Rexroth L-DBF 50-2-30 /16 Y-SO 586 /522 883 InternKon: 918 375 40 / 2 SerienBem: Zwhead_Deu: Zwhead_Eng: |
|||
| ? | 319 277 99 | Screw | 4 | EnglischBem: DeutschBem: DeutschDesc: Schraube InternBDB: M12x70 /912 InternKon: SerienBem: Zwhead_Deu: Zwhead_Eng: |
|||
| ? | 255 694 40 | Screw plug | 2 | EnglischBem: DeutschBem: DeutschDesc: VerschluЯschraube InternBDB: Rexroth G 3/8 002 423 InternKon: SerienBem: Zwhead_Deu: Zwhead_Eng: |
|||
| ? | 313 500 99 | Eyebolt | 2 | EnglischBem: DeutschBem: DeutschDesc: Ringschraube InternBDB: M 8 /580 InternKon: SerienBem: Zwhead_Deu: Zwhead_Eng: |
|||
| ? | Bush These parts are not sold separately | 1 | EnglischBem: DeutschBem: DeutschDesc: Buchse
Diese Teile sind einzeln
nicht lieferbar InternBDB: Rexroth 173 825 InternKon: SerienBem: Zwhead_Deu: Zwhead_Eng: |
||||
| ? | 693 471 | Piston | 1 | EnglischBem: DeutschBem: DeutschDesc: Kolben InternBDB: Rexroth 173 815 InternKon: SerienBem: Zwhead_Deu: Zwhead_Eng: |
|||
| ? | 693 475 | Compression spring | 1 | EnglischBem: DeutschBem: DeutschDesc: Druckfeder InternBDB: Rexroth 009 184 InternKon: SerienBem: Zwhead_Deu: Zwhead_Eng: |
|||
| ? | 950 035 | O-ring | 1 | EnglischBem: DeutschBem: DeutschDesc: O-Ring InternBDB: 76x3 004 482 InternKon: SerienBem: Zwhead_Deu: Zwhead_Eng: |
|||
| ? | 693 476 | Pressure relief valve | 1 | EnglischBem: DeutschBem: DeutschDesc: Druckbegrenzungsventil InternBDB: Rexroth DBDS 10 K 10/ 25 SO.52 /488 053 InternKon: SerienBem: Zwhead_Deu: Zwhead_Eng: |
|||
| ? | 313 404 99 | Plug | 1 | EnglischBem: DeutschBem: DeutschDesc: VerschluЯstopfen InternBDB: M8x1 /906 003 443 InternKon: SerienBem: Zwhead_Deu: Zwhead_Eng: |