| Номер на схеме | Каталожный номер | Название | Количество | Детали | |||
|---|---|---|---|---|---|---|---|
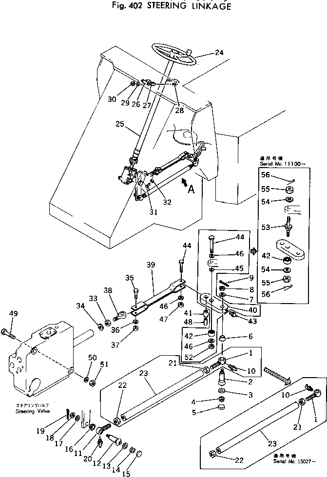
| ? | 385-10315341 | DRAG LINK ASS'Y | 1 | SN: 15027- |
|||
| ? | 385-11037871 | DRAG LINK ASS'Y | 1 | SN: 10001-15026 |
|||
| ? | 385-10315351 | • SOCKET ASS'Y,REAR | 1 | SN: 15027- |
|||
| ? | 385-11089601 | • SOCKET ASS'Y,REAR | 1 | SN: 10001-15026 |
|||
| ? | 385-11037931 | • • SOCKET | 1 | SN: 15027- |
|||
| ? | 385-11037921 | • • SOCKET ASS'Y | 1 | SN: 10001-15026 |
|||
| ? | ☆ | • • • SOCKET | 1 | SN: 10001- |
|||
| ? | ☆ | • • • STUD | 1 | SN: 10001- |
|||
| ? | ☆ | • • • SEAT | 1 | SN: 10001- |
|||
| ? | ☆ | • • • SPRING | 1 | SN: 10001- |
|||
| ? | ☆ | • • • PLUG | 1 | SN: 10001- |
|||
| ? | 385-11037941 | • • SEAL | 1 | SN: 10001- |
|||
| ? | 385-11089721 | • • WASHER | 1 | SN: 10001- |
|||
| ? | 385-11089711 | • • NUT | 1 | SN: 10001- |
|||
| ? | 384-0103387 | • • PIN | 1 | SN: 10001- |
|||
| ? | 384-0117175 | • • FITTING | 1 | SN: 15027- |
|||
| ? | 384-0109454 | • • FITTING | 1 | SN: 10001-15026 |
|||
| ? | 385-11089601 | • SOCKET ASS'Y,FRONT | 1 | SN: 15027- |
|||
| ? | 385-11089611 | • SOCKET ASS'Y,FRONT | 1 | SN: 10001-15026 |
|||
| ? | 385-11037921 | • • SOCKET ASS'Y | 1 | SN: 15027- |
|||
| ? | 385-11037931 | • • SOCKET | 1 | SN: 10001-15026 |
|||
| ? | ☆ | • • • SOCKET | 1 | SN: 10001- |
|||
| ? | ☆ | • • • STUD | 1 | SN: 10001- |
|||
| ? | ☆ | • • • SEAT | 1 | SN: 10001- |
|||
| ? | ☆ | • • • SPRING | 1 | SN: 10001- |
|||
| ? | ☆ | • • • PLUG | 1 | SN: 10001- |
|||
| ? | 385-11037941 | • • SEAL | 1 | SN: 10001- |
|||
| ? | 385-11089721 | • • WASHER | 1 | SN: 10001- |
|||
| ? | 385-11089711 | • • NUT | 1 | SN: 10001- |
|||
| ? | 384-0103387 | • • PIN | 1 | SN: 10001- |
|||
| ? | 384-0109454 | • • FITTING | 1 | SN: 10001- |
|||
| ? | 385-11037961 | • NUT,REAR | 1 | SN: 15027- |
|||
| ? | 385-11037971 | • NUT,REAR | 1 | SN: 10001-15026 |
|||
| ? | 385-11037971 | • NUT,FRONT | 1 | SN: 15027- |
|||
| ? | 385-11037961 | • NUT,FRONT | 1 | SN: 10001-15026 |
|||
| ? | 385-11037951 | • PIPE | 1 | SN: 10001- |
|||
| ? | 385-11037862 | STEERING WHEEL ASS'Y | 1 | SN: 16132- |
|||
| ? | □385-11037861 | STEERING WHEEL ASS'Y | 1 | SN: 10001-16131 |
|||
| ? | (385-10230591) | STEERING GEAR ASS'Y | 1 | SN: 13104- |
|||
| ? | (385-11037501) | STEERING GEAR ASS'Y | 1 | SN: 10001-13103 |
|||
| ? | 380-218408-1 | SPACER | A/R | SN: 10001- |
|||
| ? | 380-144068-1 | BLOCK | 1 | SN: 10001- |
|||
| ? | 380-218420-1 | U-BOLT | 1 | SN: 10001- |
|||
| ? | 382-025534-1 | WASHER | 2 | SN: 10001- |
|||
| ? | 384-9413979 | NUT | 2 | SN: 10001- |
|||
| ? | 381-941415-1 | BOLT | 2 | SN: 14234- |
|||
| ? | □382-024862-1 | BOLT | 1 | SN: 10001-14233 |
|||
| ? | 382-025933-1 | NUT | 2 | SN: 10001- |
|||
| ? | 382-025632-1 | NUT | 1 | SN: 10001- |
|||
| ? | 385-10292541 | WASHER | 1 | SN: 10001- |
|||
| ? | 381-923565-1 | WASHER | 1 | SN: 10001-14449 |
|||
| ? | 382-024890-1 | BOLT | 1 | SN: 10001- |
|||
| ? | 382-025548-1 | WASHER | 1 | SN: 10001- |
|||
| ? | 384-9413983 | NUT | 1 | SN: 10001- |
|||
| ? | 381-923564-1 | END | 1 | SN: 10001- |
|||
| ? | 385-10411201 | LINK | 1 | SN: 16228- |
|||
| ? | 385-11015062 | LINK | 1 | SN: 10001-16227 |
|||
| ? | 385-10230611 | LEVER ASS'Y | 1 | SN: 13104- |
|||
| ? | 385-11015081 | LEVER ASS'Y | 1 | SN: 10001-13103 |
|||
| ? | 385-10230621 | • SUPPORT | 1 | SN: 13104- |
|||
| ? | 385-11015071 | • SUPPORT | 1 | SN: 10001-13103 |
|||
| ? | 385-11287451 | • BUSHING | 1 | SN: 15363- |
|||
| ? | □381-936946-1 | • BUSHING | 1 | SN: 10001-15362 |
|||
| ? | 381-454289-1 | • BEARING | 1 | SN: 10001- |
|||
| ? | 384-0109461 | • FITTING | 1 | SN: 10001- |
|||
| ? | 382-024865-1 | BOLT | 1 | SN: 11100- |
|||
| ? | 382-024865-1 | BOLT | 2 | SN: 10001-11099 |
|||
| ? | 382-025546-1 | WASHER | 1 | SN: 10001-11099 |
|||
| ? | 382-025536-1 | WASHER | 1 | SN: 11100- |
|||
| ? | 382-025536-1 | WASHER | 3 | SN: 10001-11099 |
|||
| ? | 384-9412230 | NUT | 1 | SN: 10001- |
|||
| ? | 381-936947-1 | TUBE | 1 | SN: 10001- |
|||
| ? | 382-024869-1 | BOLT | 3 | SN: 10001- |
|||
| ? | 382-025536-1 | WASHER | 3 | SN: 10001- |
|||
| ? | 384-9412230 | NUT | 3 | SN: 10001- |
|||
| ? | 384-9412230 | NUT | 1 | SN: 10001-11099 |
|||
| ? | 385-11211461 | STUD | 1 | SN: 11486- |
|||
| ? | □385-10128681 | STUD | 1 | SN: 11100-11485 |
|||
| ? | 382-025546-1 | WASHER | 2 | SN: 12204- |
|||
| ? | □382-025536-1 | WASHER | 2 | SN: 11100-12203 |
|||
| ? | 384-9412230 | NUT | 2 | SN: 11100- |
|||
| ? | 384-0103374 | PIN | 2 | SN: 11100- |
