k-part
Номер на схеме Каталожный номер Название Количество Детали
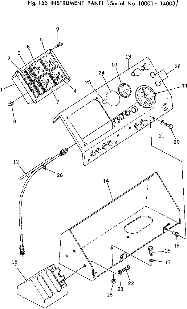
? 385-11015851 GAUGE CLUSTER 1
SN: 10001-@
? 385-11040791 • LENS,WARNING LAMP 1
SN: 10001-@
? 385-11040801 • LENS,WARNING LAMP 1
SN: 10001-@
? 385-11040811 • VOLTMETER 1
SN: 10001-@
? 385-11040821 • GAUGE,FUEL 1
SN: 10001-@
? 385-11040831 • GAUGE,ENGINE WATER TEMPERATURE 1
SN: 10001-@
? 385-11040841 • GAUGE,TORQUE CONVERTER OIL TEMP. 1
SN: 10001-@
? 382-027727-1 • BULB,PILOT LAMP 8
SN: 10001-@
? 384-0133578 SCREW 4
SN: 10001-@
? 385-11047951 METER,SERVICE 1
SN: 10001-@
? 385-11047941 SPEEDOMETER 1
SN: 10001-@
? 385-11047931 CABLE 1
SN: 10001-@
? 385-11091372 PANEL,INSTRUMENT 1
SN: 10728-14003
? 385-11048552 PANEL,INSTRUMENT 1
SN: 10272-10727
? □385-11048551 PANEL,INSTRUMENT 1
SN: 10001-10271
? 385-11048571 SUPPORT 1
SN: 10001-@
? 385-11048613 SUPPORT 1
SN: 10464-@
? □385-11048612 SUPPORT 1
SN: 10001-10463
? 382-024842-1 BOLT 4
SN: 10001-@
? 382-025534-1 WASHER 4
SN: 10001-@
? 382-025522-1 NUT 4
SN: 10001-@
? 381-934811-1 CUSHION 6
SN: 10001-@
? 382-025483-1 BOLT 6
SN: 10001-@
? 382-025532-1 WASHER 6
SN: 10001-@
? 382-025752-1 BOLT 3
SN: 10001-@
? 382-025532-1 WASHER 3
SN: 10001-@
? 380-887155-1 PLUG 1
SN: 10001-14003
? 385-11048121 BUTTON 3
SN: 10001-14003
? 381-976195-1 STRAP 1
SN: 10001-14003

Wheel Loaders Komatsu / 510-1 S/N 10001-UP(510-1r) / INSTRUMENT PANEL(#10001-14003)(030150 : 155)