k-part
Номер на схеме Каталожный номер Название Количество Детали
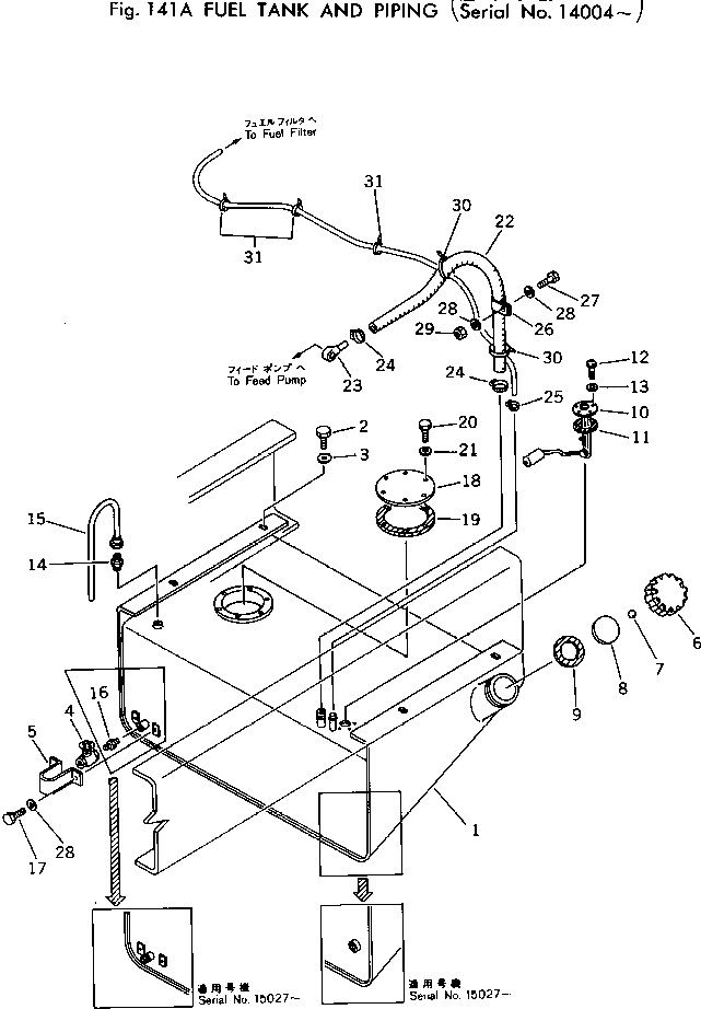
? 385-10294183 TANK,FUEL 1
SN: 15963-
? □385-10294182 TANK,FUEL 1
SN: 15027-15962
? 385-10233401 TANK,FUEL 1
SN: 14004-15026
? 382-024861-1 BOLT 4
SN: 14004-
? 382-025555-1 WASHER 4
SN: 14004-
? 385-10051171 VALVE,DRAIN 1
SN: 15027-
? 385-10051741 VALVE,DRAIN 1
SN: 14004-15026
? 385-10051751 COVER 1
SN: 14004-
? 385-11037681 CAP ASS'Y 1
SN: 10001-
? 381-988178-1 • CAP 1
SN: 10001-
? 382-017012-1 • BALL 1
SN: 10001-
? 381-618689-1 • PLATE 1
SN: 10001-
? 381-618688-1 • GASKET 1
SN: 10001-
? 385-10285382 SENDER,FUEL LEVEL 1
SN: 15027-
? 385-10329671 SENDER,FUEL LEVEL 1
SN: 14954-15026
? □385-11015871 SENDER,FUEL LEVEL 1
SN: 14004-14953
? 385-10191931 GASKET 1
SN: 12852-
? 380-132226-1 BOLT 5
SN: 10001-
? 384-0106497 WASHER 5
SN: 10001-
? 382-317783-1 CONNECTOR 1
SN: 14004-
? 385-11033241 TUBE 1
SN: 14004-
? 385-10015421 CONNECTOR 1
SN: 14004-15026
? 382-024838-1 BOLT 2
SN: 14004-
? 381-986021-3 COVER 1
SN: 14004-
? 381-986022-2 GASKET 1
SN: 10001-
? 382-024839-1 BOLT 6
SN: 10001-
? 382-025544-1 WASHER 6
SN: 10001-
? 381-970401-2 HOSE 1
SN: 14004-
? 385-10123782 JOINT 1
SN: 14004-
? 383-30652921 CLAMP 2
SN: 14004-
? 382-534421-1 CLIP 1
SN: 14004-
? 382-129083-1 CLAMP 1
SN: 14450-
? 381-299566-1 CLAMP 1
SN: 14004-14449
? 382-024840-1 BOLT 1
SN: 14004-
? 382-025534-1 WASHER 4
SN: 14004-
? 382-025522-1 NUT 1
SN: 14004-
? 381-935522-1 STRAP 2
SN: 14004-
? 381-976197-1 STRAP 6
SN: 14004-

Wheel Loaders Komatsu / 510-1 S/N 10001-UP(510-1r) / FUEL TANK AND PIPING(#14004-)(030120 : 141A)