k-part
Номер на схеме Каталожный номер Название Количество Детали
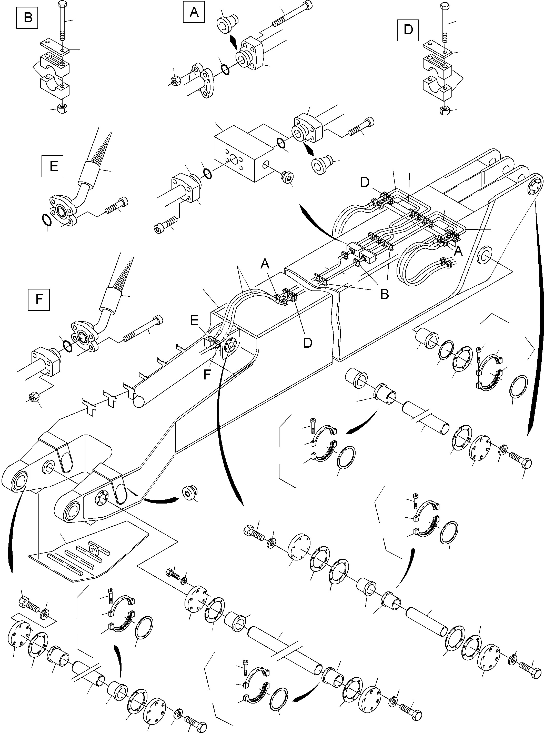
? 793 135 73 Stick with bushings 1
EnglischBem:
DeutschBem:
DeutschDesc: Stiel mit Buchsen
InternBDB: SK 925 065 40
InternKon:
SerienBem:
Zwhead_Deu:
Zwhead_Eng:
? 651 301 40 Manifold 2
EnglischBem:
DeutschBem:
DeutschDesc: Verteilerklotz
InternBDB:
InternKon: 925 405 40 / 2
SerienBem:
Zwhead_Deu:
Zwhead_Eng:
? 911 084 40 Freeze-in flanged bushing 2
EnglischBem:
DeutschBem:
DeutschDesc: Bundbuchse z. Einfrieren
InternBDB:
InternKon: 925 405 40 / 3
SerienBem:
Zwhead_Deu:
Zwhead_Eng:
? 647 488 40 Freeze-in flanged bushing 4
EnglischBem:
DeutschBem:
DeutschDesc: Bundbuchse z. Einfrieren
InternBDB:
InternKon: 925 405 40 / 4
SerienBem:
Zwhead_Deu:
Zwhead_Eng:
? 647 493 40 Pin 1
EnglischBem:
DeutschBem:
DeutschDesc: Bolzen
InternBDB: D=140
InternKon: 925 405 40 / 5
SerienBem:
Zwhead_Deu:
Zwhead_Eng:
? 651 298 40 Pin 1
EnglischBem:
DeutschBem:
DeutschDesc: Bolzen
InternBDB: D=120
InternKon: 925 405 40 / 6
SerienBem:
Zwhead_Deu:
Zwhead_Eng:
? 925 406 40 Pin 2
EnglischBem:
DeutschBem:
DeutschDesc: Bolzen
InternBDB: D=140
InternKon: 925 405 40 / 7
SerienBem:
Zwhead_Deu:
Zwhead_Eng:
? 925 407 40 Pin 1
EnglischBem:
DeutschBem:
DeutschDesc: Bolzen
InternBDB: D=120
InternKon: 925 405 40 / 8
SerienBem:
Zwhead_Deu:
Zwhead_Eng:
? 651 295 40 Freeze-in flanged bushing 2
EnglischBem:
DeutschBem:
DeutschDesc: Bundbuchse z. Einfrieren
InternBDB:
InternKon: 925 405 40 / 9
SerienBem:
Zwhead_Deu:
Zwhead_Eng:
? 651 294 40 Freeze-in flanged bushing 2
EnglischBem:
DeutschBem:
DeutschDesc: Bundbuchse z. Einfrieren
InternBDB:
InternKon: 925 405 40 / 10
SerienBem:
Zwhead_Deu:
Zwhead_Eng:
? 925 408 40 Freeze-in flanged bushing 4
EnglischBem:
DeutschBem:
DeutschDesc: Bundbuchse z. Einfrieren
InternBDB:
InternKon: 925 405 40 / 11
SerienBem:
Zwhead_Deu:
Zwhead_Eng:
? 534 007 99 Pair of clamps 12
EnglischBem:
DeutschBem:
DeutschDesc: Klemmenpaar
InternBDB: S-4-R-50
InternKon: 925 405 40 / 12
SerienBem:
Zwhead_Deu:
Zwhead_Eng:
? 534 008 99 Cover plate 24
EnglischBem:
DeutschBem:
DeutschDesc: Deckplatte
InternBDB: S-DP-A-4
InternKon: 925 405 40 / 13
SerienBem:
Zwhead_Deu:
Zwhead_Eng:
? 514 099 98 Bolt 48
EnglischBem:
DeutschBem:
DeutschDesc: Schraube
InternBDB: M12x130 / 933 A2E 10.9
InternKon: 925 405 40 / 14
SerienBem:
Zwhead_Deu:
Zwhead_Eng:
? 512 748 98 Nut 48
EnglischBem:
DeutschBem:
DeutschDesc: Mutter
InternBDB: M 12 / 985 A2-70
InternKon: 925 405 40 / 15
SerienBem:
Zwhead_Deu:
Zwhead_Eng:
? 502 977 98 Pair of clamps 12
EnglischBem:
DeutschBem:
DeutschDesc: Klemmenpaar
InternBDB: S-4-G-50
InternKon: 925 405 40 / 16
SerienBem:
Zwhead_Deu:
Zwhead_Eng:
? 512 818 98 Bolt 28
EnglischBem:
DeutschBem:
DeutschDesc: Schraube
InternBDB: M16x90 / 912 10.9 A2E
InternKon: 925 405 40 / 17
SerienBem:
Zwhead_Deu:
Zwhead_Eng:
? 512 819 98 Nut 28
EnglischBem:
DeutschBem:
DeutschDesc: Mutter
InternBDB: M 16 / 934 10-A2E
InternKon: 925 405 40 / 18
SerienBem:
Zwhead_Deu:
Zwhead_Eng:
? 500 127 98 Flange 12
EnglischBem:
DeutschBem:
DeutschDesc: Flansch
InternBDB: FE-5000-24/6 WN 011 747 99
InternKon: 925 405 40 / 19
SerienBem:
Zwhead_Deu:
Zwhead_Eng:
? 500 203 98 Ring 6
EnglischBem:
DeutschBem:
DeutschDesc: Ring
InternBDB: KO-5060-24 WN 011 747 99
InternKon: 925 405 40 / 20
SerienBem:
Zwhead_Deu:
Zwhead_Eng:
? 356 209 40 Flange seal 14
EnglischBem:
DeutschBem:
DeutschDesc: Flanschdichtung
InternBDB: 1 1/2 WN 341 986 40 NBR 90
InternKon: 925 405 40 / 21
SerienBem:
Zwhead_Deu:
Zwhead_Eng:
? 512 817 98 Bolt 24
EnglischBem:
DeutschBem:
DeutschDesc: Schraube
InternBDB: M16x60 / 912 10.9-A2E
InternKon: 925 405 40 / 22
SerienBem:
Zwhead_Deu:
Zwhead_Eng:
? 501 898 98 Ring 6
EnglischBem:
DeutschBem:
DeutschDesc: Ring
InternBDB: K-5060-24 WN 011 747 99
InternKon: 925 405 40 / 23
SerienBem:
Zwhead_Deu:
Zwhead_Eng:
? 512 813 98 Bolt 4
EnglischBem:
DeutschBem:
DeutschDesc: Schraube
InternBDB: M16x50 /912 10.9-A2E
InternKon: 925 405 40 / 24
SerienBem:
Zwhead_Deu:
Zwhead_Eng:
? 512 857 98 Bolt 48
EnglischBem:
DeutschBem:
DeutschDesc: Schraube
InternBDB: M12x30 / 933 A2-70
InternKon: 925 405 40 / 44
SerienBem:
Zwhead_Deu:
Zwhead_Eng:
? 647 517 40 Base 2
EnglischBem:
DeutschBem:
DeutschDesc: Unterlage
InternBDB: 275x275
InternKon: 925 405 40 / 36
SerienBem:
Zwhead_Deu:
Zwhead_Eng:
? 647 482 40 Washer 2
EnglischBem:
DeutschBem:
DeutschDesc: Unterlegscheibe
InternBDB: 200x200
InternKon: 925 405 40 / 41
SerienBem:
Zwhead_Deu:
Zwhead_Eng:
? 925 412 40 Cover 2
EnglischBem:
DeutschBem:
DeutschDesc: Deckel
InternBDB: 220x220
InternKon: 925 405 40 / 28
SerienBem:
Zwhead_Deu:
Zwhead_Eng:
? 925 411 40 Cover 4
EnglischBem:
DeutschBem:
DeutschDesc: Deckel
InternBDB: 275x275
InternKon: 925 405 40 / 29
SerienBem:
Zwhead_Deu:
Zwhead_Eng:
? 913 626 40 Ring 2
EnglischBem:
DeutschBem:
DeutschDesc: Ring
InternBDB: 330x260x15
InternKon: 925 405 40 / 26
SerienBem:
Zwhead_Deu:
Zwhead_Eng:
? 180 113 40 Plug 1
EnglischBem:
DeutschBem:
DeutschDesc: VerschluЯschraube
InternBDB: Vsti G 1/4 ed WN 341 913 40
InternKon: 925 405 40 / 27
SerienBem:
Zwhead_Deu:
Zwhead_Eng:
? 647 515 40 Seal 2
EnglischBem:
DeutschBem:
DeutschDesc: Dichtung
InternBDB:
InternKon: 925 405 40 / 37
SerienBem:
Zwhead_Deu:
Zwhead_Eng:
? 647 514 40 Cover 2
EnglischBem:
DeutschBem:
DeutschDesc: Deckel
InternBDB: 275x275
InternKon: 925 405 40 / 38
SerienBem:
Zwhead_Deu:
Zwhead_Eng:
? 500 802 98 Lock washer 60
EnglischBem:
DeutschBem:
DeutschDesc: Sicherungsscheibe
InternBDB:
InternKon: 925 405 40 / 39
SerienBem:
Zwhead_Deu:
Zwhead_Eng:
? 512 974 98 Bolt 12
EnglischBem:
DeutschBem:
DeutschDesc: Schraube
InternBDB: M12x35 / 933 A2-70
InternKon: 925 405 40 / 40
SerienBem:
Zwhead_Deu:
Zwhead_Eng:
? 647 481 40 Seal 4
EnglischBem:
DeutschBem:
DeutschDesc: Dichtung
InternBDB:
InternKon: 925 405 40 / 43
SerienBem:
Zwhead_Deu:
Zwhead_Eng:
? 647 483 40 Cover 2
EnglischBem:
DeutschBem:
DeutschDesc: Deckel
InternBDB:
InternKon: 925 405 40 / 42
SerienBem:
Zwhead_Deu:
Zwhead_Eng:
? 763 257 73 Pipe assy. Ш 50 1
EnglischBem:
DeutschBem:
DeutschDesc: Rohr Ш 50
InternBDB: 651 289 40 E-ST
InternKon: 925 405 40 / 45
SerienBem:
Zwhead_Deu:
Zwhead_Eng:
? 763 258 73 Pipe assy. Ш 50 1
EnglischBem:
DeutschBem:
DeutschDesc: Rohr Ш 50
InternBDB: 651 288 40 E-ST
InternKon: 925 405 40 / 46
SerienBem:
Zwhead_Deu:
Zwhead_Eng:
? 763 259 73 Pipe assy. Ш 50 1
EnglischBem:
DeutschBem:
DeutschDesc: Rohr Ш 50
InternBDB: 651 287 40 E-ST
InternKon: 925 405 40 / 47
SerienBem:
Zwhead_Deu:
Zwhead_Eng:
? 763 260 73 Pipe assy. Ш 50 1
EnglischBem:
DeutschBem:
DeutschDesc: Rohr Ш 50
InternBDB: 651 286 40 E-ST
InternKon: 925 405 40 / 48
SerienBem:
Zwhead_Deu:
Zwhead_Eng:
? 793 136 73 Pipe assy. Ш 50 1
EnglischBem:
DeutschBem:
DeutschDesc: Rohr Ш 50
InternBDB: 925 409 40 E-ST
InternKon: 925 405 40 / 49
SerienBem:
Zwhead_Deu:
Zwhead_Eng:
? 793 137 73 Pipe assy. Ш 50 1
EnglischBem:
DeutschBem:
DeutschDesc: Rohr Ш 50
InternBDB: 925 410 40 E-ST
InternKon: 925 405 40 / 50
SerienBem:
Zwhead_Deu:
Zwhead_Eng:
? 652 399 40 Hose assy. DN 40x1500 2
EnglischBem:
DeutschBem:
DeutschDesc: Schlauchleitung DN 40x1500
InternBDB: 350 FS 1 1/2 45 FS 1 1/2 45 WN 341 951 40
InternKon: 925 405 40 / 54
SerienBem:
Zwhead_Deu:
Zwhead_Eng:
? 168 474 40 Plug 2
EnglischBem:
DeutschBem:
DeutschDesc: VerschluЯschraube
InternBDB: Vsti M42x2,0 ED WN 341 913 40
InternKon: 925 405 40 / 3
SerienBem:
Zwhead_Deu:
Zwhead_Eng:
? 661 196 40 Seal fixing fig-nos. 67-69 4
EnglischBem:
DeutschBem:
DeutschDesc: Dichtungsfьhrungsring Bild-Nr. 67-69
InternBDB:
InternKon: 925 404 40 / 4
SerienBem:
Zwhead_Deu:
Zwhead_Eng:
? 247 092 40 Seal ring 4
EnglischBem:
DeutschBem:
DeutschDesc: Dichtungsring
InternBDB:
InternKon: 925 404 40 / 3
SerienBem:
Zwhead_Deu:
Zwhead_Eng:
? 890 909 40 Seal fixing fig-nos. 70-72 2
EnglischBem:
DeutschBem:
DeutschDesc: Dichtungsfьhrungsring Bild-Nr. 70-72
InternBDB:
InternKon: 925 404 40 / 2
SerienBem:
Zwhead_Deu:
Zwhead_Eng:
? 655 733 40 Seal ring 2
EnglischBem:
DeutschBem:
DeutschDesc: Dichtring
InternBDB:
InternKon: 925 404 40 / 1
SerienBem:
Zwhead_Deu:
Zwhead_Eng:
? 577 142 40 Seal fixing fig-nos. 73-75 8
EnglischBem:
DeutschBem:
DeutschDesc: Dichtungsfьhrungsring Bild-Nr. 73-75
InternBDB:
InternKon: 925 404 40 / 6
SerienBem:
Zwhead_Deu:
Zwhead_Eng:
? 575 919 40 Seal ring 8
EnglischBem:
DeutschBem:
DeutschDesc: Dichtring
InternBDB:
InternKon: 925 404 40 / 5
SerienBem:
Zwhead_Deu:
Zwhead_Eng:
? Upper ring half 4
EnglischBem:
DeutschBem:
DeutschDesc: Obere Ringhдlfte
InternBDB:
InternKon: 661 196 40 / 1
SerienBem:
Zwhead_Deu:
Zwhead_Eng:
? Lower ring half 4
EnglischBem:
DeutschBem:
DeutschDesc: Untere Ringhдlfte
InternBDB:
InternKon: 661 196 40 / 2
SerienBem:
Zwhead_Deu:
Zwhead_Eng:
? 500 987 98 Bolt 8
EnglischBem:
DeutschBem:
DeutschDesc: Schraube
InternBDB: M16x90 /912
InternKon: 661 196 40 / 3
SerienBem:
Zwhead_Deu:
Zwhead_Eng:
? Upper ring half 2
EnglischBem:
DeutschBem:
DeutschDesc: Obere Ringhдlfte
InternBDB:
InternKon: 890 909 40 / 1
SerienBem:
Zwhead_Deu:
Zwhead_Eng:
? Lower ring half 2
EnglischBem:
DeutschBem:
DeutschDesc: Untere Ringhдlfte
InternBDB:
InternKon: 890 909 40 / 2
SerienBem:
Zwhead_Deu:
Zwhead_Eng:
? 509 170 98 Bolt 4
EnglischBem:
DeutschBem:
DeutschDesc: Schraube
InternBDB: M16x90 /912
InternKon: 890 909 40 / 3
SerienBem:
Zwhead_Deu:
Zwhead_Eng:
? Upper ring half 8
EnglischBem:
DeutschBem:
DeutschDesc: Obere Ringhдlfte
InternBDB:
InternKon: 577 142 40 / 1
SerienBem:
Zwhead_Deu:
Zwhead_Eng:
? Lower ring half 8
EnglischBem:
DeutschBem:
DeutschDesc: Untere Ringhдlfte
InternBDB:
InternKon: 577 142 40 / 2
SerienBem:
Zwhead_Deu:
Zwhead_Eng:
? 509 170 98 Bolt 16
EnglischBem:
DeutschBem:
DeutschDesc: Schraube
InternBDB: M16x90 /912
InternKon: 577 142 40 / 3
SerienBem:
Zwhead_Deu:
Zwhead_Eng:
? 652 342 40 Dipper cover 1
EnglischBem:
DeutschBem:
DeutschDesc: Stielabdeckung
InternBDB:
InternKon: 652 340 40 / 1
SerienBem:
Zwhead_Deu:
Zwhead_Eng:

Excavators Mining Komatsu / PC3000-1A S/N 06233(g06233) / Backhoe-Stick 12.00 m(155-4204a : 155-4204a)
?
?
?
?
?
?
?
?
?
?
?
?
?
?
?
?
?
?
?
?
?
?
?
?
?
?
?
?
?
?
?
?
?
?
?
?
?
?
?
?
?
?
?
?
?
?
?
?
?
?
?
?
?
?
?
?
?
?
?
?
?
?
?
?
?
?
?
?
?
?
?
?
?
?
?
?
?
?
?
?
?
?
?
?
?
?
?
?
?
?
?
?
?
?
?
?
?
?
?
?
?
?
?
?
?
?
?
?
?