k-part
Номер на схеме Каталожный номер Название Количество Детали
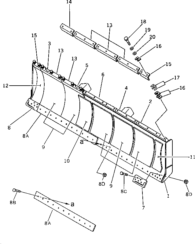
? 144-Z17-4211 BLADE ASS'Y 1
SN: 50001-
? 144-917-4280 • PLATE,L.H. (WELDED) 1
SN: 50001-
? 144-917-4290 • PLATE,R.H. (WELDED) 1
SN: 50001-
? 144-Z17-4220 • PLATE,L.H. (WELDED) 1
SN: 50001-
? 144-Z17-4230 • PLATE,R.H. (WELDED) 1
SN: 50001-
? 144-917-4330 • PLATE (WELDED) 1
SN: 50001-
? 13F-Z27-1830 BIT,END¤ L.H. 1
SN: 50001-
? 13F-Z27-1840 BIT,END¤ R.H. 1
SN: 50001-
? 144-70-11131 EDGE,CUTTING 2
SN: 50001-
? 02090-11270 BOLT 28
SN: 50001-
? 02091-11210 BOLT 4
SN: 50001-
? 02290-11219 NUT 32
SN: 50001-
? 144-917-4220 PLATE 5
SN: 50001-
? 144-917-4230 PLATE 1
SN: 50001-
? 144-917-4350 PLATE,L.H. 1
SN: 50001-
? 144-917-4360 PLATE,R.H. 1
SN: 50001-
? 13F-Z27-1770 PLATE 5
SN: 50001-
? 144-917-4260 PLATE 1
SN: 50001-
? 144-917-4270 PLATE 2
SN: 50001-
? 13F-Z27-1810 PLATE¤ 4.5MM 63
SN: 50001-
? 13F-Z27-1820 PLATE¤ 2.3MM 42
SN: 50001-
? 01010-51255 BOLT 21
SN: 50001-
? 01602-21236 WASHER,SPRING 21
SN: 50001-
? 01643-31232 WASHER 21
SN: 50001-

Bulldozers Komatsu / D65P-11 S/N 50001-UP(d65p-11r) / LINING BLADE(210050 : 7125)