| Номер на схеме | Каталожный номер | Название | Количество | Детали | |||
|---|---|---|---|---|---|---|---|
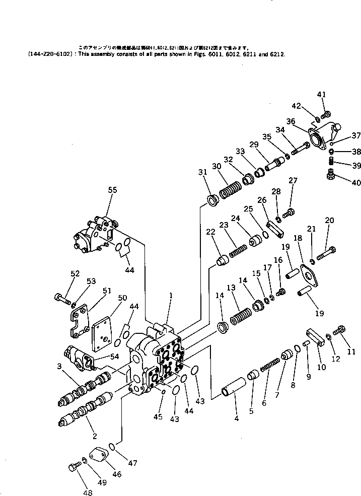
| ? | (144-Z20-6102) | HYDRAULIC TANK ASS'Y,(FOR TILT AND TILT-PITCH) | 1 | SN: 50001- |
|||
| ? | THIS ASSEMBLY CONSISTS OF ALL PARTS SHOWN IN FIGS.6011¤6012¤6211 AND 6212. | ||||||
| ? | (144-921-3202) | HYDRAULIC TANK ASS'Y,(FOR AUX. FARMING TOOL) | 1 | SN: 50001- |
|||
| ? | THIS ASSEMBLY CONSISTS OF ALL PARTS SHOWN IN FIGS.6015¤6016¤6211¤6212 AND 6221. | ||||||
| ? | 701-33-12006 | • CONTROL VALVE ASS'Y | 1 | SN: 50001- |
|||
| ? | 701-33-32005 | • • BODY ASS'Y | 1 | SN: 50001- |
|||
| ? | 701-33-00012 | • • • BODY SUB ASS'Y | 1 | SN: 50001- |
|||
| ? | ☆ | • • • • BODY,CONTROL VALVE | 1 | SN: 50001- |
|||
| ? | ☆ | • • • • SPOOL | 1 | SN: 50001- |
|||
| ? | ☆ | • • • • SPOOL | 1 | SN: 50001- |
|||
| ? | ☆ | • • • • COLLAR | 1 | SN: 50001- |
|||
| ? | 701-33-32130 | • • • VALVE,CHECK | 1 | SN: 50001- |
|||
| ? | 701-33-32140 | • • • SPRING | 1 | SN: 50001- |
|||
| ? | 701-33-32152 | • • • SEAT | 1 | SN: 50001- |
|||
| ? | 07000-13025 | • • • O-RING | 1 | SN: 50001- |
|||
| ? | 04020-00514 | • • • PIN,DOWEL | 1 | SN: 50001- |
|||
| ? | 701-33-32160 | • • • PLATE | 1 | SN: 50001- |
|||
| ? | 01010-31240 | • • • BOLT | 2 | SN: 50001- |
|||
| ? | 01602-01236 | • • • WASHER,SPRING | 2 | SN: 50001- |
|||
| ? | 701-33-32450 | • • • SPRING | 1 | SN: 50001- |
|||
| ? | 701-33-31370 | • • • RETAINER | 2 | SN: 50001- |
|||
| ? | 701-33-31210 | • • • WASHER | 1 | SN: 50001- |
|||
| ? | 01010-31220 | • • • BOLT | 1 | SN: 50001- |
|||
| ? | 01602-01236 | • • • WASHER,SPRING | 1 | SN: 50001- |
|||
| ? | 701-33-46340 | • • • PLATE | 1 | SN: 50001- |
|||
| ? | 701-33-31460 | • • • COLLAR | 2 | SN: 50001- |
|||
| ? | 01010-31095 | • • • BOLT | 2 | SN: 50001- |
|||
| ? | 01602-01030 | • • • WASHER,SPRING | 2 | SN: 50001- |
|||
| ? | 701-33-31120 | • • • VALVE,CHECK | 1 | SN: 50001- |
|||
| ? | 701-33-31130 | • • • SPRING | 1 | SN: 50001- |
|||
| ? | 701-33-31150 | • • • SEAT | 1 | SN: 50001- |
|||
| ? | 07000-13035 | • • • O-RING | 1 | SN: 50001- |
|||
| ? | 701-33-31160 | • • • PLATE | 1 | SN: 50001- |
|||
| ? | 01010-31235 | • • • BOLT | 2 | SN: 50001- |
|||
| ? | 01602-01236 | • • • WASHER,SPRING | 2 | SN: 50001- |
|||
| ? | 701-31-31121 | • • • DETENT | 1 | SN: 50001- |
|||
| ? | 701-33-31130 | • • • SPRING | 1 | SN: 50001- |
|||
| ? | 701-33-31380 | • • • RETAINER | 1 | SN: 50001- |
|||
| ? | 701-33-31390 | • • • RETAINER | 1 | SN: 50001- |
|||
| ? | 701-33-31281 | • • • COLLAR | 1 | SN: 50001- |
|||
| ? | 701-33-31292 | • • • BOLT | 1 | SN: 50001- |
|||
| ? | 01602-01236 | • • • WASHER,SPRING | 1 | SN: 50001- |
|||
| ? | 701-33-31311 | • • • CASE | 1 | SN: 50001- |
|||
| ? | 701-33-31320 | • • • BALL | 3 | SN: 50001- |
|||
| ? | 701-33-31330 | • • • GUIDE | 3 | SN: 50001- |
|||
| ? | 701-33-31340 | • • • SPRING | 3 | SN: 50001- |
|||
| ? | 701-33-31350 | • • • PLUG | 3 | SN: 50001- |
|||
| ? | 01010-31030 | • • • BOLT | 2 | SN: 50001- |
|||
| ? | 01602-01030 | • • • WASHER,SPRING | 2 | SN: 50001- |
|||
| ? | 07000-13045 | • • • O-RING | 3 | SN: 50001- |
|||
| ? | 07000-13035 | • • • O-RING | 6 | SN: 50001- |
|||
| ? | 07000-02015 | • • • O-RING | 23 | SN: 50001- |
|||
| ? | 701-33-31360 | • • PLATE | 1 | SN: 50001- |
|||
| ? | 07000-13040 | • • O-RING | 1 | SN: 50001- |
|||
| ? | 01010-31440 | • • BOLT | 2 | SN: 50001- |
|||
| ? | 01602-01442 | • • WASHER,SPRING | 2 | SN: 50001- |
|||
| ? | 701-33-32191 | • • PLATE | 1 | SN: 50001- |
|||
| ? | 701-33-32240 | • • BAFFLE | 1 | SN: 50001- |
|||
| ? | 01010-31260 | • • BOLT | 4 | SN: 50001- |
|||
| ? | 01602-01236 | • • WASHER,SPRING | 4 | SN: 50001- |
|||
| ? | (701-30-51002) | • • VALVE ASS'Y,(SEE FIG.6212) | 1 | SN: 50001- |
|||
| ? | (701-30-62002) | • • VALVE ASS'Y,(SEE FIG.6212) | 1 | SN: 50001- |
