| Номер на схеме | Каталожный номер | Название | Количество | Детали | |||
|---|---|---|---|---|---|---|---|
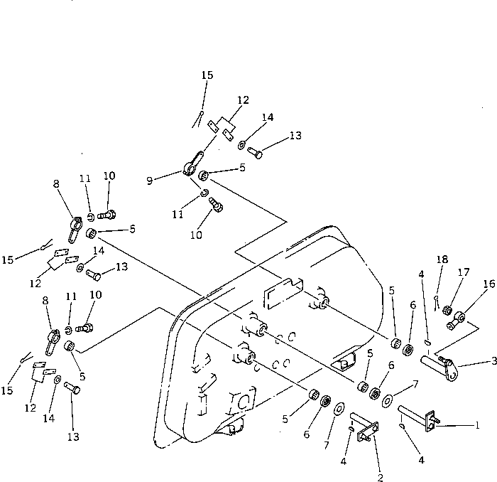
| ? | (144-921-3202) | HYDRAULIC TANK ASS'Y | 1 | SN: 50001- |
|||
| ? | THIS ASSEMBLY CONSISTS OF ALL PARTS SHOWN IN FIGS.6015¤6016¤6211¤6212 AND 6221. | ||||||
| ? | 144-60-21140 | • LEVER | 1 | SN: 50001- |
|||
| ? | 144-Z20-6121 | • LEVER | 1 | SN: 50001- |
|||
| ? | 144-78-14310 | • LEVER | 1 | SN: 50001- |
|||
| ? | 04010-00519 | • KEY | 3 | SN: 50001- |
|||
| ? | 06120-02016 | • BEARING,NEEDLE | 6 | SN: 50001- |
|||
| ? | 130-09-11450 | • SEAL,OIL | 3 | SN: 50001- |
|||
| ? | 130-60-43150 | • PLATE | 2 | SN: 50001- |
|||
| ? | 141-60-33270 | • LEVER | 2 | SN: 50001- |
|||
| ? | 144-850-7280 | • LEVER | 1 | SN: 50001- |
|||
| ? | 01010-30830 | • BOLT | 3 | SN: 50001- |
|||
| ? | 01602-00825 | • WASHER,SPRING | 3 | SN: 50001- |
|||
| ? | 141-60-32170 | • YOKE | 6 | SN: 50001- |
|||
| ? | 04205-01028 | • PIN | 6 | SN: 50001- |
|||
| ? | 01641-01016 | • WASHER | 6 | SN: 50001- |
|||
| ? | 04050-03015 | • PIN,COTTER | 6 | SN: 50001- |
|||
| ? | 04250-41056 | • END,ROD | 1 | SN: 50001- |
|||
| ? | 01593-11008 | • NUT | 1 | SN: 50001- |
|||
| ? | 04050-12018 | • PIN,COTTER | 1 | SN: 50001- |
