| Номер на схеме | Каталожный номер | Название | Количество | Детали | |||
|---|---|---|---|---|---|---|---|
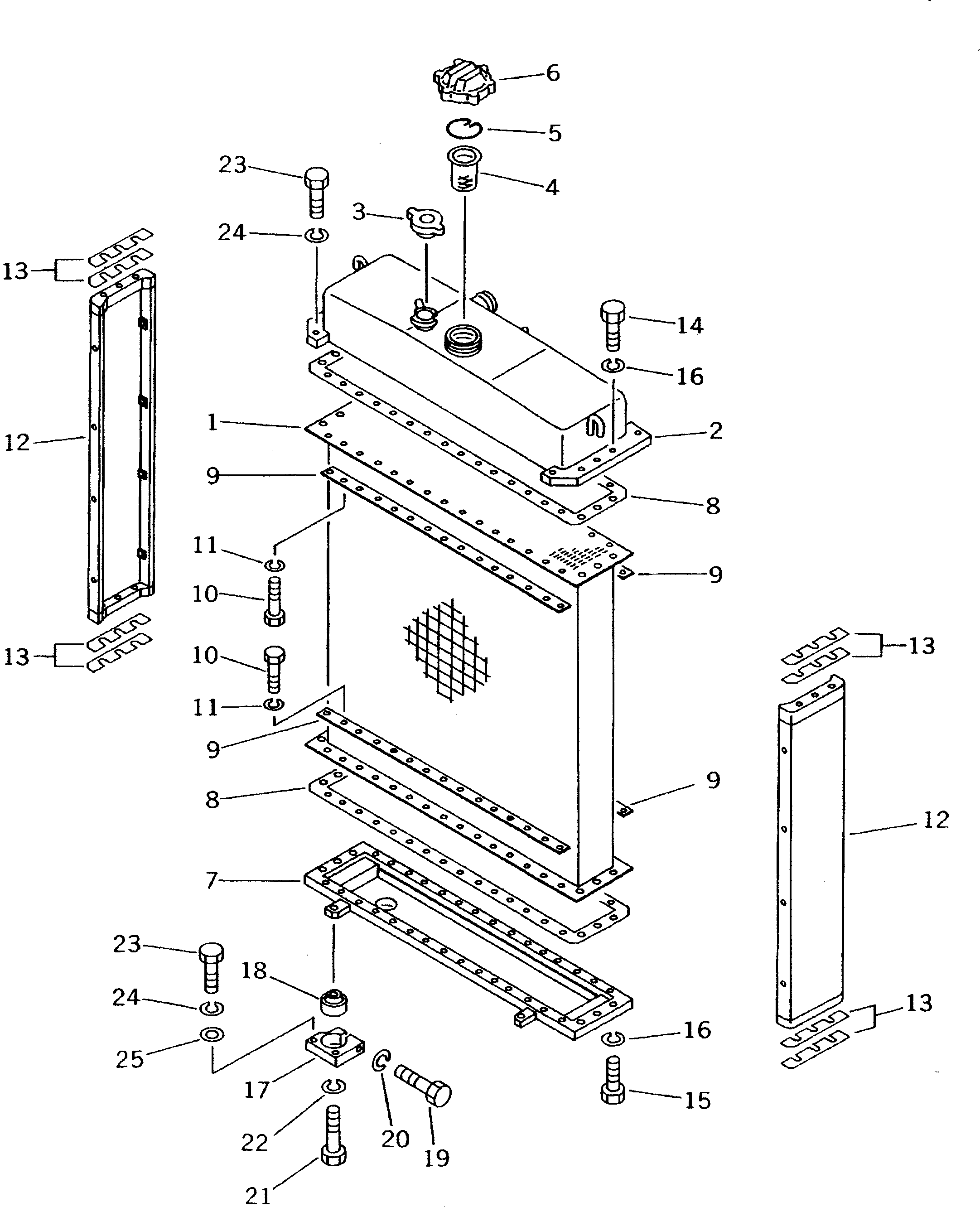
| ? | 130-03-00500 | RADIATOR ASS'Y | 1 | SN: 83001- |
|||
| ? | 130-03-81120 | • CORE | 1 | SN: 83001- |
|||
| ? | 130-03-81110 | • TANK,UPPER | 1 | SN: 83001- |
|||
| ? | 125-03-21210 | • CAP | 1 | SN: 83001- |
|||
| ? | 07056-00048 | • STRAINER | 1 | SN: 83001- |
|||
| ? | 07057-03271 | • RING,SNAP | 1 | SN: 83001- |
|||
| ? | 07053-10000 | • CAP | 1 | SN: 83001- |
|||
| ? | 07053-00002 | • • GASKET | 1 | SN: 83001- |
|||
| ? | 130-03-81130 | • TANK,LOWER | 1 | SN: 83001- |
|||
| ? | 130-03-71141 | • GASKET | 2 | SN: 83880- |
|||
| ? | 130-03-71140 | • GASKET | 2 | SN: 83001-83879 |
|||
| ? | 134-03-21150 | • PLATE | 4 | SN: 83001- |
|||
| ? | 01010-81020 | • BOLT | 60 | SN: 83001- |
|||
| ? | 01602-21030 | • WASHER,SPRING | 60 | SN: 83001- |
|||
| ? | 130-03-81150 | • SUPPORT | 2 | SN: 83001- |
|||
| ? | 130-03-05010 | • SHIM KIT | 2 | SN: 83001- |
|||
| ? | ☆ | • • SHIM¤ 0.5MM | 4 | SN: 83001- |
|||
| ? | ☆ | • • SHIM¤ 0.2MM | 4 | SN: 83001- |
|||
| ? | 01010-81245 | • BOLT | 6 | SN: 83001- |
|||
| ? | 01010-81240 | • BOLT | 6 | SN: 83001- |
|||
| ? | 01602-21236 | • WASHER,SPRING | 12 | SN: 83001- |
|||
| ? | 130-03-71370 | BRACKET | 2 | SN: 83001- |
|||
| ? | 135-03-12110 | DAMPER | 2 | SN: 83001- |
|||
| ? | 01010-81280 | BOLT | 2 | SN: 83001- |
|||
| ? | 01602-21236 | WASHER,SPRING | 2 | SN: 83001- |
|||
| ? | 01010-81460 | BOLT | 2 | SN: 83001- |
|||
| ? | 01602-21442 | WASHER,SPRING | 2 | SN: 83001- |
|||
| ? | 01010-81245 | BOLT | 8 | SN: 83001- |
|||
| ? | 01602-21236 | WASHER,SPRING | 8 | SN: 83001- |
|||
| ? | 01643-31232 | WASHER | 4 | SN: 83001- |
