| Номер на схеме | Каталожный номер | Название | Количество | Детали | |||
|---|---|---|---|---|---|---|---|
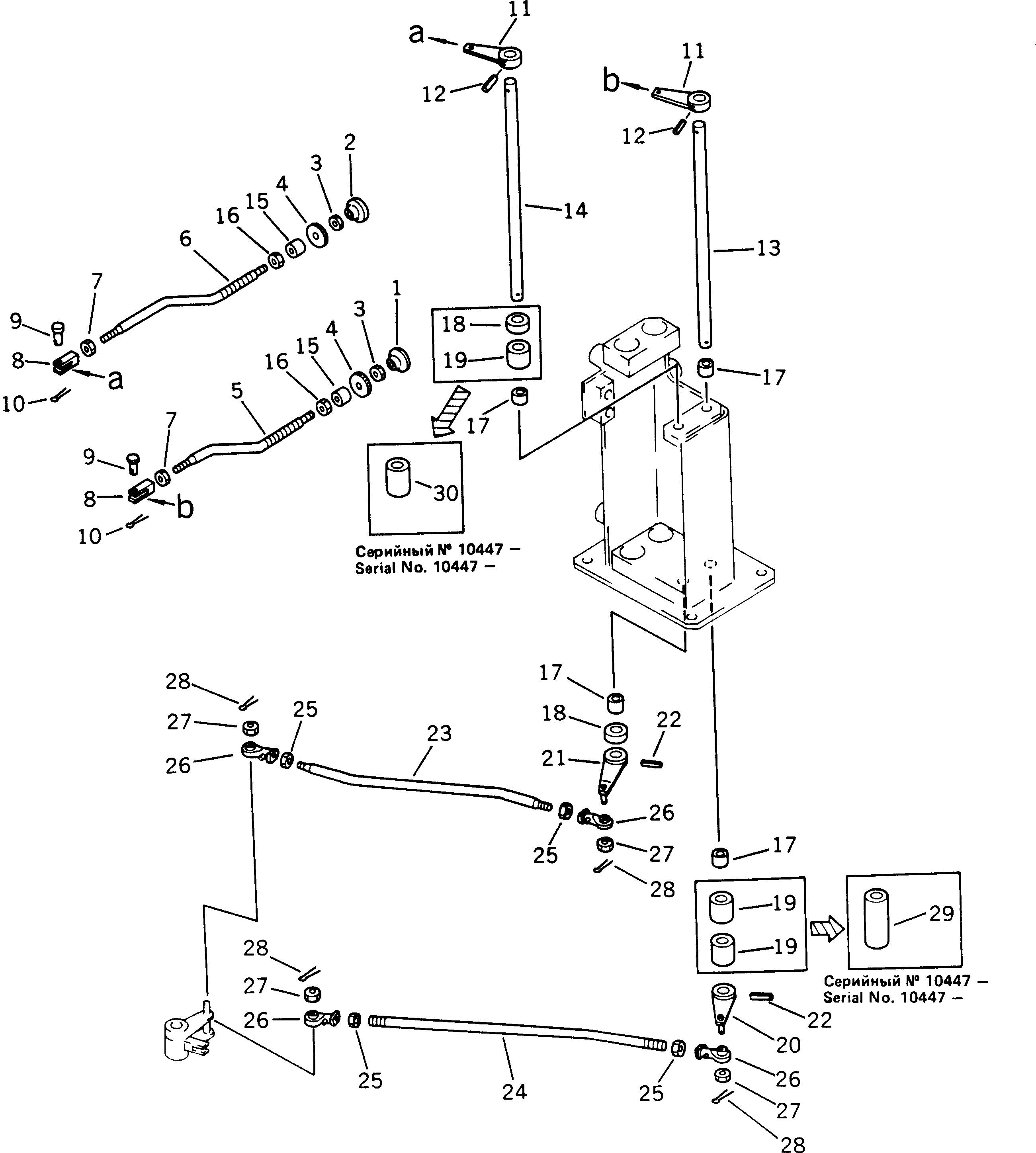
| ? | 170-43-17110 | BUTTON | 1 | SN: 3301- |
|||
| ? | 170-43-17120 | BUTTON | 1 | SN: 3301- |
|||
| ? | 01580-10605 | NUT | 2 | SN: 9001- |
|||
| ? | 175-43-39320 | RING | 2 | SN: 3301- |
|||
| ? | 195-43-22371 | ROD | 1 | SN: 4401- |
|||
| ? | 195-43-22332 | ROD | 1 | SN: 4001- |
|||
| ? | 01580-10605 | NUT | 2 | SN: 9001- |
|||
| ? | 04211-20634 | YOKE | 2 | SN: 9001- |
|||
| ? | 04205-10618 | PIN | 2 | SN: 9001- |
|||
| ? | 04050-11610 | PIN | 2 | SN: 9001- |
|||
| ? | 195-43-22310 | LEVER | 2 | SN: 3301- |
|||
| ? | 04025-00332 | PIN | 2 | SN: 3301- |
|||
| ? | 195-43-22362 | SHAFT | 1 | SN: 9001- |
|||
| ? | 195-43-22292 | SHAFT | 1 | SN: 9001- |
|||
| ? | 01572-21012 | SEAT | 2 | SN: 4001- |
|||
| ? | 01580-11008 | NUT | 2 | SN: 9001- |
|||
| ? | 195-61-34120 | BEARING | 4 | SN: 9001- |
|||
| ? | 195-43-22320 | SPACER | 1 | SN: 10447- |
|||
| ? | 195-43-22320 | SPACER | 2 | SN: 3301-10446 |
|||
| ? | 195-43-17350 | SPACER | 3 | SN: 3301-10446 |
|||
| ? | 195-43-22350 | LEVER | 1 | SN: 3301- |
|||
| ? | 195-43-22280 | LEVER | 1 | SN: 3301- |
|||
| ? | 04025-00332 | PIN | 2 | SN: 3301- |
|||
| ? | 195-43-22271 | ROD | 1 | SN: 3301- |
|||
| ? | 195-43-22340 | ROD | 1 | SN: 3301- |
|||
| ? | 01580-10605 | NUT | 4 | SN: 9001- |
|||
| ? | 04250-40639 | END | 4 | SN: 3301- |
|||
| ? | 01590-10607 | NUT | 4 | SN: 9001- |
|||
| ? | 04050-11212 | PIN | 4 | SN: 9001- |
|||
| ? | 195-43-22820 | SPACER | 1 | SN: 10447- |
|||
| ? | 195-43-31871 | SPACER | 1 | SN: 10447- |
