| Номер на схеме | Каталожный номер | Название | Количество | Детали | |||
|---|---|---|---|---|---|---|---|
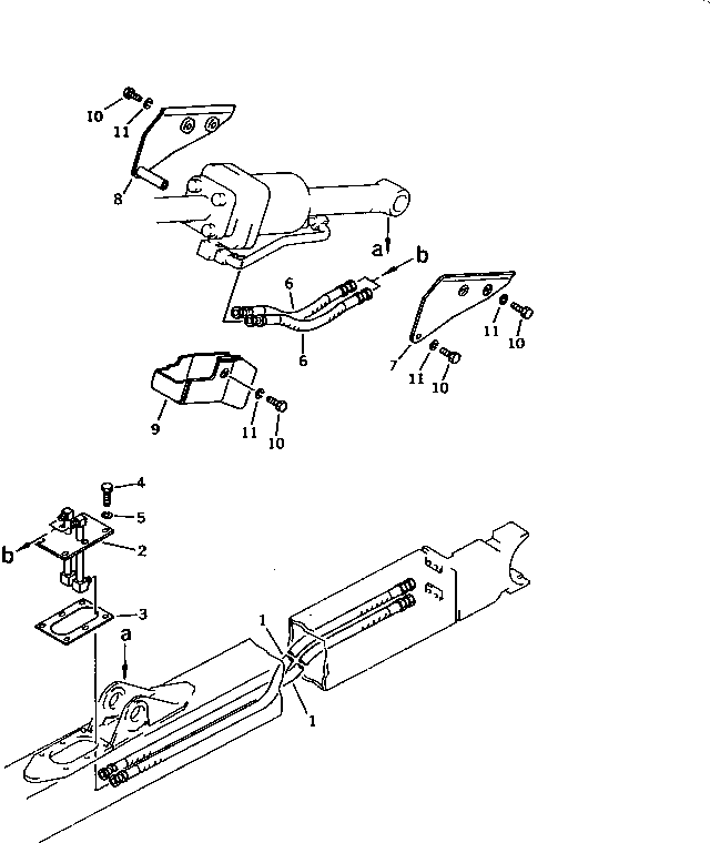
| ? | 134-62-31170 | HOSE | 2 | SN: 80888- KIT-FLAG: _- SERIALNO: 80888- |
|||
| ? | 13F-62-21160 | BRACKET | 1 | SN: 80888- KIT-FLAG: _- SERIALNO: 80888- |
|||
| ? | 13F-62-21181 | GASKET | 1 | SN: 82145- KIT-FLAG: _- SERIALNO: 82145- |
|||
| ? | □13F-62-21180 | GASKET | 1 | SN: 80888-82144 KIT-FLAG: _- SERIALNO: 80888-82144 |
|||
| ? | 01010-81230 | BOLT | 6 | SN: 80888- KIT-FLAG: _- SERIALNO: 80888- |
|||
| ? | 01602-21236 | WASHER,SPRING | 6 | SN: 80888- KIT-FLAG: _- SERIALNO: 80888- |
|||
| ? | 07113-00305 | HOSE | 2 | SN: 80888- KIT-FLAG: _- SERIALNO: 80888- |
|||
| ? | 13F-62-21120 | COVER | 1 | SN: 80888- KIT-FLAG: _- SERIALNO: 80888- |
|||
| ? | 13F-62-21130 | COVER | 1 | SN: 80888- KIT-FLAG: _- SERIALNO: 80888- |
|||
| ? | 13F-62-21140 | COVER | 1 | SN: 80888- KIT-FLAG: _- SERIALNO: 80888- |
|||
| ? | 01010-81225 | BOLT | 7 | SN: 80888- KIT-FLAG: _- SERIALNO: 80888- |
|||
| ? | 01602-21236 | WASHER,SPRING | 7 | SN: 80888- KIT-FLAG: _- SERIALNO: 80888- |
