| Номер на схеме | Каталожный номер | Название | Количество | Детали | |||
|---|---|---|---|---|---|---|---|
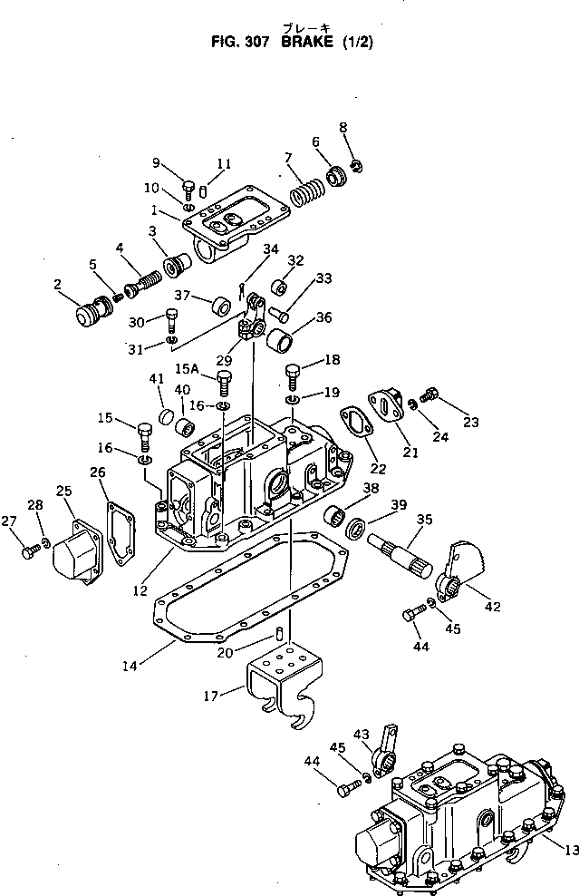
| ? | 144-33-21410 | COVER | 2 | SN: 45001- KIT-FLAG: _- SERIALNO: 45001- |
|||
| ? | 144-33-21420 | PISTON | 2 | SN: 45001- KIT-FLAG: _- SERIALNO: 45001- |
|||
| ? | 144-33-21430 | BUSHING | 2 | SN: 45001- KIT-FLAG: _- SERIALNO: 45001- |
|||
| ? | 144-33-21440 | SPOOL | 2 | SN: 45001- KIT-FLAG: _- SERIALNO: 45001- |
|||
| ? | 07043-00108 | PLUG | 2 | SN: 45001- KIT-FLAG: _- SERIALNO: 45001- |
|||
| ? | 175-33-31310 | RETAINER | 2 | SN: 45001- KIT-FLAG: _- SERIALNO: 45001- |
|||
| ? | 170-33-13370 | SPRING | 2 | SN: 45001- KIT-FLAG: _- SERIALNO: 45001- |
|||
| ? | 04064-02512 | RING,SNAP | 2 | SN: 45001- KIT-FLAG: _- SERIALNO: 45001- |
|||
| ? | 01010-51230 | BOLT | 12 | SN: 45001- KIT-FLAG: _- SERIALNO: 45001- |
|||
| ? | 01602-21236 | WASHER,SPRING | 12 | SN: 45001- KIT-FLAG: _- SERIALNO: 45001- |
|||
| ? | 04020-01228 | PIN | 4 | SN: 45001- KIT-FLAG: _- SERIALNO: 45001- |
|||
| ? | 144-33-21120 | COVER,R.H. | 1 | SN: 45001- KIT-FLAG: _- SERIALNO: 45001- |
|||
| ? | 144-33-21110 | COVER,L.H. | 1 | SN: 45001- KIT-FLAG: _- SERIALNO: 45001- |
|||
| ? | 144-33-21340 | GASKET (K3) | 2 | SN: 45001- KIT-FLAG: _- SERIALNO: 45001- |
|||
| ? | 01010-51455 | BOLT | 28 | SN: 45001- KIT-FLAG: _- SERIALNO: 45001- |
|||
| ? | 01010-51445 | BOLT | 2 | SN: 45001- KIT-FLAG: _- SERIALNO: 45001- |
|||
| ? | 01602-21442 | WASHER,SPRING | 30 | SN: 45001- KIT-FLAG: _- SERIALNO: 45001- |
|||
| ? | 144-33-21170 | ANCHOR | 2 | SN: 45001- KIT-FLAG: _- SERIALNO: 45001- |
|||
| ? | 01010-51645 | BOLT | 8 | SN: 45001- KIT-FLAG: _- SERIALNO: 45001- |
|||
| ? | 01643-31645 | WASHER | 8 | SN: 45001- KIT-FLAG: _- SERIALNO: 45001- |
|||
| ? | 04020-01228 | PIN | 4 | SN: 45001- KIT-FLAG: _- SERIALNO: 45001- |
|||
| ? | 145-33-51160 | COVER | 2 | SN: 45001- KIT-FLAG: _- SERIALNO: 45001- |
|||
| ? | 144-33-21140 | GASKET (K3) | 2 | SN: 45001- KIT-FLAG: _- SERIALNO: 45001- |
|||
| ? | 01010-51225 | BOLT | 4 | SN: 45001- KIT-FLAG: _- SERIALNO: 45001- |
|||
| ? | 01602-21236 | WASHER,SPRING | 4 | SN: 45001- KIT-FLAG: _- SERIALNO: 45001- |
|||
| ? | 144-33-21150 | COVER | 2 | SN: 45001- KIT-FLAG: _- SERIALNO: 45001- |
|||
| ? | 144-33-21160 | GASKET (K3) | 2 | SN: 45001- KIT-FLAG: _- SERIALNO: 45001- |
|||
| ? | 01010-51025 | BOLT | 10 | SN: 45001- KIT-FLAG: _- SERIALNO: 45001- |
|||
| ? | 01602-21030 | WASHER,SPRING | 10 | SN: 45001- KIT-FLAG: _- SERIALNO: 45001- |
|||
| ? | 144-33-21270 | LEVER | 2 | SN: 45001- KIT-FLAG: _- SERIALNO: 45001- |
|||
| ? | 01010-51245 | BOLT | 2 | SN: 45001- KIT-FLAG: _- SERIALNO: 45001- |
|||
| ? | 01602-21236 | WASHER,SPRING | 2 | SN: 45001- KIT-FLAG: _- SERIALNO: 45001- |
|||
| ? | 170-33-13330 | ROLLER | 2 | SN: 45001- KIT-FLAG: _- SERIALNO: 45001- |
|||
| ? | 04205-01645 | PIN | 2 | SN: 45001- KIT-FLAG: _- SERIALNO: 45001- |
|||
| ? | 04050-24028 | PIN,COTTER (K3) | 2 | SN: 45001- KIT-FLAG: _- SERIALNO: 45001- |
|||
| ? | 145-33-51140 | SHAFT | 2 | SN: 45001- KIT-FLAG: _- SERIALNO: 45001- |
|||
| ? | 145-33-51150 | COLLAR | 2 | SN: 45001- KIT-FLAG: _- SERIALNO: 45001- |
|||
| ? | 130-33-62230 | COLLAR | 2 | SN: 45001- KIT-FLAG: _- SERIALNO: 45001- |
|||
| ? | 06120-03520 | BEARING | 2 | SN: 45001- KIT-FLAG: _- SERIALNO: 45001- |
|||
| ? | 07012-00035 | SEAL,OIL (K3) | 2 | SN: 45001- KIT-FLAG: _- SERIALNO: 45001- |
|||
| ? | 06120-02520 | BEARING | 2 | SN: 45001- KIT-FLAG: _- SERIALNO: 45001- |
|||
| ? | 07046-23016 | PLUG | 2 | SN: 45001- KIT-FLAG: _- SERIALNO: 45001- |
|||
| ? | 144-43-31332 | LEVER,R.H. | 1 | SN: 45001- KIT-FLAG: _- SERIALNO: 45001- |
|||
| ? | 144-43-31321 | LEVER,L.H. | 1 | SN: 45001- KIT-FLAG: _- SERIALNO: 45001- |
|||
| ? | 01010-51245 | BOLT | 2 | SN: 45001- KIT-FLAG: _- SERIALNO: 45001- |
|||
| ? | 01602-21236 | WASHER,SPRING | 2 | SN: 45001- KIT-FLAG: _- SERIALNO: 45001- |
