| Номер на схеме | Каталожный номер | Название | Количество | Детали | |||
|---|---|---|---|---|---|---|---|
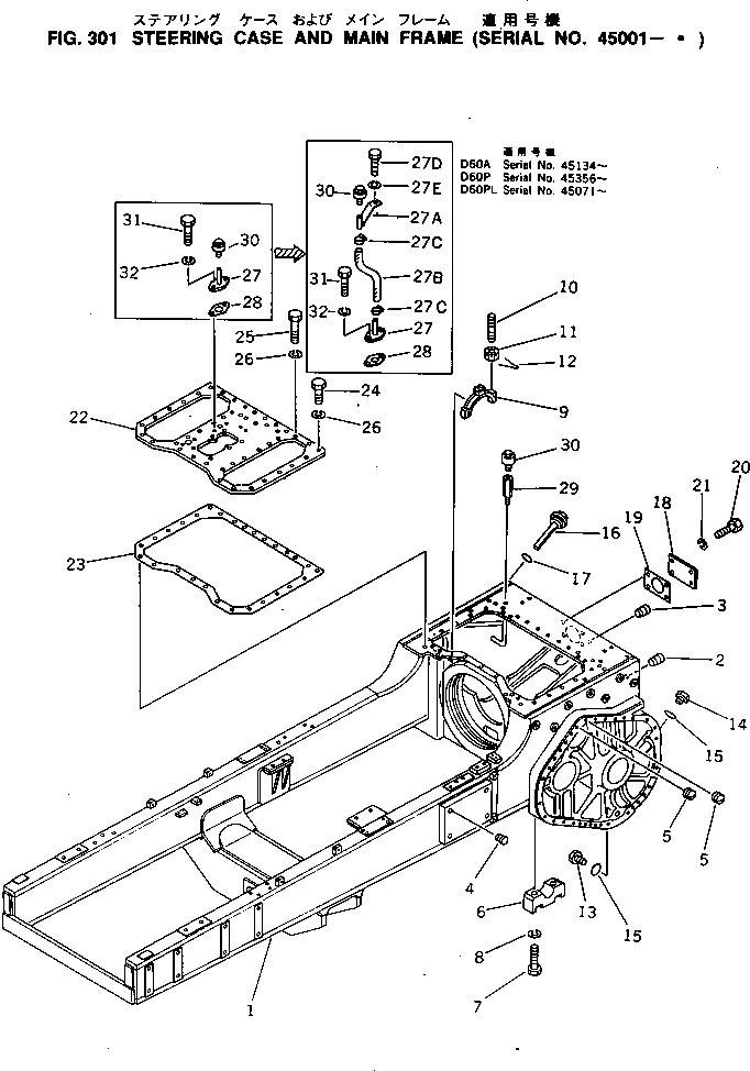
| ? | 144-21-00401 | MAIN FRAME ASS'Y | 1 | SN: 45134-. KIT-FLAG: _- SERIALNO: 45134-. |
|||
| ? | 144-21-00400 | MAIN FRAME ASS'Y | 1 | SN: 45001-45133 KIT-FLAG: _- SERIALNO: 45001-45133 |
|||
| ? | 144-21-51300 | • CASE AND FRAME | 1 | SN: 45134-. KIT-FLAG: _- SERIALNO: 45134-. |
|||
| ? | ▩144-21-51110 | • CASE AND FRAME | 1 | SN: 45001-45133 KIT-FLAG: _- SERIALNO: 45001-45133 |
|||
| ? | 07049-03342 | • PLUG | 6 | SN: 45001-@ KIT-FLAG: _- SERIALNO: 45001-@ |
|||
| ? | 07049-02430 | • PLUG | 9 | SN: 45001-@ KIT-FLAG: _- SERIALNO: 45001-@ |
|||
| ? | 07049-02025 | • PLUG | 8 | SN: 45001-@ KIT-FLAG: _- SERIALNO: 45001-@ |
|||
| ? | 131-21-41520 | • PLUG | 4 | SN: 45001-@ KIT-FLAG: _- SERIALNO: 45001-@ |
|||
| ? | 141-21-31330 | CAP | 4 | SN: 45001-@ KIT-FLAG: _- SERIALNO: 45001-@ |
|||
| ? | 01010-52295 | BOLT | 8 | SN: 45001-@ KIT-FLAG: _- SERIALNO: 45001-@ |
|||
| ? | 01602-22268 | WASHER,SPRING | 8 | SN: 45001-@ KIT-FLAG: _- SERIALNO: 45001-@ |
|||
| ? | 144-21-12190 | CAP | 2 | SN: 45001-@ KIT-FLAG: _- SERIALNO: 45001-@ |
|||
| ? | 01123-62200 | STUD | 4 | SN: 45001-@ KIT-FLAG: _- SERIALNO: 45001-@ |
|||
| ? | 01592-02226 | NUT | 4 | SN: 45001-@ KIT-FLAG: _- SERIALNO: 45001-@ |
|||
| ? | 04050-15040 | PIN,COTTER | 4 | SN: 45001-@ KIT-FLAG: _- SERIALNO: 45001-@ |
|||
| ? | 07044-13620 | PLUG | 4 | SN: 45001-@ KIT-FLAG: _- SERIALNO: 45001-@ |
|||
| ? | 07040-13618 | PLUG | 2 | SN: 45001-@ KIT-FLAG: _- SERIALNO: 45001-@ |
|||
| ? | 07002-03634 | O-RING | 6 | SN: 45001-@ KIT-FLAG: _- SERIALNO: 45001-@ |
|||
| ? | 144-21-51380 | GAUGE | 1 | SN: 45134-@ KIT-FLAG: _- SERIALNO: 45134-@ |
|||
| ? | 144-21-11252 | GAUGE | 1 | SN: 45001-45133 KIT-FLAG: _- SERIALNO: 45001-45133 |
|||
| ? | 07000-03038 | O-RING | 1 | SN: 45001-@ KIT-FLAG: _- SERIALNO: 45001-@ |
|||
| ? | 144-21-11950 | PLATE | 1 | SN: 45001-@ KIT-FLAG: _- SERIALNO: 45001-@ |
|||
| ? | 144-21-11960 | GASKET | 1 | SN: 45001-@ KIT-FLAG: _- SERIALNO: 45001-@ |
|||
| ? | 01010-51635 | BOLT | 4 | SN: 45001-@ KIT-FLAG: _- SERIALNO: 45001-@ |
|||
| ? | 01602-21648 | WASHER,SPRING | 4 | SN: 45001-@ KIT-FLAG: _- SERIALNO: 45001-@ |
|||
| ? | 144-21-11970 | COVER | 1 | SN: 45001-@ KIT-FLAG: _- SERIALNO: 45001-@ |
|||
| ? | 144-21-11421 | GASKET | 1 | SN: 45001-@ KIT-FLAG: _- SERIALNO: 45001-@ |
|||
| ? | 01010-51435 | BOLT | 5 | SN: 45001-@ KIT-FLAG: _- SERIALNO: 45001-@ |
|||
| ? | 01010-51445 | BOLT | 5 | SN: 45001-@ KIT-FLAG: _- SERIALNO: 45001-@ |
|||
| ? | 01602-21442 | WASHER,SPRING | 10 | SN: 45001-@ KIT-FLAG: _- SERIALNO: 45001-@ |
|||
| ? | 144-21-11981 | FLANGE | 1 | SN: 45582-@ KIT-FLAG: _- SERIALNO: 45582-@ |
|||
| ? | 144-21-11980 | FLANGE | 1 | SN: 45001-45581 KIT-FLAG: _- SERIALNO: 45001-45581 |
|||
| ? | 144-21-51210 | EXTENSION | 1 | SN: 45134-@ KIT-FLAG: _- SERIALNO: 45134-@ |
|||
| ? | 144-21-51220 | HOSE | 1 | SN: 45134-@ KIT-FLAG: _- SERIALNO: 45134-@ |
|||
| ? | 07281-00289 | CLAMP | 2 | SN: 45134-@ KIT-FLAG: _- SERIALNO: 45134-@ |
|||
| ? | 01010-51020 | BOLT | 1 | SN: 45134-@ KIT-FLAG: _- SERIALNO: 45134-@ |
|||
| ? | 01602-21030 | WASHER,SPRING | 1 | SN: 45134-@ KIT-FLAG: _- SERIALNO: 45134-@ |
|||
| ? | 135-43-31160 | GASKET | 1 | SN: 45001-@ KIT-FLAG: _- SERIALNO: 45001-@ |
|||
| ? | 154-21-11830 | NIPPLE | 2 | SN: 45001-@ KIT-FLAG: _- SERIALNO: 45001-@ |
|||
| ? | 07030-00252 | BREATHER | 3 | SN: 45001-@ KIT-FLAG: _- SERIALNO: 45001-@ |
|||
| ? | 01010-51025 | BOLT | 2 | SN: 45001-@ KIT-FLAG: _- SERIALNO: 45001-@ |
|||
| ? | 01602-21030 | WASHER,SPRING | 2 | SN: 45001-@ KIT-FLAG: _- SERIALNO: 45001-@ |
