| Номер на схеме | Каталожный номер | Название | Количество | Детали | |||
|---|---|---|---|---|---|---|---|
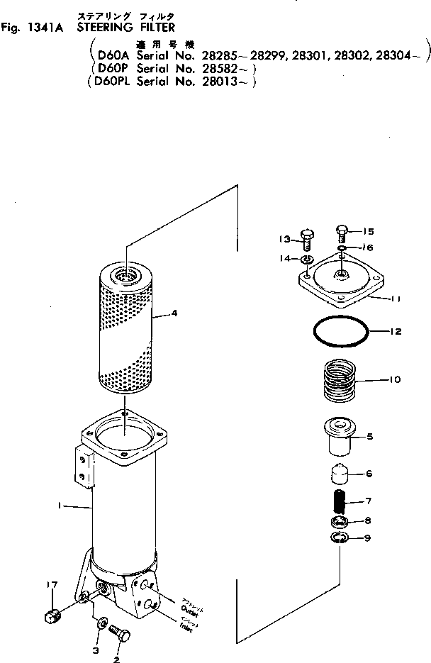
| ? | 145-49-00032 | FILTER ASS'Y | 1 | SN: 28013- |
|||
| ? | 145-49-00032 | FILTER ASS'Y | 1 | SN: 20000-20000 |
|||
| ? | 145-49-32411 | • CASE | 1 | SN: 20006- |
|||
| ? | 01010-51235 | • BOLT | 3 | SN: 20006- |
|||
| ? | 01602-21236 | • WASHER | 3 | SN: 20006- |
|||
| ? | 281-16-11290 | • ELEMENT | 1 | SN: 28013- |
|||
| ? | 281-16-11290 | • ELEMENT | 1 | SN: 20000-20000 |
|||
| ? | 141-49-33990 | • CAGE | 1 | SN: 28013- |
|||
| ? | 141-49-33990 | • CAGE | 1 | SN: 20000-20000 |
|||
| ? | 141-49-33980 | • SLEEVE | 1 | SN: 28013- |
|||
| ? | 141-49-33980 | • SLEEVE | 1 | SN: 20000-20000 |
|||
| ? | 141-49-36172 | • SPRING | 1 | SN: 28013- |
|||
| ? | 141-49-36172 | • SPRING | 1 | SN: 20000-20000 |
|||
| ? | 141-49-33970 | • PLATE | 1 | SN: 28013- |
|||
| ? | 141-49-33970 | • PLATE | 1 | SN: 20000-20000 |
|||
| ? | 04065-03012 | • RING | 1 | SN: 28013- |
|||
| ? | 04065-03012 | • RING | 1 | SN: 20000-20000 |
|||
| ? | 6003200-4-40 | • SPRING | 1 | SN: 20006- |
|||
| ? | 145-49-12430 | • COVER | 1 | SN: 20006- |
|||
| ? | 07000-03098 | • O-RING | 1 | SN: 20006- |
|||
| ? | 01010-31230 | • BOLT | 4 | SN: 20006- |
|||
| ? | 01602-01236 | • WASHER | 4 | SN: 20006- |
|||
| ? | 145-49-12440 | • BOLT | 1 | SN: 22388- |
|||
| ? | 07000-02010 | • O-RING | 1 | SN: 20006- |
|||
| ? | 07042-00415 | • PLUG | 1 | SN: 20006- |
