| Номер на схеме | Каталожный номер | Название | Количество | Детали | |||
|---|---|---|---|---|---|---|---|
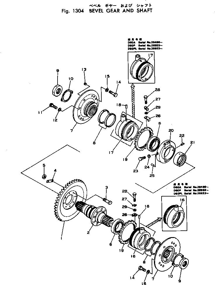
| ? | 141-21-32112 | GEAR | 1 | SN: 20024- |
|||
| ? | 141-21-32111 | GEAR | 1 | SN: 20006-20021 |
|||
| ? | 144-21-12142 | SHAFT | 1 | SN: 20054- |
|||
| ? | ▩144-21-12141 | SHAFT | 1 | SN: 20032-20053 |
|||
| ? | (144-21-12142{144-21-12413(2))} | ||||||
| ? | ▩144-21-12140 | SHAFT | 1 | SN: 20006-20031 |
|||
| ? | (144-21-12142{144-21-12413(2))} | ||||||
| ? | 144-21-12150 | BOLT | 8 | SN: 20006- |
|||
| ? | 144-21-12170 | PLATE | 4 | SN: 22027- |
|||
| ? | 145-21-32160 | PLATE | 4 | SN: 20006-22021 |
|||
| ? | 01582-01815 | NUT | 8 | SN: 22388- |
|||
| ? | □01500-31816 | NUT | 8 | SN: 20006-22387 |
|||
| ? | 144-874-6640 | BEARING | 1 | SN: 31001- |
|||
| ? | □06000-32215 | BEARING | 2 | SN: 28013-31000 |
|||
| ? | 141-21-32120 | BEARING | 2 | SN: 20006-28012 |
|||
| ? | 144-21-12413 | HUB | 2 | SN: 20054- |
|||
| ? | ▩144-21-21412 | HUB | 2 | SN: 20032-20053 |
|||
| ? | (144-21-12413(2){144-21-12142)} | ||||||
| ? | ▩144-21-12411 | HUB | 2 | SN: 20006-20031 |
|||
| ? | (144-21-12413(2){144-21-12142)} | ||||||
| ? | 144-21-12374 | RING | 4 | SN: 30312- |
|||
| ? | □144-21-12373 | RING | 4 | SN: 30287-30311 |
|||
| ? | □144-21-12372 | RING | 4 | SN: .-30286 |
|||
| ? | □144-21-12371 | RING | 4 | SN: 20024-. |
|||
| ? | 144-21-12370 | RING | 4 | SN: 20006-20021 |
|||
| ? | 130-27-51151 | NUT | 2 | SN: 22388- |
|||
| ? | 130-27-51150 | NUT | 2 | SN: 20006-22387 |
|||
| ? | 144-21-12161 | PLATE | 2 | SN: 20006- |
|||
| ? | 01252-31020 | BOLT | 4 | SN: 20006- |
|||
| ? | 01602-01030 | WASHER | 4 | SN: 20006- |
|||
| ? | 07043-00108 | PLUG | 2 | SN: 20006- |
|||
| ? | 01010-31440 | BOLT | 16 | SN: 22388- |
|||
| ? | □01040-31440 | BOLT | 16 | SN: 20006-22387 |
|||
| ? | 01602-01442 | WASHER | 16 | SN: 20006- |
|||
| ? | 144-21-12431 | CAGE | 1 | SN: .- |
|||
| ? | □144-21-12430 | CAGE | 1 | SN: 28933-. |
|||
| ? | 144-21-12211 | CAGE | 1 | SN: 20006-28932 |
|||
| ? | 144-21-12441 | CAGE | 1 | SN: .- |
|||
| ? | □144-21-12440 | CAGE | 1 | SN: 28933-. |
|||
| ? | 144-21-12221 | CAGE | 1 | SN: 20006-28932 |
|||
| ? | 144-21-12320 | PIN | 2 | SN: 20006- |
|||
| ? | 144-21-12310 | SCREW | 2 | SN: 20006- |
|||
| ? | 144-21-12232 | FLANGE | 1 | SN: 20024- |
|||
| ? | 144-21-12231 | FLANGE | 1 | SN: 20006-20021 |
|||
| ? | 135-21-12240 | BUSHING | 1 | SN: 20006- |
|||
| ? | 144-21-12360 | PIN | 1 | SN: 20006- |
|||
| ? | 01010-31025 | BOLT | 2 | SN: 20006- |
|||
| ? | 01602-01030 | WASHER | 2 | SN: 20006- |
|||
| ? | 04020-01024 | PIN | 1 | SN: 20006- |
|||
| ? | 144-21-12330 | PLATE | 2 | SN: 20006- |
|||
| ? | 144-21-12340 | PLATE | 2 | SN: 20006- |
|||
| ? | 01010-31040 | BOLT | 2 | SN: 20006- |
|||
| ? | 01640-21016 | WASHER | 2 | SN: 20006- |
