| Номер на схеме | Каталожный номер | Название | Количество | Детали | |||
|---|---|---|---|---|---|---|---|
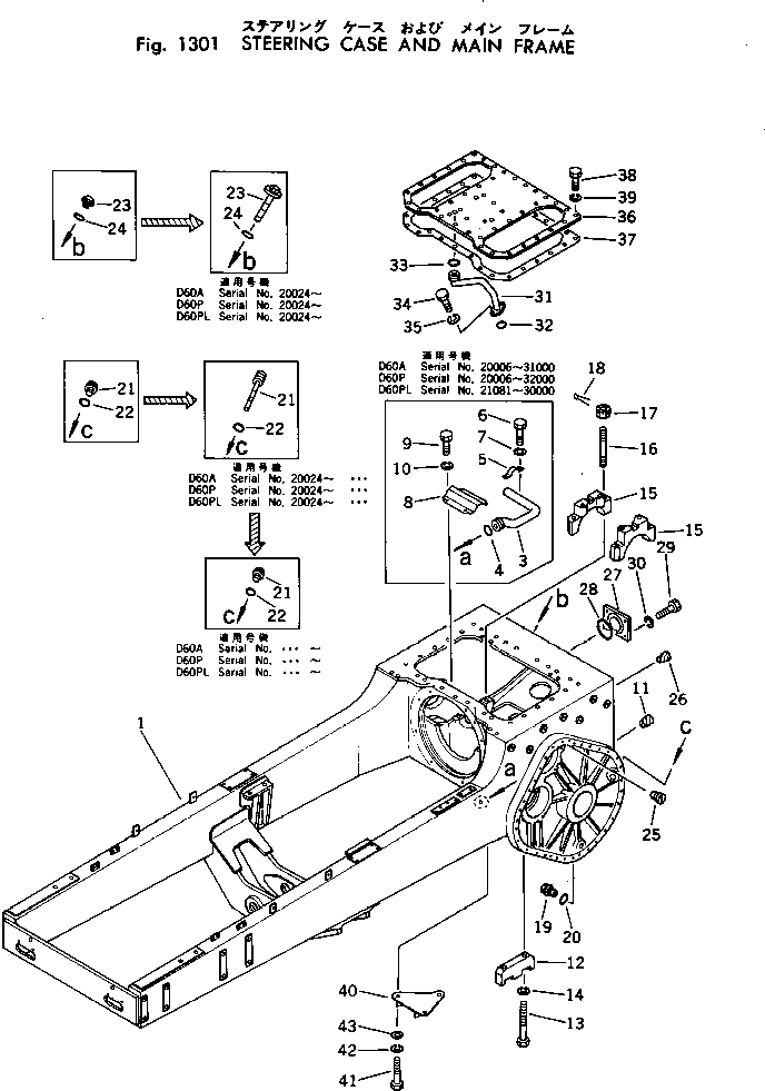
| ? | 14G-21-00023 | MAIN FRAME ASS'Y | 1 | SN: ...- |
|||
| ? | 14G-21-00022 | MAIN FRAME ASS'Y | 1 | SN: 30001-... |
|||
| ? | 14G-21-00021 | MAIN FRAME ASS'Y | 1 | SN: ..-30000 |
|||
| ? | 14G-21-00020 | MAIN FRAME ASS'Y | 1 | SN: .-.. |
|||
| ? | 144-807-0014 | STEERING CASE A | 1 | SN: 23508-. |
|||
| ? | □144-807-0013 | STEERING CASE A | 1 | SN: 20054-23507 |
|||
| ? | 144-807-0012 | MAIN FRAME ASS'Y | 1 | SN: 20032-20053 |
|||
| ? | □144-807-0011 | MAIN FRAME ASS'Y | 1 | SN: 20024-20031 |
|||
| ? | 144-807-0010 | STEERING CASE A | 1 | SN: 20006-20021 |
|||
| ? | 144-807-1203 | • FRAME | 1 | SN: ...- |
|||
| ? | 144-807-1202 | • FRAME | 1 | SN: 30001-... |
|||
| ? | 144-807-1201 | • FRAME | 1 | SN: 30716-30000 |
|||
| ? | □144-807-1200 | • FRAME | 1 | SN: .-30715 |
|||
| ? | 144-807-1109 | • CASE AND FRAME | 1 | SN: ..-... |
|||
| ? | 144-807-1108 | • CASE AND FRAME | 1 | SN: .-.. |
|||
| ? | 144-807-1107 | • CASE AND FRAME | 1 | SN: 20054-. |
|||
| ? | 144-807-1105 | • FRAME | 1 | SN: 20032-20053 |
|||
| ? | □144-807-1104 | • FRAME | 1 | SN: 20024-20031 |
|||
| ? | 144-807-1103 | • CASE AND FRAME | 1 | SN: 20006-20021 |
|||
| ? | 144-21-11230 | • TUBE | 1 | SN: 20006-30000 |
|||
| ? | 07000-03035 | • O-RING | 1 | SN: 20006-30000 |
|||
| ? | 141-21-31260 | • CLIP | 1 | SN: 20006-30000 |
|||
| ? | 01010-31020 | • BOLT | 2 | SN: 20006-30000 |
|||
| ? | 01602-01030 | • WASHER | 2 | SN: 20006-30000 |
|||
| ? | 144-21-11222 | • COVER | 1 | SN: 20024-30000 |
|||
| ? | 144-21-11221 | • COVER | 1 | SN: 20006-20021 |
|||
| ? | 01010-31016 | • BOLT | 4 | SN: 20006-30000 |
|||
| ? | 01602-01030 | • WASHER | 4 | SN: 20006-30000 |
|||
| ? | 07049-03342 | • PLUG | 6 | SN: 20006- |
|||
| ? | 145-21-31171 | • CAP | 4 | SN: 20006- |
|||
| ? | 01010-32295 | • BOLT | 8 | SN: 20006- |
|||
| ? | 01602-02268 | • WASHER | 8 | SN: 20006- |
|||
| ? | 144-21-12191 | • CAP | 2 | SN: 20024- |
|||
| ? | 144-21-12190 | • CAP | 2 | SN: 20006-20021 |
|||
| ? | 01123-62200 | • STUD | 4 | SN: 20006- |
|||
| ? | 01592-02226 | • NUT | 4 | SN: 20006- |
|||
| ? | 04050-05040 | • PIN | 4 | SN: 20006- |
|||
| ? | 07044-13620 | • PLUG | 4 | SN: 22388- |
|||
| ? | 07044-03620 | • PLUG | 4 | SN: 20006-22387 |
|||
| ? | 07000-03032 | • O-RING | 4 | SN: 20006- |
|||
| ? | 07040-13618 | • PLUG | 2 | SN: ...- |
|||
| ? | 144-21-11261 | • GAUGE | 2 | SN: 22388-... |
|||
| ? | 144-21-11260 | • GAUGE | 2 | SN: 20024-22387 |
|||
| ? | 135-27-11150 | • PLUG | 2 | SN: 20006-20021 |
|||
| ? | 07000-03032 | • O-RING | 2 | SN: 20006- |
|||
| ? | 144-21-11252 | • GAUGE | 1 | SN: .- |
|||
| ? | 144-21-11251 | • GAUGE | 1 | SN: 20024-. |
|||
| ? | 135-27-11150 | • PLUG | 1 | SN: 20006-20021 |
|||
| ? | 07000-03038 | • O-RING | 1 | SN: 20024- |
|||
| ? | 07000-03032 | • O-RING | 1 | SN: 20006-20021 |
|||
| ? | 135-21-11250 | • PLUG | 4 | SN: 22388- |
|||
| ? | 135-21-11250 | • PLUG | 12 | SN: 20006-22387 |
|||
| ? | 07049-02430 | • PLUG | 12 | SN: 20006- |
|||
| ? | 135-21-11210 | • PLATE | 1 | SN: 20006- |
|||
| ? | 07000-03110 | • O-RING | 1 | SN: 20006- |
|||
| ? | 01010-31630 | • BOLT | 4 | SN: 22388- |
|||
| ? | □01040-31630 | • BOLT | 4 | SN: 20006-22387 |
|||
| ? | 01602-01648 | • WASHER | 4 | SN: 20006- |
|||
| ? | 144-21-11453 | • TUBE | 1 | SN: 20024- |
|||
| ? | 144-21-11451 | • TUBE | 1 | SN: 20006-20021 |
|||
| ? | 07000-02015 | • O-RING | 1 | SN: 20006- |
|||
| ? | 07000-02018 | • O-RING | 1 | SN: 20006- |
|||
| ? | 01010-31025 | • BOLT | 2 | SN: 20006- |
|||
| ? | 01602-01030 | • WASHER | 2 | SN: 20006- |
|||
| ? | 144-21-11412 | • COVER | 1 | SN: 20006- |
|||
| ? | 144-21-11421 | • GASKET | 1 | SN: 20006- |
|||
| ? | 01010-31435 | • BOLT | 10 | SN: 22388- |
|||
| ? | □01040-31435 | • BOLT | 10 | SN: 20006-22387 |
|||
| ? | 01602-01442 | • WASHER | 10 | SN: 20006- |
|||
| ? | 144-21-11490 | • PLATE | 1 | SN: 20006- |
|||
| ? | 01010-32450 | • BOLT | 3 | SN: 22388- |
|||
| ? | □01040-32450 | • BOLT | 3 | SN: 20006-22387 |
|||
| ? | 01602-02472 | • WASHER | 3 | SN: 20006- |
|||
| ? | 01643-32460 | • WASHER | 3 | SN: 20006- |
