| Номер на схеме | Каталожный номер | Название | Количество | Детали | |||
|---|---|---|---|---|---|---|---|
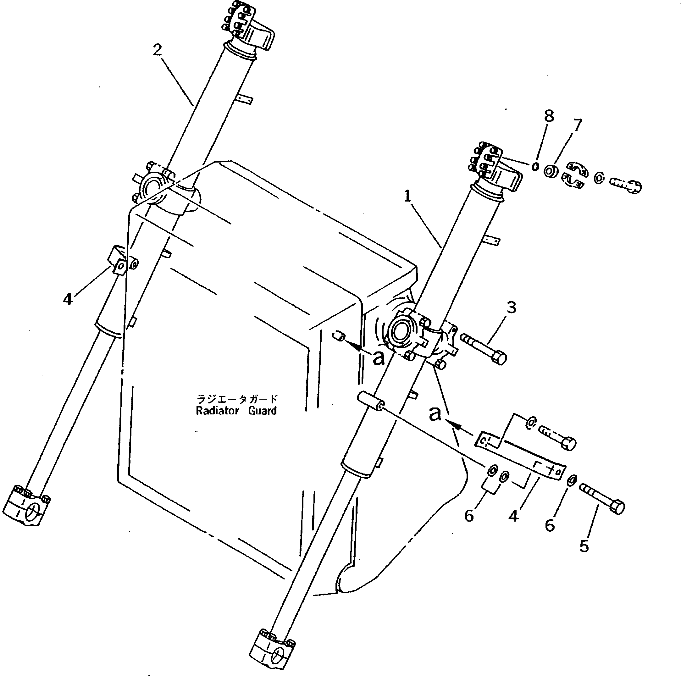
| ? | (☉707-02-X7360) | CYLINDER GROUP,L.H. | 1 | SN: 20001- KIT-FLAG: _- SERIALNO: 20001- |
|||
| ? | (☉707-02-X7370) | CYLINDER GROUP,R.H. | 1 | SN: 20001- KIT-FLAG: _- SERIALNO: 20001- |
|||
| ? | 01011-62000 | BOLT | 2 | SN: 20001- KIT-FLAG: _- SERIALNO: 20001- |
|||
| ? | 17M-61-21210 | BRACKET | 2 | SN: 20001- KIT-FLAG: _- SERIALNO: 20001- |
|||
| ? | 01011-62030 | BOLT | 2 | SN: 20001- KIT-FLAG: _- SERIALNO: 20001- |
|||
| ? | 01643-32060 | WASHER | 6 | SN: 20001- KIT-FLAG: _- SERIALNO: 20001- |
|||
| ? | 07378-11000 | HEAD | 8 | SN: 20001- KIT-FLAG: _- SERIALNO: 20001- |
|||
| ? | 07000-23032 | O-RING | 8 | SN: 20001- KIT-FLAG: _- SERIALNO: 20001- |
