k-part

Номер на схеме Каталожный номер Название Количество Детали
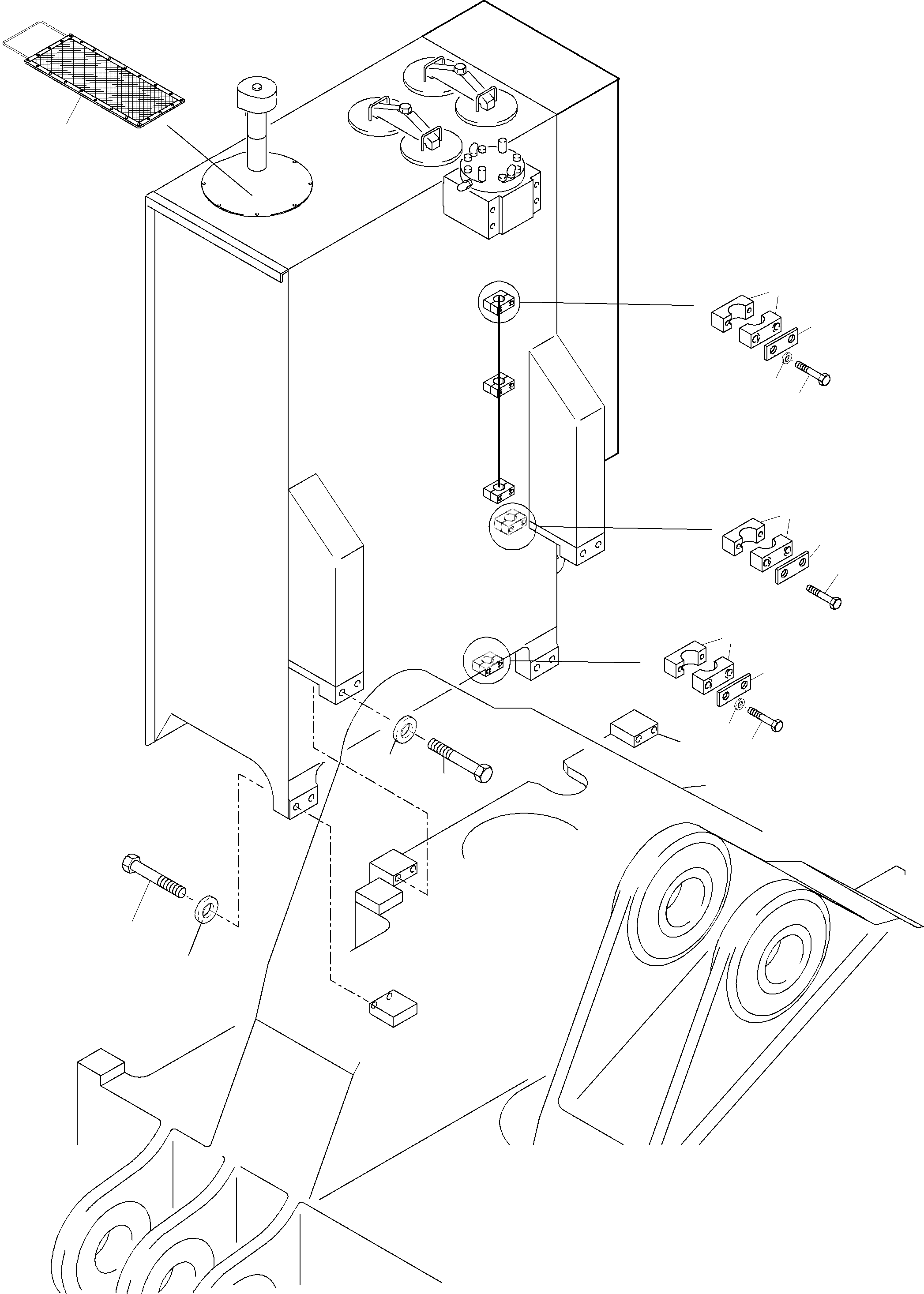
? 923 720 40 Oil tank 1
EnglischBem:
DeutschBem:
DeutschDesc: Цlbehдlter
InternBDB:
InternKon:
SerienBem:
Zwhead_Deu:
Zwhead_Eng:
? 923 710 40 Oil tank weldment 1
EnglischBem:
DeutschBem:
DeutschDesc: Цlbehдlter SK
InternBDB:
InternKon:
SerienBem:
Zwhead_Deu:
Zwhead_Eng:
? 933 882 40 Valve block, incl. fig-nos: 04, 05 1
EnglischBem:
DeutschBem:
DeutschDesc: Ventilblock, einschl. Nr. 04, 05
InternBDB:
InternKon:
SerienBem:
Zwhead_Deu:
Zwhead_Eng:
? 631 091 40 Valve block 1
EnglischBem:
DeutschBem:
DeutschDesc: Ventilblock
InternBDB:
InternKon:
SerienBem:
Zwhead_Deu:
Zwhead_Eng:
? 910 951 40 Filter cover 4
EnglischBem:
DeutschBem:
DeutschDesc: Filterdeckel
InternBDB:
InternKon:
SerienBem:
Zwhead_Deu:
Zwhead_Eng:
? 903 078 40 Cover 4
EnglischBem:
DeutschBem:
DeutschDesc: Deckel
InternBDB:
InternKon:
SerienBem:
Zwhead_Deu:
Zwhead_Eng:
? 923 744 40 Cover 1
EnglischBem:
DeutschBem:
DeutschDesc: Deckel
InternBDB:
InternKon:
SerienBem:
Zwhead_Deu:
Zwhead_Eng:
? 436 040 40 U-bolt 2
EnglischBem:
DeutschBem:
DeutschDesc: Klemmbьgel
InternBDB:
InternKon:
SerienBem:
Zwhead_Deu:
Zwhead_Eng:
? 366 504 40 Spring 4
EnglischBem:
DeutschBem:
DeutschDesc: Feder
InternBDB:
InternKon:
SerienBem:
Zwhead_Deu:
Zwhead_Eng:
? 910 954 40 Bushing 4
EnglischBem:
DeutschBem:
DeutschDesc: Buchse
InternBDB:
InternKon:
SerienBem:
Zwhead_Deu:
Zwhead_Eng:
? 907 605 40 4/2 Directional spool valve 1
EnglischBem:
DeutschBem:
DeutschDesc: 4/2-Wegeventil
InternBDB:
InternKon:
SerienBem:
Zwhead_Deu:
Zwhead_Eng:
? 366 509 40 Cover 1
EnglischBem:
DeutschBem:
DeutschDesc: Deckel
InternBDB:
InternKon:
SerienBem:
Zwhead_Deu:
Zwhead_Eng:
? 255 694 40 Plug 2
EnglischBem:
DeutschBem:
DeutschDesc: VerschluЯschraube
InternBDB:
InternKon:
SerienBem:
Zwhead_Deu:
Zwhead_Eng:
? 904 748 40 Trap with plug 1
EnglischBem:
DeutschBem:
DeutschDesc: Absperrklappe mit Stecker
InternBDB:
InternKon:
SerienBem:
Zwhead_Deu:
Zwhead_Eng:
? 180 325 40 Base plate 1
EnglischBem:
DeutschBem:
DeutschDesc: Grundplatte
InternBDB:
InternKon:
SerienBem:
Zwhead_Deu:
Zwhead_Eng:
? 514 340 98 Screw 4
EnglischBem:
DeutschBem:
DeutschDesc: Schraube
InternBDB:
InternKon:
SerienBem:
Zwhead_Deu:
Zwhead_Eng:
? 916 746 40 Gasket 1
EnglischBem:
DeutschBem:
DeutschDesc: Dichtung
InternBDB:
InternKon:
SerienBem:
Zwhead_Deu:
Zwhead_Eng:
? 907 670 40 Limit switch 1
EnglischBem:
DeutschBem:
DeutschDesc: Endschalter
InternBDB:
InternKon:
SerienBem:
Zwhead_Deu:
Zwhead_Eng:
? 366 508 40 Gasket 1
EnglischBem:
DeutschBem:
DeutschDesc: Dichtung
InternBDB:
InternKon:
SerienBem:
Zwhead_Deu:
Zwhead_Eng:
? 389 472 40 Gasket 1
EnglischBem:
DeutschBem:
DeutschDesc: Dichtung
InternBDB:
InternKon:
SerienBem:
Zwhead_Deu:
Zwhead_Eng:
? 440 723 40 Compensator 1
EnglischBem:
DeutschBem:
DeutschDesc: Kompensator
InternBDB:
InternKon:
SerienBem:
Zwhead_Deu:
Zwhead_Eng:
? 502 119 98 O-ring 4
EnglischBem:
DeutschBem:
DeutschDesc: O-Ring
InternBDB:
InternKon:
SerienBem:
Zwhead_Deu:
Zwhead_Eng:
? 933 881 40 Retainer 1
EnglischBem:
DeutschBem:
DeutschDesc: Halter
InternBDB:
InternKon:
SerienBem:
Zwhead_Deu:
Zwhead_Eng:
? 319 132 99 Bolt 2
EnglischBem:
DeutschBem:
DeutschDesc: Schraube
InternBDB:
InternKon:
SerienBem:
Zwhead_Deu:
Zwhead_Eng:
? 304 309 99 Bolt 2
EnglischBem:
DeutschBem:
DeutschDesc: Schraube
InternBDB:
InternKon:
SerienBem:
Zwhead_Deu:
Zwhead_Eng:
? 505 449 98 Bolt 4
EnglischBem:
DeutschBem:
DeutschDesc: Schraube
InternBDB:
InternKon:
SerienBem:
Zwhead_Deu:
Zwhead_Eng:
? 307 845 99 Bolt 2
EnglischBem:
DeutschBem:
DeutschDesc: Schraube
InternBDB:
InternKon:
SerienBem:
Zwhead_Deu:
Zwhead_Eng:
? 507 025 98 Nut 2
EnglischBem:
DeutschBem:
DeutschDesc: Mutter
InternBDB:
InternKon:
SerienBem:
Zwhead_Deu:
Zwhead_Eng:
? 371 459 99 Socket 2
EnglischBem:
DeutschBem:
DeutschDesc: Stutzen
InternBDB:
InternKon:
SerienBem:
Zwhead_Deu:
Zwhead_Eng:
? 307 752 99 Bolt 8
EnglischBem:
DeutschBem:
DeutschDesc: Schraube
InternBDB:
InternKon:
SerienBem:
Zwhead_Deu:
Zwhead_Eng:
? 516 157 98 Union 2
EnglischBem:
DeutschBem:
DeutschDesc: Verschraubung
InternBDB:
InternKon:
SerienBem:
Zwhead_Deu:
Zwhead_Eng:
? 307 679 99 Bolt 4
EnglischBem:
DeutschBem:
DeutschDesc: Schraube
InternBDB:
InternKon:
SerienBem:
Zwhead_Deu:
Zwhead_Eng:
? 308 874 99 Bolt 4
EnglischBem:
DeutschBem:
DeutschDesc: Schraube
InternBDB:
InternKon:
SerienBem:
Zwhead_Deu:
Zwhead_Eng:
? 334 686 99 Nut 6
EnglischBem:
DeutschBem:
DeutschDesc: Mutter
InternBDB:
InternKon:
SerienBem:
Zwhead_Deu:
Zwhead_Eng:
? 515 553 98 Hose assy. DN 10x700 1
EnglischBem:
DeutschBem:
DeutschDesc: Schlauchleitung DN 10x700
InternBDB:
InternKon:
SerienBem:
Zwhead_Deu:
Zwhead_Eng:
? 316 213 99 Washer 2
EnglischBem:
DeutschBem:
DeutschDesc: Scheibe
InternBDB:
InternKon:
SerienBem:
Zwhead_Deu:
Zwhead_Eng:
? 516 175 98 Union 1
EnglischBem:
DeutschBem:
DeutschDesc: Verschraubung
InternBDB:
InternKon:
SerienBem:
Zwhead_Deu:
Zwhead_Eng:
? 551 987 40 Union 2
EnglischBem:
DeutschBem:
DeutschDesc: Verschraubung
InternBDB:
InternKon:
SerienBem:
Zwhead_Deu:
Zwhead_Eng:
? 346 510 99 Lock washer 8
EnglischBem:
DeutschBem:
DeutschDesc: Federring
InternBDB:
InternKon:
SerienBem:
Zwhead_Deu:
Zwhead_Eng:
? 346 509 99 Lock washer 4
EnglischBem:
DeutschBem:
DeutschDesc: Federring
InternBDB:
InternKon:
SerienBem:
Zwhead_Deu:
Zwhead_Eng:
? 374 407 99 Union 1
EnglischBem:
DeutschBem:
DeutschDesc: Verschraubung
InternBDB:
InternKon:
SerienBem:
Zwhead_Deu:
Zwhead_Eng:
? 515 820 98 Hose assy. DN 12x530 1
EnglischBem:
DeutschBem:
DeutschDesc: Schlauchleitung DN 12x530
InternBDB:
InternKon:
SerienBem:
Zwhead_Deu:
Zwhead_Eng:
? 907 594 40 Fluid level sensor with swimming ball fig.-nos.: 50, 51 1
EnglischBem:
DeutschBem:
DeutschDesc: Flьssigkeitsstand-Anzeige mit Schwimmkugel inkl. Bild-Nr.: 50, 5
InternBDB:
InternKon:
SerienBem:
Zwhead_Deu:
Zwhead_Eng:
? 511 602 98 Banjo bolt 2
EnglischBem:
DeutschBem:
DeutschDesc: Hohlschraube
InternBDB:
InternKon:
SerienBem:
Zwhead_Deu:
Zwhead_Eng:
? 972 009 O-ring 2
EnglischBem:
DeutschBem:
DeutschDesc: O-Ring
InternBDB:
InternKon:
SerienBem:
Zwhead_Deu:
Zwhead_Eng:
? 313 274 99 Plug 1
EnglischBem:
DeutschBem:
DeutschDesc: VerschluЯschraube
InternBDB:
InternKon:
SerienBem:
Zwhead_Deu:
Zwhead_Eng:
? 340 129 99 O-ring 1
EnglischBem:
DeutschBem:
DeutschDesc: O-Ring
InternBDB:
InternKon:
SerienBem:
Zwhead_Deu:
Zwhead_Eng:
? 374 436 99 Socket 2
EnglischBem:
DeutschBem:
DeutschDesc: Stutzen
InternBDB:
InternKon:
SerienBem:
Zwhead_Deu:
Zwhead_Eng:
? 515 812 98 Coupling 2
EnglischBem:
DeutschBem:
DeutschDesc: Kupplung
InternBDB:
InternKon:
SerienBem:
Zwhead_Deu:
Zwhead_Eng:
? 180 477 40 Union 1
EnglischBem:
DeutschBem:
DeutschDesc: Verschraubung
InternBDB:
InternKon:
SerienBem:
Zwhead_Deu:
Zwhead_Eng:
? 308 670 99 Bolt 4
EnglischBem:
DeutschBem:
DeutschDesc: Schraube
InternBDB:
InternKon:
SerienBem:
Zwhead_Deu:
Zwhead_Eng:
? 308 675 99 Bolt 6
EnglischBem:
DeutschBem:
DeutschDesc: Schraube
InternBDB:
InternKon:
SerienBem:
Zwhead_Deu:
Zwhead_Eng:
? 500 716 40 Flange 1
EnglischBem:
DeutschBem:
DeutschDesc: Flansch
InternBDB:
InternKon:
SerienBem:
Zwhead_Deu:
Zwhead_Eng:
? 340 470 99 Disc 12
EnglischBem:
DeutschBem:
DeutschDesc: Scheibe
InternBDB:
InternKon:
SerienBem:
Zwhead_Deu:
Zwhead_Eng:
? 324 741 40 Plug 4
EnglischBem:
DeutschBem:
DeutschDesc: VerschluЯstopfen
InternBDB:
InternKon:
SerienBem:
Zwhead_Deu:
Zwhead_Eng:
? 255 694 99 Plug 2
EnglischBem:
DeutschBem:
DeutschDesc: VerschluЯschraube
InternBDB:
InternKon:
SerienBem:
Zwhead_Deu:
Zwhead_Eng:
? 533 989 99 Weld on plate 1
EnglischBem:
DeutschBem:
DeutschDesc: AnschweiЯplatte
InternBDB:
InternKon:
SerienBem:
Zwhead_Deu:
Zwhead_Eng:
? 502 631 98 Half clamp 10
EnglischBem:
DeutschBem:
DeutschDesc: Schellenhдlte
InternBDB:
InternKon:
SerienBem:
Zwhead_Deu:
Zwhead_Eng:
? 319 132 99 Bolt 2
EnglischBem:
DeutschBem:
DeutschDesc: Schraube
InternBDB:
InternKon:
SerienBem:
Zwhead_Deu:
Zwhead_Eng:
? 926 952 40 Strainer 1
EnglischBem:
DeutschBem:
DeutschDesc: Sieb
InternBDB:
InternKon:
SerienBem:
Zwhead_Deu:
Zwhead_Eng:
? 534 008 99 Cover plate 3
EnglischBem:
DeutschBem:
DeutschDesc: Deckplatte
InternBDB:
InternKon:
SerienBem:
Zwhead_Deu:
Zwhead_Eng:
? 308 599 99 Bolt 6
EnglischBem:
DeutschBem:
DeutschDesc: Schraube
InternBDB:
InternKon:
SerienBem:
Zwhead_Deu:
Zwhead_Eng:
? 343 006 99 Washer 6
EnglischBem:
DeutschBem:
DeutschDesc: Scheibe
InternBDB:
InternKon:
SerienBem:
Zwhead_Deu:
Zwhead_Eng:
? 505 058 98 Half clamp 6
EnglischBem:
DeutschBem:
DeutschDesc: Schellenhдlte
InternBDB:
InternKon:
SerienBem:
Zwhead_Deu:
Zwhead_Eng:
? 504 923 98 Half clamp 2
EnglischBem:
DeutschBem:
DeutschDesc: Schellenhдlte
InternBDB:
InternKon:
SerienBem:
Zwhead_Deu:
Zwhead_Eng:
? 308 581 99 Bolt 2
EnglischBem:
DeutschBem:
DeutschDesc: Schraube
InternBDB:
InternKon:
SerienBem:
Zwhead_Deu:
Zwhead_Eng:
? 343 005 99 Washer 2
EnglischBem:
DeutschBem:
DeutschDesc: Scheibe
InternBDB:
InternKon:
SerienBem:
Zwhead_Deu:
Zwhead_Eng:
? 534 004 99 Cover plate 1
EnglischBem:
DeutschBem:
DeutschDesc: Deckplatte
InternBDB:
InternKon:
SerienBem:
Zwhead_Deu:
Zwhead_Eng:
? 511 718 98 Half clamp 4
EnglischBem:
DeutschBem:
DeutschDesc: Schellenhдlte
InternBDB:
InternKon:
SerienBem:
Zwhead_Deu:
Zwhead_Eng:
? 511 196 98 Cover plate 2
EnglischBem:
DeutschBem:
DeutschDesc: Deckplatte
InternBDB:
InternKon:
SerienBem:
Zwhead_Deu:
Zwhead_Eng:
? 308 679 99 Bolt 4
EnglischBem:
DeutschBem:
DeutschDesc: Schraube
InternBDB:
InternKon:
SerienBem:
Zwhead_Deu:
Zwhead_Eng:
? 925 178 40 Guide 1
EnglischBem:
DeutschBem:
DeutschDesc: Fьhrung
InternBDB:
InternKon:
SerienBem:
Zwhead_Deu:
Zwhead_Eng:
? 925 177 40 Extension 1
EnglischBem:
DeutschBem:
DeutschDesc: Verlдngerung
InternBDB:
InternKon:
SerienBem:
Zwhead_Deu:
Zwhead_Eng:
? 345 052 99 Cotter pin 3
EnglischBem:
DeutschBem:
DeutschDesc: Splint
InternBDB:
InternKon:
SerienBem:
Zwhead_Deu:
Zwhead_Eng:
? 302 552 99 Bolt 2
EnglischBem:
DeutschBem:
DeutschDesc: Schraube
InternBDB:
InternKon:
SerienBem:
Zwhead_Deu:
Zwhead_Eng:
? 502 082 98 Bolt 2
EnglischBem:
DeutschBem:
DeutschDesc: Schraube
InternBDB:
InternKon:
SerienBem:
Zwhead_Deu:
Zwhead_Eng:
? 255 057 40 Washer 4
EnglischBem:
DeutschBem:
DeutschDesc: Scheibe
InternBDB:
InternKon:
SerienBem:
Zwhead_Deu:
Zwhead_Eng:
? 516 041 40 Hose assy. DN 10x400 1
EnglischBem:
DeutschBem:
DeutschDesc: Schlauchleitung DN 10x400
InternBDB:
InternKon:
SerienBem:
Zwhead_Deu:
Zwhead_Eng:
? 930 923 40 Plate 1
EnglischBem:
DeutschBem:
DeutschDesc: Blech
InternBDB:
InternKon:
SerienBem:
Zwhead_Deu:
Zwhead_Eng:
? 507 037 98 Nut 2
EnglischBem:
DeutschBem:
DeutschDesc: Mutter
InternBDB:
InternKon:
SerienBem:
Zwhead_Deu:
Zwhead_Eng:
? 340 465 99 Washer 2
EnglischBem:
DeutschBem:
DeutschDesc: Scheibe
InternBDB:
InternKon:
SerienBem:
Zwhead_Deu:
Zwhead_Eng:

Excavators Mining Komatsu / PC3000-6 S/N 06215(g06215) / Main Oil Tank(485-1801a : 485-1801a)
?
?
?
?
?
?
?
?
?
?
?
?
?
?
?
?
?
?
?
?
?
?
?
?
?
?
?
?
?
?
?
?
?
?
?
?
?
?
?
?
?
?
?
Excavators Mining Komatsu / PC3000-6 S/N 06215(g06215) / Main Oil Tank(485-1801a : 485-1801a)
?
?
?
?
?
?
?
?
?
?
?
?
?
?
?
?
?
?
?
?
?
?
?
?
?
?
?
?
?
?
?
?
?
?
?
?
?
?
?
?
?
?
?
?
Excavators Mining Komatsu / PC3000-6 S/N 06215(g06215) / Main Oil Tank(485-1801a : 485-1801a)
?
?
?
?
?
?
?
?
?
?
?
?
?
?
?
?