k-part
Номер на схеме Каталожный номер Название Количество Детали
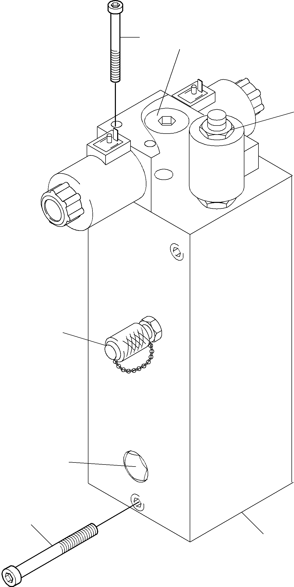
? 907 116 40 Valve - Refueling 45 bar 1
EnglischBem:
DeutschBem:
DeutschDesc: Ventil - Tankarm 45 bar
InternBDB:
InternKon:
SerienBem:
Zwhead_Deu:
Zwhead_Eng:
? 319 251 99 Cylinder head srew 3
EnglischBem:
DeutschBem:
DeutschDesc: Zylinderkopfschraube
InternBDB:
InternKon:
SerienBem:
Zwhead_Deu:
Zwhead_Eng:
? 792 765 73 Non return valve 2
EnglischBem:
DeutschBem:
DeutschDesc: Rьckschlagventil
InternBDB:
InternKon:
SerienBem:
Zwhead_Deu:
Zwhead_Eng:
? 792 768 73 Valve 1
EnglischBem:
DeutschBem:
DeutschDesc: Einschraubventil
InternBDB:
InternKon:
SerienBem:
Zwhead_Deu:
Zwhead_Eng:
? 792 769 73 Field coil 1
EnglischBem:
DeutschBem:
DeutschDesc: Magnetspule
InternBDB:
InternKon:
SerienBem:
Zwhead_Deu:
Zwhead_Eng:
? 511 562 98 Cylinder head srew 4
EnglischBem:
DeutschBem:
DeutschDesc: Zylinderkopfschraube
InternBDB:
InternKon:
SerienBem:
Zwhead_Deu:
Zwhead_Eng:
? 515 812 98 Test-screw coupling 2
EnglischBem:
DeutschBem:
DeutschDesc: MinimeЯ-Schraubkupplung
InternBDB:
InternKon:
SerienBem:
Zwhead_Deu:
Zwhead_Eng:
? 792 786 73 Seal kit to fig-no. 07, 08 1
EnglischBem:
DeutschBem:
DeutschDesc: Dichtsatz zu Bild-Nr. 07,08
InternBDB:
InternKon:
SerienBem:
Zwhead_Deu:
Zwhead_Eng:

Excavators Mining Komatsu / PC3000-6 S/N 06224(g06224) / Valve - Refueling 45 bar(991-0489 : 991-0489)
?
?
?
?
?
?
?
?
?
?
?