| Номер на схеме | Каталожный номер | Название | Количество | Детали | |||
|---|---|---|---|---|---|---|---|
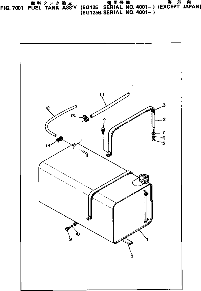
| ? | DY81355-10003 | TANK,FUEL | 1 | SN: 4001- |
|||
| ? | ☆ | • CAP,FUEL TANK | 1 | SN: 4001- |
|||
| ? | ☆ | • STRAINER,FUEL | 1 | SN: 4001- |
|||
| ? | DY81355-23014 | BAND,TANK | 2 | SN: 4001- |
|||
| ? | DY08050-37104 | PAD,TANK BAND | 4 | SN: 4001- |
|||
| ? | DY00171-08020 | BOLT | 2 | SN: 4001- |
|||
| ? | DY00300-08000 | NUT | 2 | SN: 4001- |
|||
| ? | DY00400-08000 | WASHER,SPRING | 2 | SN: 4001- |
|||
| ? | DY00416-08000 | WASHER | 2 | SN: 4001- |
|||
| ? | DY08050-13804 | SHEET,TANK | 2 | SN: 4001- |
|||
| ? | DY08020-11104 | PLUG | 1 | SN: 4001- |
|||
| ? | DY01500-00018 | O-RING | 1 | SN: 4001- |
|||
| ? | DY01913-00800 | HOSE,SUCTION | 1 | SN: 4001- |
|||
| ? | DY01910-01600 | HOSE,RETURN | 1 | SN: 4001- |
|||
| ? | DY06055-15014 | BAND,HOSE | 2 | SN: 4001- |
|||
| ? | DY06055-15024 | BAND,HOSE | 2 | SN: 4001- |
