k-part
Номер на схеме Каталожный номер Название Количество Детали
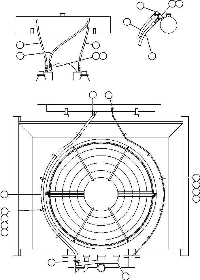
? EC0361 HOSE 1
? TC6058 CLAMP 5
? CO312 LOCKWASHER - 3/8" 5
? C1521 NUT - 3/8" - 16NC 5
? C1547 FLAT WASHER - 3/8" 5
? CD8419 CLAMP 2
? PB8887 SENSOR, COOLANT LEVEL 1
? EC7590 TUBE 1
? TC1233 NUT - 3/8" - 16NC 5
? TC1231 LOCKWASHER - 3/8" 5
? TR4436 FLAT WASHER - 3/8" 5
? 720462 CLAMP 5
? TA4493 HOSE 2
? HA1181 HOSE 1
? TD9743 ADAPTER 1
? WA1201 FITTING 1
? KC5053 FITTING 1
? SG3435 PIPE, FITTING 1
? WB0461 FITTING, TUBE 1

Dump Trucks Komatsu / AFE32-BE 830E S/N 32019 & 32123-32129 SUNCOR(AFE32-BE) / RADIATOR & SURGE TANK PIPING - 2(032 : 40672)
?
?
?
?
?
?
?
?
?
?
?
?
?
?
?
?
?
?
?
?
?
?
?