| Номер на схеме | Каталожный номер | Название | Количество | Детали | |||
|---|---|---|---|---|---|---|---|
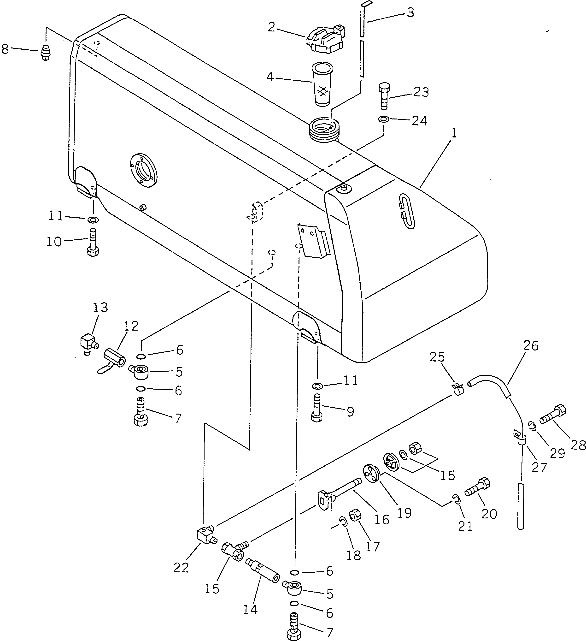
| ? | 195-04-00120 | FUEL TANK ASS'Y | 1 | SN: 12622-12951 KIT-FLAG: _- SERIALNO: 12622-12951 |
|||
| ? | ☆ | TANK,FUEL | 1 | SN: 12952- KIT-FLAG: _- SERIALNO: 12952- |
|||
| ? | ☆ | • TANK,FUEL | 1 | SN: 12622-12951 KIT-FLAG: _- SERIALNO: 12622-12951 |
|||
| ? | 195-04-31291 | CAP,FOR VANDALISM PROTECTION | 1 | SN: 12952- KIT-FLAG: _- SERIALNO: 12952- |
|||
| ? | 195-04-31290 | • CAP,FOR VANDALISM PROTECTION | 1 | SN: 12622-12951 KIT-FLAG: _- SERIALNO: 12622-12951 |
|||
| ? | 195-04-12170 | • GAUGE,OIL LEVEL | 1 | SN: 12622- KIT-FLAG: _- SERIALNO: 12622- |
|||
| ? | 07056-18416 | • STRAINER | 1 | SN: 12622- KIT-FLAG: _- SERIALNO: 12622- |
|||
| ? | 195-04-11230 | • JOINT,EYE | 2 | SN: 12622- KIT-FLAG: _- SERIALNO: 12622- |
|||
| ? | 07000-03035 | • O-RING | 4 | SN: 12622- KIT-FLAG: _- SERIALNO: 12622- |
|||
| ? | 195-04-11280 | • BOLT,JOINT | 2 | SN: 12622- KIT-FLAG: _- SERIALNO: 12622- |
|||
| ? | 07042-30108 | • PLUG | 1 | SN: 12622- KIT-FLAG: _- SERIALNO: 12622- |
|||
| ? | 01010-52060 | BOLT | 4 | SN: 12622- KIT-FLAG: _- SERIALNO: 12622- |
|||
| ? | 01010-52045 | BOLT | 4 | SN: 12622- KIT-FLAG: _- SERIALNO: 12622- |
|||
| ? | 01643-32060 | WASHER | 8 | SN: 12622- KIT-FLAG: _- SERIALNO: 12622- |
|||
| ? | 07700-40460 | VALVE | 1 | SN: 12622- KIT-FLAG: _- SERIALNO: 12622- |
|||
| ? | 195-04-12280 | ELBOW | 1 | SN: 12622- KIT-FLAG: _- SERIALNO: 12622- |
|||
| ? | 195-04-11420 | NIPPLE | 1 | SN: 12622- KIT-FLAG: _- SERIALNO: 12622- |
|||
| ? | 154-04-12492 | VALVE | 1 | SN: 12622- KIT-FLAG: _- SERIALNO: 12622- |
|||
| ? | 195-04-11461 | JOINT | 1 | SN: 12622- KIT-FLAG: _- SERIALNO: 12622- |
|||
| ? | 01580-10605 | NUT | 1 | SN: 12622- KIT-FLAG: _- SERIALNO: 12622- |
|||
| ? | 01602-20619 | WASHER,SPRING | 1 | SN: 12622- KIT-FLAG: _- SERIALNO: 12622- |
|||
| ? | 195-04-11480 | GUIDE | 1 | SN: 12622- KIT-FLAG: _- SERIALNO: 12622- |
|||
| ? | 01010-50625 | BOLT | 3 | SN: 12622- KIT-FLAG: _- SERIALNO: 12622- |
|||
| ? | 01602-20619 | WASHER,SPRING | 3 | SN: 12622- KIT-FLAG: _- SERIALNO: 12622- |
|||
| ? | 195-04-11431 | ELBOW | 1 | SN: 12622- KIT-FLAG: _- SERIALNO: 12622- |
|||
| ? | 01010-51025 | BOLT | 1 | SN: 12622- KIT-FLAG: _- SERIALNO: 12622- |
|||
| ? | 01643-31032 | WASHER | 1 | SN: 12622- KIT-FLAG: _- SERIALNO: 12622- |
|||
| ? | 07285-00130 | CLIP | 1 | SN: 12622- KIT-FLAG: _- SERIALNO: 12622- |
|||
| ? | 07270-31295 | TUBE | 1 | SN: 12622- KIT-FLAG: _- SERIALNO: 12622- |
|||
| ? | 154-04-11211 | CLIP | 1 | SN: 12622- KIT-FLAG: _- SERIALNO: 12622- |
|||
| ? | 01010-31220 | BOLT | 1 | SN: 12622- KIT-FLAG: _- SERIALNO: 12622- |
|||
| ? | 01602-01236 | WASHER,SPRING | 1 | SN: 12622- KIT-FLAG: _- SERIALNO: 12622- |
