k-part
Номер на схеме Каталожный номер Название Количество Детали
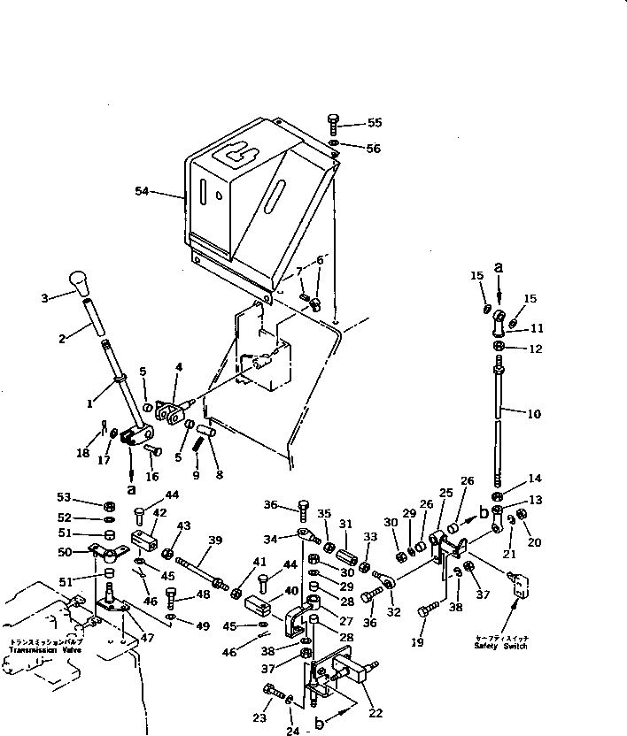
? 103-43-34110 LEVER 1
SN: 60001-
KIT-FLAG: _-
SERIALNO: 60001-
? 104-43-24130 BUSHING 1
SN: 60001-
KIT-FLAG: _-
SERIALNO: 60001-
? 113-43-23420 KNOB 1
SN: 60001-
KIT-FLAG: _-
SERIALNO: 60001-
? 103-43-00490 YOKE ASS'Y 1
SN: 60001-
KIT-FLAG: _-
SERIALNO: 60001-
? • YOKE 1
SN: 60001-
KIT-FLAG: _-
SERIALNO: 60001-
? 203-43-31420 • BUSHING 2
SN: 60001-
KIT-FLAG: _-
SERIALNO: 60001-
? 103-43-34550 LEVER 1
SN: 60001-
KIT-FLAG: _-
SERIALNO: 60001-
? 04025-00320 PIN,SPRING 1
SN: 60001-
KIT-FLAG: _-
SERIALNO: 60001-
? 103-43-36140 PIN 1
SN: 60001-
KIT-FLAG: _-
SERIALNO: 60001-
? 04025-00324 PIN,SPRING 1
SN: 60001-
KIT-FLAG: _-
SERIALNO: 60001-
? 04248-30834 ROD 1
SN: 60001-
KIT-FLAG: _-
SERIALNO: 60001-
? 04250-80847 END,ROD 1
SN: 60001-
KIT-FLAG: _-
SERIALNO: 60001-
? 01580-10806 NUT 1
SN: 60001-
KIT-FLAG: _-
SERIALNO: 60001-
? 04250-90847 END,ROD, L.H. THREAD 1
SN: 60001-
KIT-FLAG: _-
SERIALNO: 60001-
? 01508-40805 NUT,L.H. THREAD 1
SN: 63764-
KIT-FLAG: _-
SERIALNO: 63764-
? ♦01508-20805 NUT,L.H. THREAD 1
SN: 60001-63763
KIT-FLAG: _-
SERIALNO: 60001-63763
? 04254-00823 SPACER 2
SN: 60001-
KIT-FLAG: _-
SERIALNO: 60001-
? 04205-10835 PIN 1
SN: 60001-
KIT-FLAG: _-
SERIALNO: 60001-
? 01641-20812 WASHER 1
SN: 60001-
KIT-FLAG: _-
SERIALNO: 60001-
? 04050-12015 PIN,COTTER 1
SN: 60001-
KIT-FLAG: _-
SERIALNO: 60001-
? 01010-50830 BOLT 1
SN: 60001-
KIT-FLAG: _-
SERIALNO: 60001-
? 01580-10806 NUT 1
SN: 60001-
KIT-FLAG: _-
SERIALNO: 60001-
? 01602-20825 WASHER,SPRING 1
SN: 60001-
KIT-FLAG: _-
SERIALNO: 60001-
? 103-43-34410 BRACKET 1
SN: 60001-
KIT-FLAG: _-
SERIALNO: 60001-
? 01010-51025 BOLT 2
SN: 60001-
KIT-FLAG: _-
SERIALNO: 60001-
? 01602-21030 WASHER,SPRING 2
SN: 60001-
KIT-FLAG: _-
SERIALNO: 60001-
? 103-43-00510 LEVER ASS'Y 1
SN: 60001-
KIT-FLAG: _-
SERIALNO: 60001-
? • LEVER 1
SN: 60001-
KIT-FLAG: _-
SERIALNO: 60001-
? 203-43-31420 • BUSHING 2
SN: 60001-
KIT-FLAG: _-
SERIALNO: 60001-
? 103-43-00520 LEVER ASS'Y 1
SN: 60001-
KIT-FLAG: _-
SERIALNO: 60001-
? • LEVER 1
SN: 60001-
KIT-FLAG: _-
SERIALNO: 60001-
? 203-43-31420 • BUSHING 2
SN: 60001-
KIT-FLAG: _-
SERIALNO: 60001-
? 22W-43-17330 WASHER 2
SN: 60001-
KIT-FLAG: _-
SERIALNO: 60001-
? 01598-00809 NUT 2
SN: 60001-
KIT-FLAG: _-
SERIALNO: 60001-
? 103-43-34440 BUCKLE,TURN 1
SN: 60001-
KIT-FLAG: _-
SERIALNO: 60001-
? 04252-20853 END,ROD 1
SN: 60001-
KIT-FLAG: _-
SERIALNO: 60001-
? 01580-10806 NUT 1
SN: 60001-
KIT-FLAG: _-
SERIALNO: 60001-
? 04252-30853 END,ROD, L.H. THREAD 1
SN: 60001-
KIT-FLAG: _-
SERIALNO: 60001-
? 01508-40805 NUT,L.H. THREAD 1
SN: 63764-
KIT-FLAG: _-
SERIALNO: 63764-
? ♦01508-20805 NUT,L.H. THREAD 1
SN: 60001-63763
KIT-FLAG: _-
SERIALNO: 60001-63763
? 01010-50830 BOLT 2
SN: 60001-
KIT-FLAG: _-
SERIALNO: 60001-
? 01580-10806 NUT 2
SN: 60001-
KIT-FLAG: _-
SERIALNO: 60001-
? 01602-20825 WASHER,SPRING 2
SN: 60001-
KIT-FLAG: _-
SERIALNO: 60001-
? 04248-30810 ROD,(D21A) 1
SN: 60001-
KIT-FLAG: _-
SERIALNO: 60001-
? 04248-30809 ROD,(D21E) 1
SN: 60001-
KIT-FLAG: _-
SERIALNO: 60001-
? 04211-20844 YOKE 1
SN: 60001-
KIT-FLAG: _-
SERIALNO: 60001-
? 01580-10806 NUT 1
SN: 60001-
KIT-FLAG: _-
SERIALNO: 60001-
? 04221-20844 YOKE,L.H. THREAD 1
SN: 60001-
KIT-FLAG: _-
SERIALNO: 60001-
? 01508-40805 NUT,L.H. THREAD 1
SN: 63764-
KIT-FLAG: _-
SERIALNO: 63764-
? ♦01508-20805 NUT,L.H. THREAD 1
SN: 60001-63763
KIT-FLAG: _-
SERIALNO: 60001-63763
? 04205-10825 PIN 2
SN: 60001-
KIT-FLAG: _-
SERIALNO: 60001-
? 01641-20812 WASHER 2
SN: 60001-
KIT-FLAG: _-
SERIALNO: 60001-
? 04050-12015 PIN,COTTER 2
SN: 60001-
KIT-FLAG: _-
SERIALNO: 60001-
? 103-43-34470 SHAFT 1
SN: 60001-
KIT-FLAG: _-
SERIALNO: 60001-
? 01010-51025 BOLT 2
SN: 60001-
KIT-FLAG: _-
SERIALNO: 60001-
? 01602-21030 WASHER,SPRING 2
SN: 60001-
KIT-FLAG: _-
SERIALNO: 60001-
? 103-43-00530 LEVER ASS'Y 1
SN: 60001-
KIT-FLAG: _-
SERIALNO: 60001-
? • LEVER 1
SN: 60001-
KIT-FLAG: _-
SERIALNO: 60001-
? 203-43-31420 • BUSHING 2
SN: 60001-
KIT-FLAG: _-
SERIALNO: 60001-
? 22W-43-17330 WASHER 1
SN: 60001-
KIT-FLAG: _-
SERIALNO: 60001-
? 01598-00809 NUT 1
SN: 60001-
KIT-FLAG: _-
SERIALNO: 60001-
? 103-43-34510 COVER 1
SN: 60001-
KIT-FLAG: _-
SERIALNO: 60001-
? 01010-51025 BOLT 2
SN: 60001-
KIT-FLAG: _-
SERIALNO: 60001-
? 01643-31032 WASHER 2
SN: 60001-
KIT-FLAG: _-
SERIALNO: 60001-

Bulldozers Komatsu / D21A-6 S/N 60001-UP(d21a-6c) / TRANSMISSION CONTROL LEVER (FOR F3-R3)(120050 : 4203)