| Номер на схеме | Каталожный номер | Название | Количество | Детали | |||
|---|---|---|---|---|---|---|---|
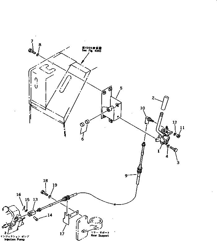
| ? | 103-43-35120 | LEVER ASS'Y | 1 | SN: 60001- KIT-FLAG: _- SERIALNO: 60001- |
|||
| ? | 203-43-44360 | KNOB | 1 | SN: 60001- KIT-FLAG: _- SERIALNO: 60001- |
|||
| ? | 07372-21030 | BOLT | 2 | SN: 60001- KIT-FLAG: _- SERIALNO: 60001- |
|||
| ? | 01602-21030 | WASHER,SPRING | 2 | SN: 60001- KIT-FLAG: _- SERIALNO: 60001- |
|||
| ? | 103-43-00480 | BRACKET ASS'Y | 1 | SN: 60001- KIT-FLAG: _- SERIALNO: 60001- |
|||
| ? | ☆ | • BRACKET | 1 | SN: 60001- KIT-FLAG: _- SERIALNO: 60001- |
|||
| ? | 203-43-31420 | • BUSHING | 2 | SN: 60001- KIT-FLAG: _- SERIALNO: 60001- |
|||
| ? | 01010-51020 | BOLT | 4 | SN: 60001- KIT-FLAG: _- SERIALNO: 60001- |
|||
| ? | 01602-21030 | WASHER,SPRING | 4 | SN: 60001- KIT-FLAG: _- SERIALNO: 60001- |
|||
| ? | 103-43-35270 | CABLE | 1 | SN: 60001- KIT-FLAG: _- SERIALNO: 60001- |
|||
| ? | 103-43-25160 | END,ROD | 1 | SN: 60001- KIT-FLAG: _- SERIALNO: 60001- |
|||
| ? | 01580-10504 | NUT | 1 | SN: 60001- KIT-FLAG: _- SERIALNO: 60001- |
|||
| ? | 01601-20513 | WASHER,SPRING | 1 | SN: 60001- KIT-FLAG: _- SERIALNO: 60001- |
|||
| ? | 04211-20500 | YOKE | 1 | SN: 60001- KIT-FLAG: _- SERIALNO: 60001- |
|||
| ? | 04205-10516 | PIN | 1 | SN: 60001- KIT-FLAG: _- SERIALNO: 60001- |
|||
| ? | 01641-20508 | WASHER | 1 | SN: 60001- KIT-FLAG: _- SERIALNO: 60001- |
|||
| ? | 04050-11208 | PIN,COTTER | 1 | SN: 60001- KIT-FLAG: _- SERIALNO: 60001- |
|||
| ? | 103-43-35180 | BRACKET | 1 | SN: 60001- KIT-FLAG: _- SERIALNO: 60001- |
|||
| ? | 01010-51020 | BOLT | 2 | SN: 60001- KIT-FLAG: _- SERIALNO: 60001- |
|||
| ? | 01602-21030 | WASHER,SPRING | 2 | SN: 60001- KIT-FLAG: _- SERIALNO: 60001- |
