k-part
Номер на схеме Каталожный номер Название Количество Детали
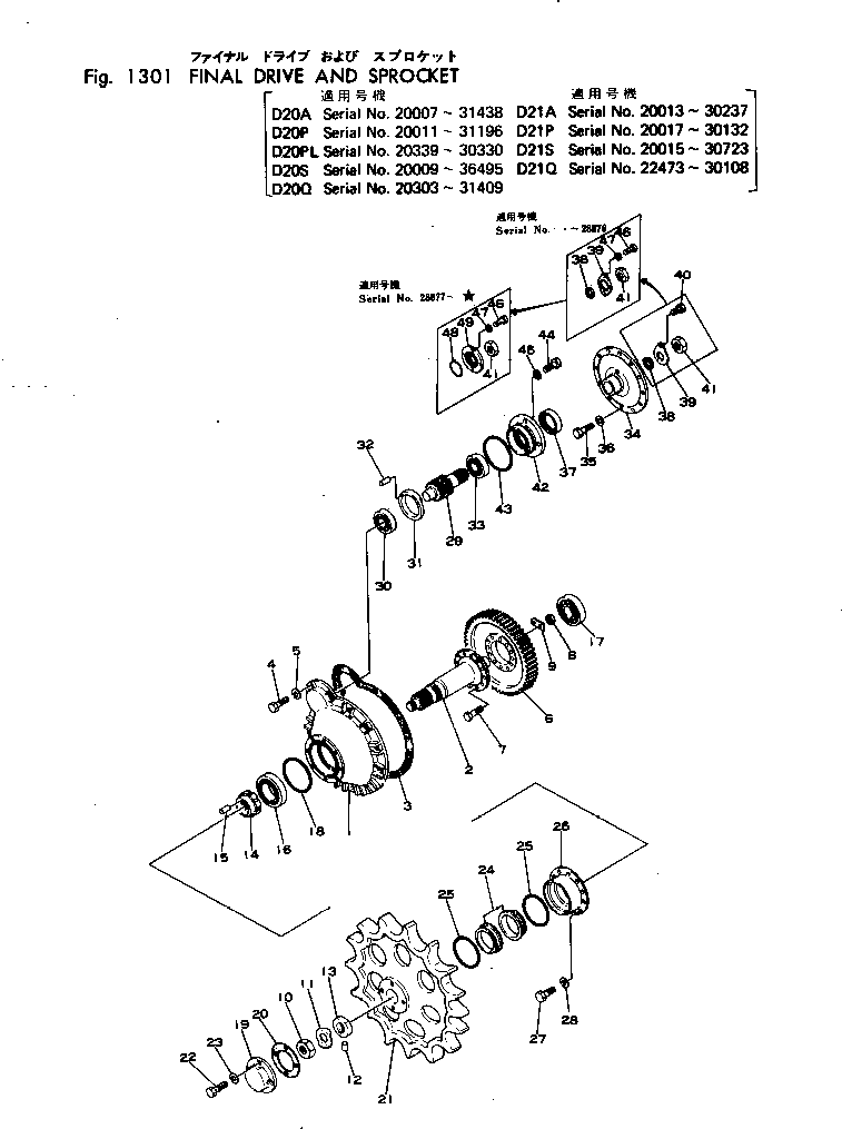
? 101-810-0012 FINAL DRIVE ASS'Y 2
SN: 20011-30132
? 101-810-1130 • CASE,FINAL DRIVE 1
SN: 20011-30132
? 101-810-1120 • SHAFT,SPROCKET 1
SN: 20011-30132
? 101-27-11131 • GASKET (KIT) 1
SN: 20007-30132
? 01010-31230 • BOLT 13
SN: 20007-@
? 01602-01236 • WASHER,SPRING 13
SN: 20007-@
? 101-27-11140 • GEAR ? 54 TEETH,FINAL DRIVE 1
SN: 20007-@
? 100-27-11220 • BOLT,REAMER 12
SN: 20007-@
? 01582-01411 • NUT 12
SN: 20007-@
? 101-28-11351 • LOCK 6
SN: 20007-@
? 101-27-11160 • NUT 1
SN: 20007-30132
? 101-27-11171 • WASHER 1
SN: 20007-30132
? 04020-00514 • PIN,DOWEL 1
SN: 20007-30132
? 101-27-11211 • WASHER 1
SN: 20007-30132
? 101-27-11181 • NUT 1
SN: 20007-30132
? 04020-00514 • PIN,DOWEL 1
SN: 20007-@
? 06030-22214 • BEARING 1
SN: 20007-30132
? 06044-00310 • BEARING 1
SN: 20007-@
? 07000-03145 • O-RING (KIT) 1
SN: 20007-30132
? 101-27-11220 • COVER,SPROCKET SHAFT 1
SN: 20007-30132
? 101-27-11230 • PACKING (KIT) 1
SN: 20007-@
? 101-27-11245 • SPROCKET 1
SN: 20007-30132
? 101-98-00050 • • RIM,(SERVICE PARTS) 1
SN: 20007-30132
? 01010-31025 • BOLT 4
SN: 20007-@
? 01602-01030 • WASHER,SPRING 4
SN: 20007-@
? 101-27-00010 • FLOATING SEAL ASS'Y 1
SN: 20007-@
? • • RING,SEAL 2
SN: 20007-@
? • • O-RING (KIT) 2
SN: 20007-@
? 101-27-11250 • RING 1
SN: 20007-30132
? 01010-31025 • BOLT 8
SN: 20007-@
? 01602-01030 • WASHER,SPRING 8
SN: 20007-@
? 101-27-21120 • PINION,FINAL DRIVE 1
SN: 28877-@
? 101-27-11282 • PINION,FINAL DRIVE 1
SN: 20007-28876
? 06043-00308 • BEARING 1
SN: 20007-@
? 101-27-11291 • RING,LOCK 1
SN: 20007-@
? 04020-00514 • PIN,DOWEL 1
SN: 20007-@
? 06044-00309 • BEARING 1
SN: 20007-@
? 101-27-21130 • FLANGE 1
SN: 28877-@
? 101-27-11410 • FLANGE 1
SN: 20007-28876
? 01010-30822 • BOLT 12
SN: 20007-@
? 01602-00825 • WASHER,SPRING 12
SN: 20007-@
? 07012-11065 • SEAL,OIL (KIT) 1
SN: 20007-@
? 101-27-11440 • GASKET (KIT) 1
SN: 20007-28876
? 101-27-21110 • LOCK 1
SN: .-28876
? ▩101-27-11420 • WASHER 1
SN: 20007-.
? (101-27-21110{01010-31220(2) ?}
? 01602-01236(2))
? 101-27-11460 • BOLT 1
SN: 20007-.
? 101-27-21140 • NUT 1
SN: 28877-@
? 101-27-11430 • NUT 1
SN: 20007-28876
? 101-27-11480 • CAGE 1
SN: 20007-@
? 07000-03110 • O-RING (KIT) 1
SN: 20007-@
? 01010-31030 • BOLT 4
SN: 20007-@
? 01602-01030 • WASHER,SPRING 4
SN: 20007-@
? 01010-31220 • BOLT 4
SN: 28877-@
? 01010-31220 • BOLT 2
SN: .-28876
? 01602-01236 • WASHER,SPRING 4
SN: 28877-@
? 01602-01236 • WASHER,SPRING 2
SN: .-28876
? 07000-02070 • O-RING 1
SN: 28877-@
? 101-27-21150 • LOCK 1
SN: 28877-@

Bulldozers Komatsu / D21P-3 S/N 20007-UP(d21p-3r) / FINAL DRIVE AND SPROCKET(#20017-30132)(090010 : 1301)