k-part
Номер на схеме Каталожный номер Название Количество Детали
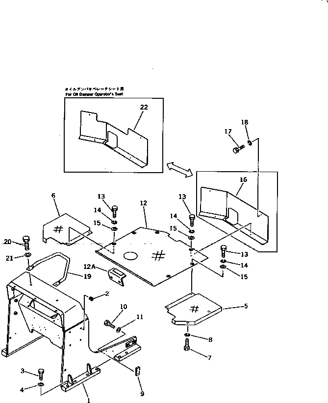
? 10G-54-29111 FRAME,LOADER 1
SN: 63637-
? 10G-54-29110 FRAME,LOADER 1
SN: 60001-63636
? 07049-01418 PLUG 8
SN: 60001-
? 01010-51655 BOLT 12
SN: 60001-
? 01643-31645 WASHER 12
SN: 60001-
? 103-54-33120 FENDER,L.H. 1
SN: 60001-
? 103-54-33130 FENDER,R.H. 1
SN: 60001-
? 01010-51025 BOLT 4
SN: 60001-
? 01602-21030 WASHER,SPRING 4
SN: 60001-
? 103-54-23160 PLATE 2
SN: 60001-
? 01010-51030 BOLT 2
SN: 60001-
? 01643-31032 WASHER 2
SN: 60001-
? 103-54-33110 PLATE,FLOOR 1
SN: 60001-
? 103-54-33210 BRACKET 1
SN: 60949-
? 01010-51025 BOLT 6
SN: 60001-
? 01602-21030 WASHER,SPRING 6
SN: 60001-
? 01643-31032 WASHER 6
SN: 60001-
? 103-54-34130 COVER 1
SN: 60001-
? 01010-51025 BOLT 2
SN: 60001-
? 01602-21030 WASHER,SPRING 2
SN: 60001-
? 104-54-31310 HANDLE 1
SN: 60001-
? 01010-51435 BOLT 2
SN: 60001-
? 01602-21442 WASHER,SPRING 2
SN: 60001-
? 103-54-34210 COVER,(FOR OIL DAMPER SEAT) 1
SN: 60001-

Bulldozers Komatsu / D21P-6 S/N 60001-UP(d21p-6r) / LOADER FRAME AND FLOOR PLATE (FOR PEDAL STEERING) (WITH ROPS CAB)(150050 : 5023)