k-part
Номер на схеме Каталожный номер Название Количество Детали
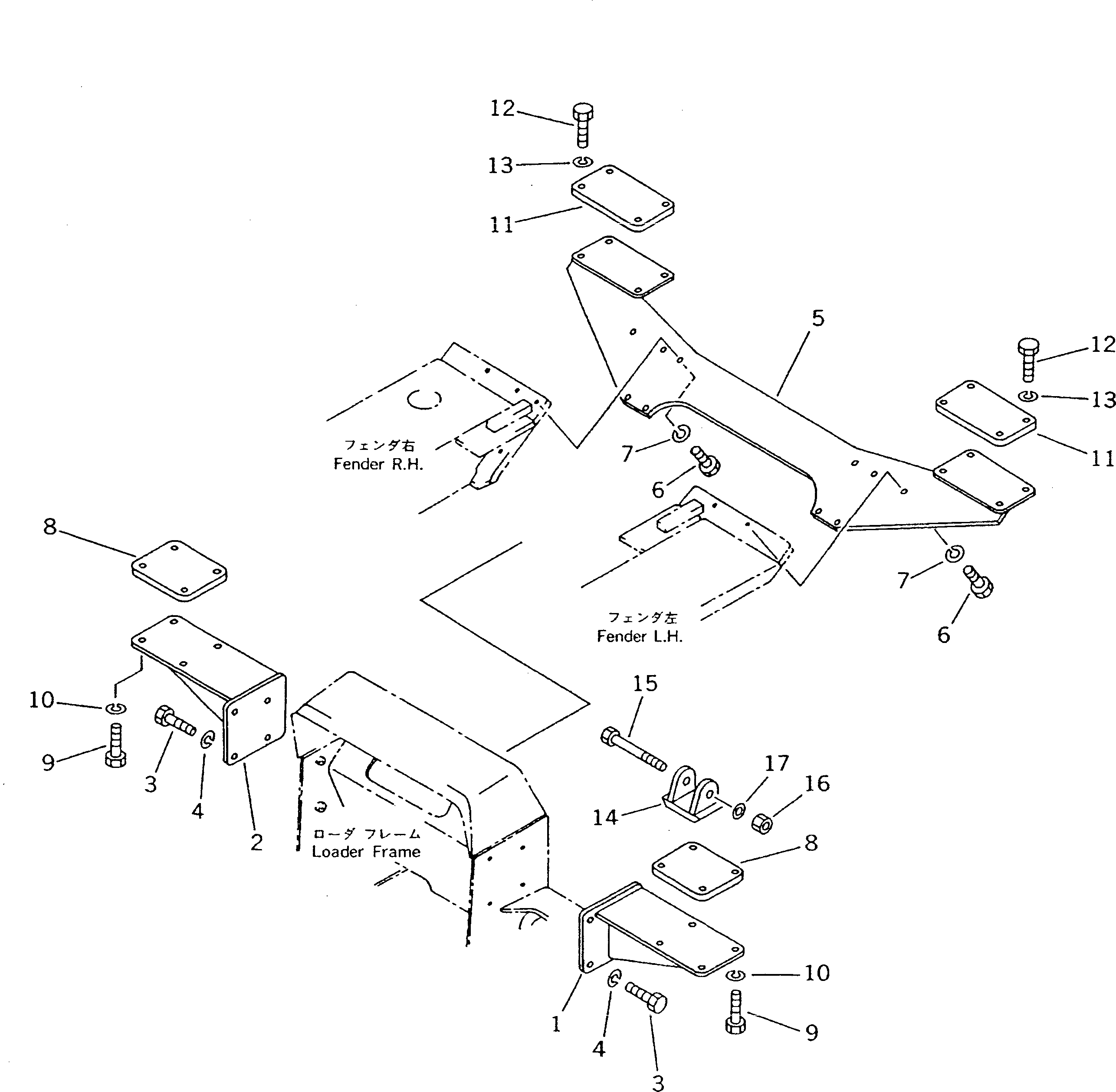
? 104-Y78-2130 BRACKET,L.H. 1
SN: 60001-
? 104-Y78-2140 BRACKET,R.H. 1
SN: 60001-
? 01010-51440 BOLT 8
SN: 60001-
? 01643-31445 WASHER 8
SN: 61552-
? 01602-21442 WASHER,SPRING 8
SN: 60001-61551
? 103-Y78-2210 BRACKET,REAR 1
SN: 60001-
? 01010-51440 BOLT 10
SN: 60001-
? 01643-31445 WASHER 10
SN: 61552-
? 01602-21442 WASHER,SPRING 10
SN: 60001-61551
? 103-Z78-1140 SEAT,FRONT 2
SN: 60001-
? 01010-51440 BOLT 8
SN: 60001-
? 01643-31445 WASHER 8
SN: 61552-
? 01602-21442 WASHER,SPRING 8
SN: 60001-61551
? 103-Z78-1150 SEAT,REAR 2
SN: 60001-
? 01010-51445 BOLT 8
SN: 60001-
? 01643-31445 WASHER 8
SN: 61552-
? 01602-21442 WASHER,SPRING 8
SN: 60001-61551
? 113-Y78-1190 BRACKET,(FOR ROPS CAB) 4
SN: 60001-
? 141-978-2150 BOLT,(FOR ROPS CAB) 4
SN: 60001-
? 175-978-3210 NUT,(FOR ROPS CAB) 4
SN: 60001-
? 01643-32780 WASHER,(FOR ROPS CAB) 4
SN: 60001-

Bulldozers Komatsu / D21P-6 S/N 60001-UP(d21p-6r) / ROPS BRACKET(150220 : 5501)