| Номер на схеме | Каталожный номер | Название | Количество | Детали | |||
|---|---|---|---|---|---|---|---|
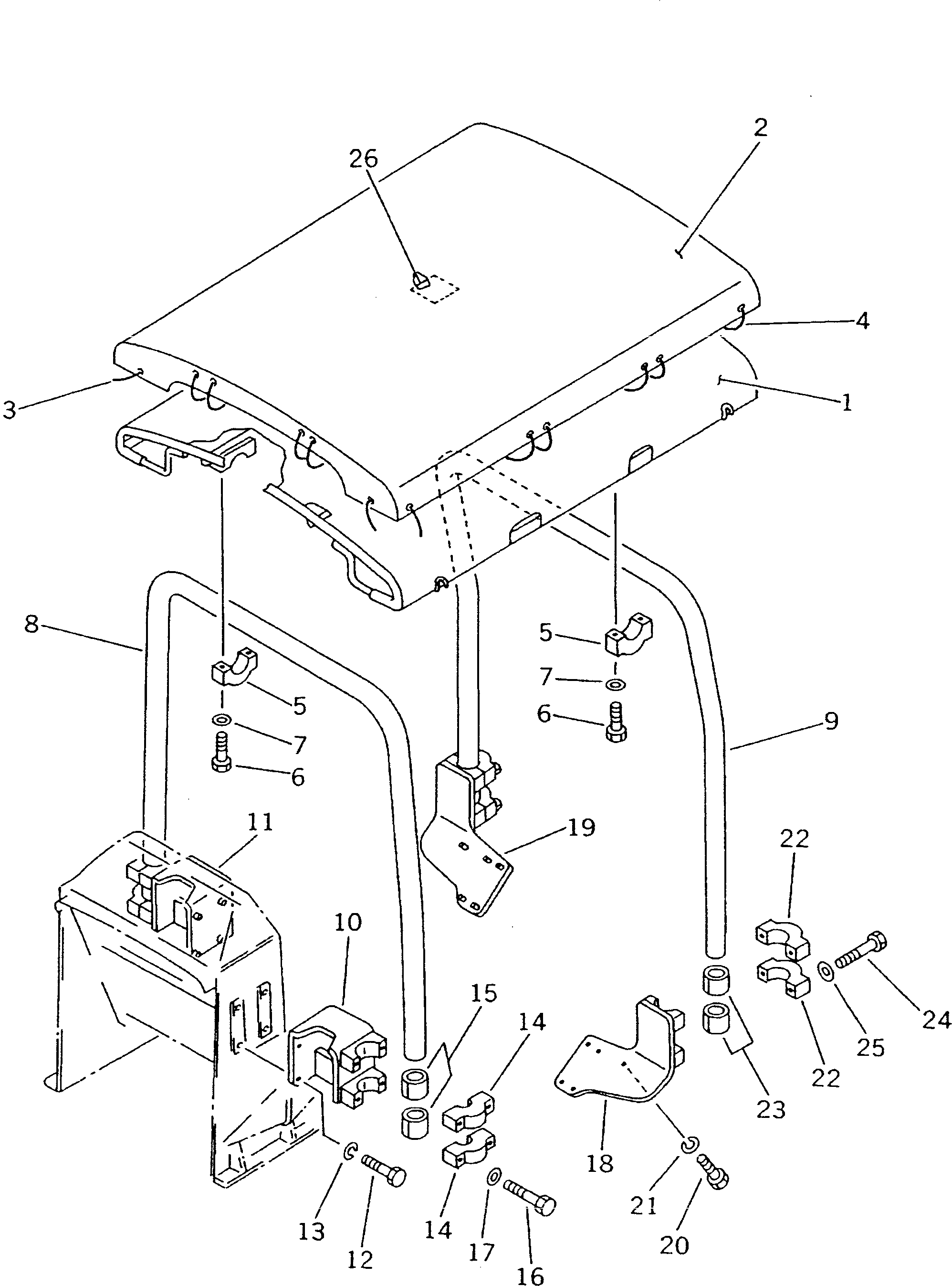
| ? | 113-Z73-1110 | ROOF | 1 | SN: 60001- |
|||
| ? | 101-91-31140 | SHEET,CANVAS | 1 | SN: 60001- |
|||
| ? | 131-906-1220 | ROPE¤ 8.5M | 1 | SN: 60001- |
|||
| ? | 131-906-1230 | ROPE¤ 0.7M | 2 | SN: 60001- |
|||
| ? | 113-Z73-1120 | CAP | 4 | SN: 60001- |
|||
| ? | 01010-51675 | BOLT | 8 | SN: 60001- |
|||
| ? | 01643-31645 | WASHER | 8 | SN: 60001- |
|||
| ? | 104-Z73-1111 | POLE,FRONT | 1 | SN: 60001- |
|||
| ? | 103-Z73-1151 | POLE,REAR | 1 | SN: 60001- |
|||
| ? | 104-Y73-1130 | BRACKET,L.H. | 1 | SN: 60001- |
|||
| ? | 104-Y73-1140 | BRACKET,R.H. | 1 | SN: 60001- |
|||
| ? | 01010-51440 | BOLT | 8 | SN: 60001- |
|||
| ? | 01602-21442 | WASHER,SPRING | 8 | SN: 60001- |
|||
| ? | 104-Z73-1190 | CAP | 4 | SN: 60001- |
|||
| ? | 141-973-1250 | CUSHION | 4 | SN: 60001- |
|||
| ? | 01010-51675 | BOLT | 8 | SN: 60001- |
|||
| ? | 01643-31645 | WASHER | 8 | SN: 60001- |
|||
| ? | 104-Z73-1161 | BRACKET,L.H. | 1 | SN: 60001- |
|||
| ? | 104-Z73-1171 | BRACKET,R.H. | 1 | SN: 60001- |
|||
| ? | 01010-51440 | BOLT | 10 | SN: 60001- |
|||
| ? | 01602-21442 | WASHER,SPRING | 10 | SN: 60001- |
|||
| ? | 104-Z73-1190 | CAP | 4 | SN: 60001- |
|||
| ? | 141-973-1250 | CUSHION | 4 | SN: 60001- |
|||
| ? | 01010-51675 | BOLT | 8 | SN: 60001- |
|||
| ? | 01643-31645 | WASHER | 8 | SN: 60001- |
|||
| ? | 09660-20100 | PLATE¤ SAFETY,HEAD GUARD (JAPANESE) | 1 | SN: 60001- |
|||
| ? | 04412-00308 | RIVET | 4 | SN: 60001- |
