| Номер на схеме | Каталожный номер | Название | Количество | Детали | |||
|---|---|---|---|---|---|---|---|
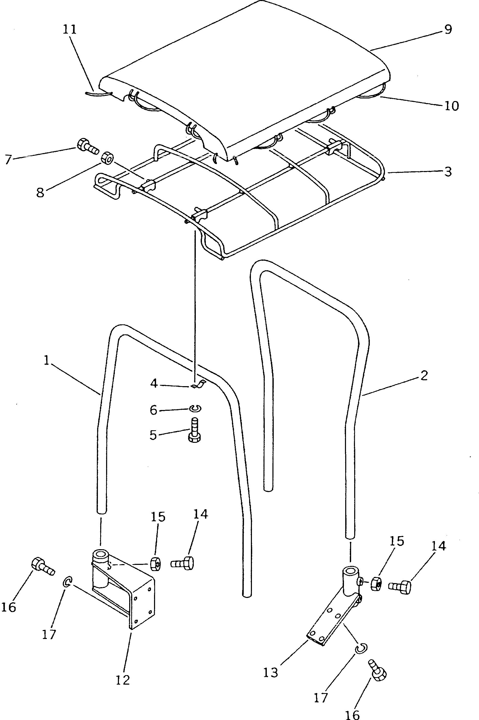
| ? | 104-Y06-0010 | CANOPY ASS'Y | 1 | SN: 60001- |
|||
| ? | 104-Y06-1110 | • POLE,FRONT | 1 | SN: 60001- |
|||
| ? | 103-Z06-1121 | • POLE,REAR | 1 | SN: 60001- |
|||
| ? | 102-91-11191 | • ROOF | 1 | SN: 60001- |
|||
| ? | 101-91-11150 | • CLIP | 4 | SN: 60001- |
|||
| ? | 01010-51225 | • BOLT | 8 | SN: 60001- |
|||
| ? | 01602-21236 | • WASHER,SPRING | 8 | SN: 60001- |
|||
| ? | 01010-51230 | • BOLT | 4 | SN: 60001- |
|||
| ? | 01580-11210 | • NUT | 4 | SN: 60001- |
|||
| ? | 101-91-31140 | • SHEET,CANVAS | 1 | SN: 60001- |
|||
| ? | 131-906-1220 | • ROPE¤ 8.5M | 1 | SN: 60001- |
|||
| ? | 131-906-1230 | • ROPE¤ 0.7M | 2 | SN: 60001- |
|||
| ? | 104-Y06-1130 | BRACKET,L.H. | 1 | SN: 60001- |
|||
| ? | 104-Y06-1140 | BRACKET,R.H. | 1 | SN: 60001- |
|||
| ? | 103-Z06-1151 | BRACKET,REAR | 2 | SN: 60001- |
|||
| ? | 01016-51445 | BOLT | 8 | SN: 60001- |
|||
| ? | 01580-11411 | NUT | 8 | SN: 60001- |
|||
| ? | 01010-51435 | BOLT | 16 | SN: 60001- |
|||
| ? | 01602-21442 | WASHER,SPRING | 16 | SN: 60001- |
