| Номер на схеме | Каталожный номер | Название | Количество | Детали | |||
|---|---|---|---|---|---|---|---|
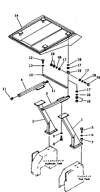
| ? | 113-X06-1530 | POLE,L.H. | 1 | SN: 67010- |
|||
| ? | 113-X06-1520 | POLE,R.H. | 1 | SN: 67010- |
|||
| ? | 113-X06-1550 | SUPPORT,L.H. | 1 | SN: 67010- |
|||
| ? | 113-X06-1540 | SUPPORT,R.H. | 1 | SN: 67010- |
|||
| ? | 01010-51045 | BOLT | 12 | SN: 63879- |
|||
| ? | 01602-21030 | WASHER,SPRING | 12 | SN: 63879- |
|||
| ? | 103-Y06-1140 | BOSS | 12 | SN: 63879- |
|||
| ? | 01010-51020 | BOLT | 8 | SN: 67010- |
|||
| ? | 01643-31032 | WASHER | 8 | SN: 67010- |
|||
| ? | 113-X06-1560 | BAR | 2 | SN: 67010- |
|||
| ? | 113-X06-1570 | BRACKET | 4 | SN: 67010- |
|||
| ? | 01010-51225 | BOLT | 8 | SN: 67010- |
|||
| ? | 01643-31232 | WASHER | 8 | SN: 67010- |
|||
| ? | 113-X06-1510 | ROOF | 1 | SN: 67010- |
|||
| ? | 417-54-18260 | BELT,BAND | 4 | SN: 67010- |
|||
| ? | 01011-51215 | BOLT | 4 | SN: 67010- |
|||
| ? | 417-54-18270 | CUSHION | 16 | SN: 67010- |
|||
| ? | 417-54-18240 | WASHER | 16 | SN: 67010- |
|||
| ? | 01580-11210 | NUT | 16 | SN: 67010- |
