| Номер на схеме | Каталожный номер | Название | Количество | Детали | |||
|---|---|---|---|---|---|---|---|
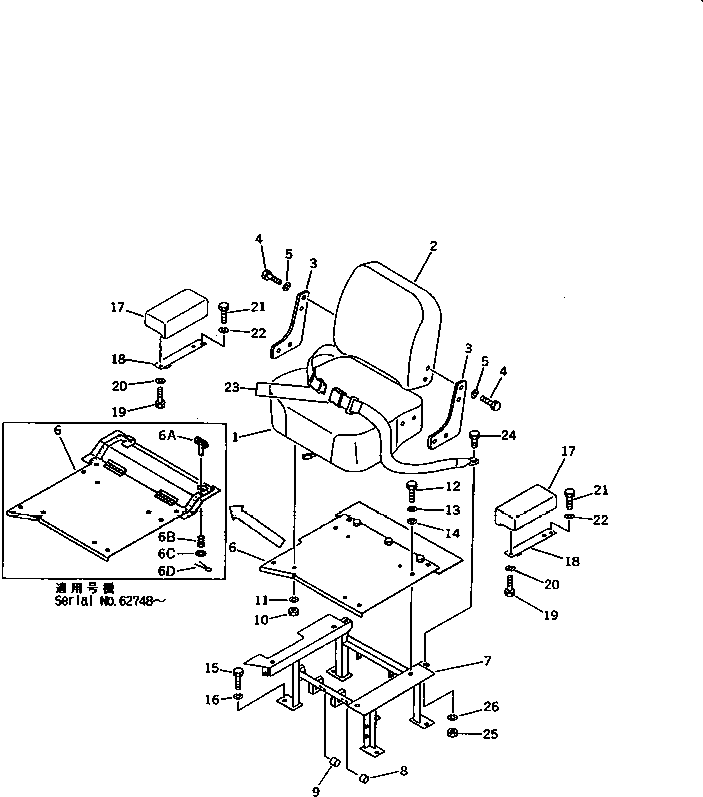
| ? | 103-57-00110 | SEAT ASS'Y | 1 | SN: 60001- |
|||
| ? | 103-57-31310 | • CUSHION,SEAT | 1 | SN: 60001- |
|||
| ? | 103-57-31320 | • CUSHION,BACK | 1 | SN: 60001- |
|||
| ? | 09403-00090 | • PLATE | 2 | SN: 60001- |
|||
| ? | 01010-51020 | • BOLT | 8 | SN: 60001- |
|||
| ? | 01602-21030 | • WASHER,SPRING | 8 | SN: 60001- |
|||
| ? | 103-57-31113 | PLATE | 1 | SN: 65861- |
|||
| ? | 103-57-31112 | PLATE | 1 | SN: 62748-65860 |
|||
| ? | 113-54-24190 | • HINGE (WELDED) | 2 | SN: 62748- |
|||
| ? | 103-57-31111 | PLATE | 1 | SN: 61151-62747 |
|||
| ? | □103-57-39121 | PLATE | 1 | SN: 60598-61150 |
|||
| ? | □103-57-39120 | PLATE | 1 | SN: 60001-60597 |
|||
| ? | 09459-11033 | LOCK | 1 | SN: 62748- |
|||
| ? | 09459-01614 | SPRING | 1 | SN: 62748- |
|||
| ? | 01642-01016 | WASHER | 1 | SN: 62748- |
|||
| ? | 04050-13015 | PIN,COTTER | 1 | SN: 62748- |
|||
| ? | 103-57-00140 | FRAME ASS'Y | 1 | SN: 60001- |
|||
| ? | ☆ | • FRAME | 1 | SN: 60001- |
|||
| ? | 09350-03020 | • BUSHING | 1 | SN: 60001- |
|||
| ? | 09350-02520 | • BUSHING | 2 | SN: 60001- |
|||
| ? | 01580-11210 | NUT | 4 | SN: 60001- |
|||
| ? | 01602-21236 | WASHER,SPRING | 4 | SN: 60001- |
|||
| ? | 01010-51025 | BOLT | 4 | SN: 60001- |
|||
| ? | 01602-21030 | WASHER,SPRING | 4 | SN: 60001- |
|||
| ? | 01643-31032 | WASHER | 4 | SN: 60001- |
|||
| ? | 01010-51435 | BOLT | 4 | SN: 60001- |
|||
| ? | 01602-21442 | WASHER,SPRING | 4 | SN: 60001- |
|||
| ? | 09402-00000 | REST,ARM | 2 | SN: 60001- |
|||
| ? | 103-57-31131 | PLATE | 2 | SN: 65861- |
|||
| ? | 103-57-31130 | PLATE | 2 | SN: 60001-65860 |
|||
| ? | 01010-50825 | BOLT | 4 | SN: 60001- |
|||
| ? | 01602-20825 | WASHER,SPRING | 4 | SN: 60001- |
|||
| ? | 01010-51020 | BOLT | 2 | SN: 60001- |
|||
| ? | 01602-21030 | WASHER,SPRING | 2 | SN: 60001- |
|||
| ? | 09409-10001 | BELT¤ LAP | 1 | SN: 60001- |
|||
| ? | 09409-00001 | • BOLT | 2 | SN: 60001- |
|||
| ? | 09409-00003 | • NUT | 2 | SN: 60001- |
|||
| ? | 09409-00002 | • WASHER,SPRING | 2 | SN: 60001- |
