k-part
Номер на схеме Каталожный номер Название Количество Детали
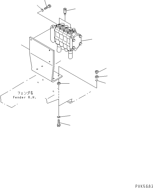
? SERIAL NO. 80199 INDICATES D21A-7. THE OTHER MACHINES ARE AS FOLLOWS.
? D20A-7 = 80089
? D20A-7B = 80060
? D21A-7B = 80143
? (104-60-42400) VALVE ASS'Y,(SEE FIG. Y1680-31A0A) 1
SN: 80199-
? 700-22-11750 PLUG 2
SN: 80199-
? 01010-80825 BOLT 3
SN: 80199-
? 01602-20825 WASHER,SPRING 3
SN: 80199-
? 104-60-42420 BRACKET 1
SN: 80199-
? 01010-80825 BOLT 4
SN: 80199-
? 01602-20825 WASHER,SPRING 4
SN: 80199-
? 104-60-32130 CUSHION 8
SN: 80199-
? 104-60-32140 COLLAR 4
SN: 80199-
? 07000-02015 O-RING 4
SN: 80199-

Bulldozers Komatsu / D20A-7-M S/N 78604-UP(d20a-7-r) / MAIN VALVE (MOUNT) (FOR POWER ANGLE POWER TILT DOZER) (FOR 3-POINT HITCH)(#80199-)(180170 : H0120-01A5A)
?
?
?
?
?
?
?
?
?
?
?