k-part
Номер на схеме Каталожный номер Название Количество Детали
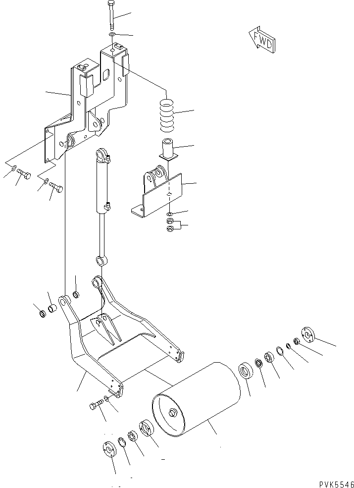
? 101-865-1490 ROLLER 1
SN: 78604-
? 101-865-1510 HOUSING 2
SN: 78604-
? 101-865-1560 SPACER 1
SN: 78604-
? 06000-06207 BEARING 2
SN: 78604-
? 04065-07525 RING 1
SN: 78604-
? 101-865-1550 SPACER 1
SN: 78604-
? 101-865-1540 SPACER 1
SN: 78604-
? 101-865-1520 NUT 1
SN: 78604-
? 101-865-1410 BRACKET 1
SN: 78604-
? 01010-81850 BOLT 4
SN: 78604-
? 01010-81860 BOLT 4
SN: 78604-
? 01643-31845 WASHER 8
SN: 78604-
? 101-865-1420 FRAME 1
SN: 78604-
? 103-70-21150 BUSHING 2
SN: 78604-
? 07145-00040 SEAL 4
SN: 78604-
? 101-865-1530 PLATE 2
SN: 78604-
? 01010-81060 BOLT 8
SN: 78604-
? 01602-21030 WASHER 8
SN: 78604-
? 101-865-1430 BRACKET 1
SN: 78604-
? 101-865-1450 HOLDER 2
SN: 78604-
? 101-865-1440 SPRING 2
SN: 78604-
? 101-865-1460 BOLT 2
SN: 78604-
? 01643-33080 WASHER 4
SN: 78604-
? 01580-13024 NUT 4
SN: 78604-

Bulldozers Komatsu / D20A-7-M S/N 78604-UP(d20a-7-r) / REAR GUIDE ROLLER (ROBAN SEISEI SPEC.)(330280 : T2400-01A0)
?
?
?
?
?
?
?
?
?
?
?
?
?
?
?
?
?
?
?
?
?
?
?
?
?
?
?
?
?
?