k-part
Номер на схеме Каталожный номер Название Количество Детали
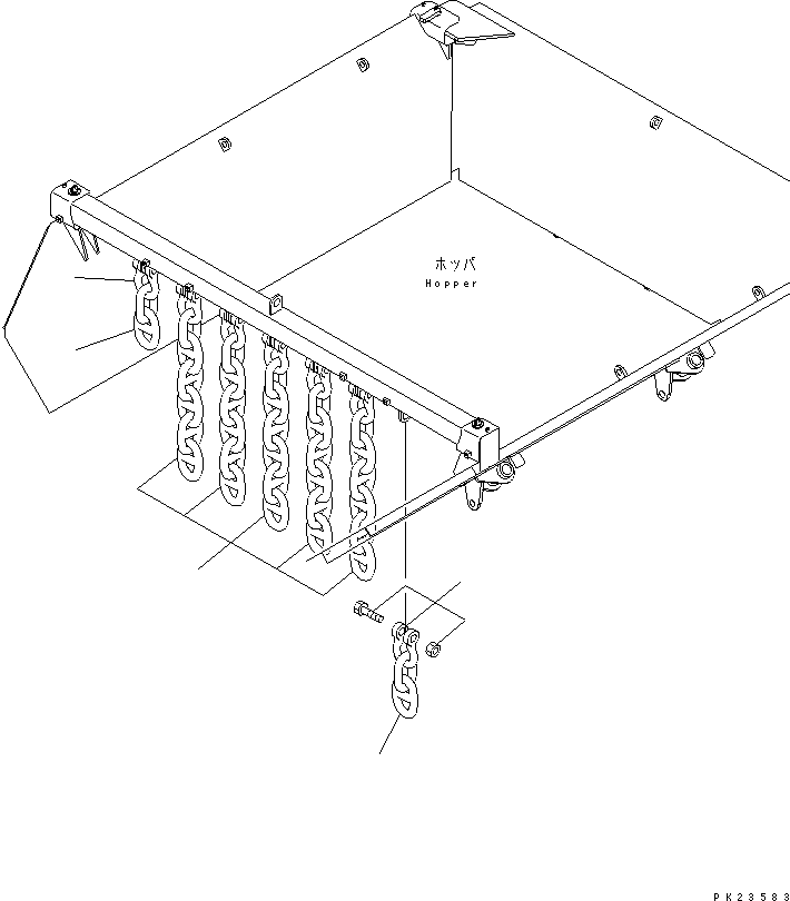
? 8232-70-1270 SHACKLE 7
SN: 1002-
? 8232-70-1280 CHAIN 5
SN: 1002-
? 8232-70-1290 CHAIN 2
SN: 1002-

Mobile crushers and recyclers Komatsu / BR200R-1 S/N 1002-UP(br200r-r) / HOPPER CHAIN(180100 : 7211)
?
?
?
?
?